STERLING 6707401 Valton Two-Piece Elongated 1.6 Gpf Toilet Installation Guide
Tools

Record your model number.
WARNING: Risk of property or product damage.
Do not use in-tank cleaners. Products containing chlorine (calcium hypochlorite) can damage fittings in the tank. This can cause leakage and property damage.
Installation Instructions
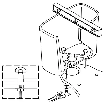
- Install T-bolts and a new wax ring.

- Apply weight evenly. Do not move after placement!Watertight seal may be broken!

- Install the washers and nuts as shown. Do not overtighten!

- If needed, cut the T-bolts before installing the caps.

- Mount the tank. Adjust bolt tightness to achieve level. Do not overtighten!

- Flexible Supply: Connect the hose. Do not overtighten!

Rigid Supply: Use the provided rubber washer and coupling nut. Do not overtighten!
Do not use a cone supply. - Turn on the water supply. Check for leaks.

- If needed, adjust the tank water level.

- Thread the push button rods into the button housing.

- Install the tank lid.Test the length of the push button rods.

- Adjust the rod length if needed.
Tighten the rod nuts.
- Install the seat and tank lid.

NOTE: If the seat will not stand up, adjust the tank bolts or seat position.

Seat Adjustment: Loosen the bolts.
Shift the seat forward, then retighten.

Troubleshooting: Visit
sterlingplumbing.com/toiletservice.

Need help? Contact the Customer Care Center.
USA/Canada: 1-800-STERLING (1-800-783-7546), Mexico:
001-877-680-1310
For service parts information, visit sterlingplumbing.com/parts.
For care and cleaning, visit sterlingplumbing.com/ care-and-cleaning.
Patents: kohlercompany.com/patents
Warranty
This product is covered under the STERLING® Toilet Limited Warranty found at sterlingplumbing.com/warranty.
For a hardcopy of warranty terms, contact the Customer Care Center.
USA/Canada: 1-800-STERLING (1-800-783-7546)
Mexico: 001-877-680-1310
www.SterlingPlumbing.com

References
Kohler Co. Portfolio | Innovation and Design | Patents | Kohler | Kohler
Sterling Plumbing | Bathroom and Kitchen products, Shower Doors, Baths, Showers, Toilets, Bathroom Sinks, Kitchen Sinks
Care and Cleaning | Kitchen | Bathroom | Sterling Plumbing
Parts | Sterling Plumbing
sterlingplumbing.com/toiletservice
Warranty Information|Sterling Plumbing
Sterling Plumbing | Bathroom and Kitchen products, Shower Doors, Baths, Showers, Toilets, Bathroom Sinks, Kitchen Sinks
Parts | Sterling Plumbing
SterlingPlumbing.com/toiletservice







Do not use a cone supply.


















