AFTERSHOKZ Sportz Titanium with Mic

Register your product
We’ve got your back against damages. Register your Spartz Titanium at bit.ly/RegisterSportzTitanium.
Power Button Fig (A)

Function/Action
- Power on
- Press and hold the power button for 2 seconds
- Power off
- Press and hold the power button for 2 seconds
Play/Pause Button Fig (B)
Function/Action
- Play/Pause One click
- Skip to the next song Double-click while the music is playing
- Answer/end call One click

Volume Buttons (C)
Function/Action
- Function Action
- Adjust volume One click
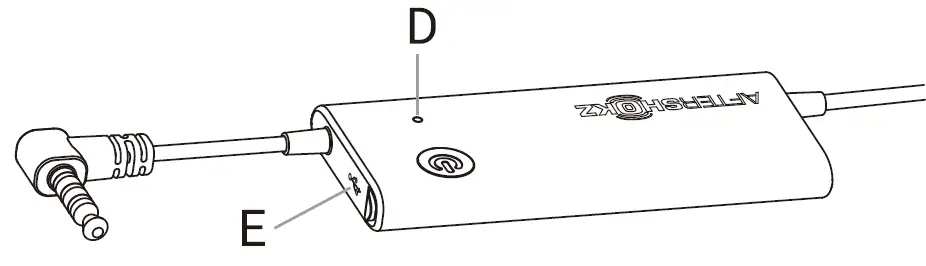
LED Indicator
Function/Action Fig (D)
- Solid red Charging
- Solid blue Charging complete
- Flashing red every 4 seconds Low battery

USB Charging Port
Fig (E)
Charge the headphones with the included micro-USB charging cable. The LED indicator will turn blue when charging is complete.
Specifications
- Part number AS457
- Speaker type Bone conduction transducer
- Frequency response 20Hz·20KHz
- Sensitivity 107 ±3dB
- Microphone -49dB ± 3dB
- Continuous play 12 hours
- Standby time 60 days
- Charge time 2 hours
- Weight 1.48 oz (42g)
- Warranty 2 years
Contact




















