461825 Above Fireplace Pull Down TV Mount
Instruction Manual
INTRODUCTION
Mount your television conveniently above your fireplace using this Pull-Down Above Fireplace Mount.
The mount keeps the TV safely up and out of the way when not in use, and allows to pull it down to eye-level for comfortable viewing.
| Model | 461825/461276 |
| Display size | 40”-70” / 80″ |
| Minimum display weight | 16.5 lbs |
| Maximum display weight | 77 lbs |
| Minimum VESA size | 200 x 200mm |
| Maximum VESA size | 600 x 400mm |
| Swivel range | +/- 45° |
| Tilt range | +5°/-15° |
| Rotation range | +/- 5° |
IMPORTANT SAFETY INSTRUCTOINS
Please read through these instructions completely to be sure you’re comfortable with this installation process. Also check your TV owner’s manual to see if there are any special requirements for mounting your TV.
If you do not understand these instructions or have doubts about the safety of the installation, or the assembly or use of this product, contact you Manhattan customer service at manhattanproducts.us.
CAUTION: Avoid potential personal injuries and property damage!
- This product is designed for use in wood stud, solid concrete, and concrete block walls – DO NOT ever install into drywall alone, even if you use a drywall anchor.
- Make sure that mounting screws are anchored into the center of the stud. Use a stud finder to locate the edge of the wood stud, then draw stud center line in the middle point of the edges.
- The wall must be capable of supporting five times the weight of the TV and mount combined.
- Do not use this product for any purpose not explicitly specified by manufacturer.
- Manufacturer is not responsible for damage or injury caused by incorrect assembly or use.
- The temperature at the front of the fireplace mantle must never exceed 113 ℉
TOOLS NEEDED FOR ASSEMBLY

PARTS INCLUDED
WARNING: This product contains small items that could be a choking hazard if swallowed. Before starting assembly, verify all parts are included and undamaged. If any parts are missing or damaged, please contact Manhattan (manhattanproducts.us). Never use damaged parts!
NOTE: Not all hardware included will be used.
Parts for assembly

Hardware

ASSEMBLY
STEP 1: Assemble Your Wall Plate
Assemble Wall plate 03 onto Wall plate 02 as illustrated. Secure using four screws 10 in the holes shown (Use 6mm hex key 16) ( fig 1.1 )

STEP 2.1: Attach Wall Plate to Wall (Wood Stud Option)
CAUTION: Avoid potential personal injuries and property damage!
- Drywall covering the wall must not exceed 5/8 in.
- Minimum wood stud size: 2 x 4 in. or 1.5 x 3.5 in.
- Horizontal space between fasteners: 16 in.
- Locate your stud. Verify and mark the center of the stud by finding the stud edges using a pencil and an edge-to-edge stud finder. ( fig 2.1 2.2 )

- Drill pilot holes using a 7/32 in. diameter drill bit. (fig 2.3)
- Install wall plate assembly using four lag bolts 27 and Washer 28. Tighten the lag bolts 27 only until they are pulled firmly against the wall plate assembly. Do not over tighten!
Over tightening can damage the screw, reducing it’s holding power.
CAUTION: Avoid potential personal injury or property damage! All lag bolts MUST BE firmly tightened to prevent unwanted movement of the wall plate assembly. Ensure the wall plate is securely fastened to the wall before continuing on to the next step 3.
IMPORTANT: Be sure to drill into the center of the stud.
IMPORTANT: Pilot holes must be drilled to a depth of 75 mm. (3 in ).
STEP 2.2: Attach Wall Plate to Wall (Solid Concrete or Concrete Block Option)
CAUTION: Avoid potential personal injuries and property damage!
- Mount the wall plate assembly directly onto the concrete surface
- Minimum solid concrete thickness: 140 mm. (8 in)
- Minimum concrete block size: 203 x 203 x 406 mm. (8 x 8 x 16 in)
- Position the wall plate template on the wall at your desired height. Level the wall plate and mark the hole locations. (fig 3.1)
- Drill four pilot holes using a 3/8 in. diameter masonry drill bit. (fig 3.2)
IMPORTANT: Pilot holes must be drilled to a depth of 3 in. Never drill into the mortar between blocks.
- Insert four anchors 29. Be sure the anchors 29 are seated flush with the concrete surface.(fig 3.3)
- Install the wall plate assembly using 4 lag bolts 27 and four washers 28. Tighten the lag bolts 27 only until they are pulled firmly against the wall plate assembly, but do not over tighten.
Over tightening can damage the screw, reducing it’s holding power. (fig 3.4)
STEP 3: Attach TV Bracket to TV
- Select TV Screw Diameter
Hand thread screws into the threaded inserts on the back of your TV to determine whichscrew diameter ( M5, M6 or M8 ) to use.
- Select TV Screw Length
If your TV has a flat back AND you want your TV closer to the wall, use the shorter screws.
Spacers and longer screws are supplied to accommodate:
● Round/irregular back TVs
● TVs with inset mounting holes
● Extra space needed for cables
CAUTION:
Verify adequate thread engagement with your screw/washer/spacer combination AND TV bracket
Too short will not hold the TV.
Too long will damage the TV.
- Attach the bracket 05 to the back of the TV using the appropriate screws/washers (Flat Back) or spacer/screw/washer (Round Back / Extra Space). (fig 4.1)
IMPORTANT: Ensure the TV bracket is securely fastened before moving on to the next step. - Place a towel or blanket on a flat surface, then place your television face down on it. Using the two screws 10, attach the connecting rod 06 to the bracket 05. Then, using the four screws 10, attach the handle 07 to the connecting rod 06. (By 5mm hex key 15)(fig 4.2)

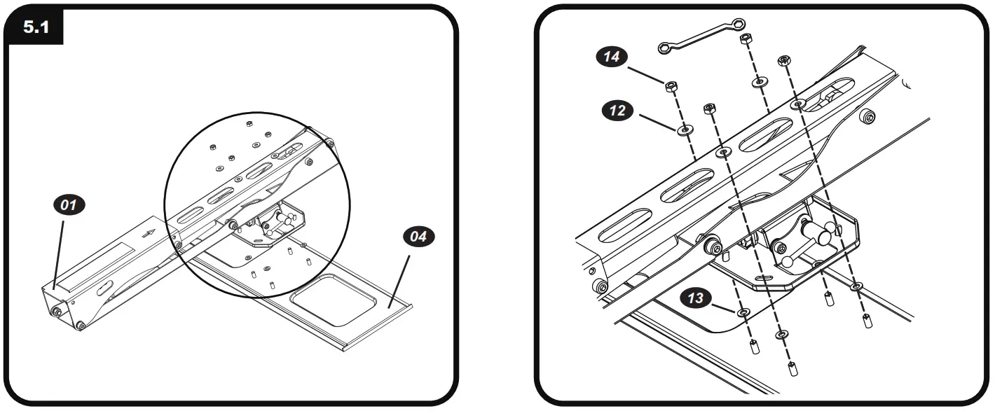
STEP 4: Assemble Your Bracket Part A
Assemble front panel 04 onto TV bracket 01 as illustrated. (fig 5.1)
Secure using four plastic washer 13, four steel washer 12 and four nut 14 in the corner holes shown.

STEP 5: Attach Bracket Part A to Wall Plate
- Hang the Bracket part A onto the wall plate assembly by four screw 09. (Use 6mm hex key 16) (fig 6.1)
- Attach the wall plate cover 08 to the wall board.(fig 6.2)
HEAVY! You may need assistance with this step.

STEP 6: Hang TV onto Bracket Part A
Two people lift the TV and hang the bracket 05 on the front panel 04. Then use a Philips screwdriver to tighten the two locking screws, which secures the bracket to the front panel (fig 7.1)
HEAVY! You may need assistance with this step.

TV ADJUSTMENTS
Adjust the spring pressure to balance the weight of the display so that it can be easily moved and will maintain its position using either a ratchet wrench or the hex key 17 provided (fig 8.1).
Tilt adjustment:
Loosen the tilt lock knob on side and adjust the TV to desired view angle. Then tighten the knob.
Horizontal level adjustment:
Slightly loosen the four nuts counterclockwise. Hold the TV and gently turn it to the desired position. When level, re-tighten the nuts to lock in the position (fig 8.2).


For additional benefits:
Scan to register your product warranty or go to: register.manhattanproducts.com/r/461825
https://register.manhattanproducts.com/r/461825
461825/461276
























