CANVAC QAir CIV5210S Infrared Heater

Before using this product, please read the user manual carefully. Save the user manual for future reference.
Thank you
for your trust and the purchase of our product. This quick start quide is supplied to help you get started using this product.
Make sure you have received an undamaged product. If you do find transport damage, please contact the seller from which you purchased the product, or the regional warehouse from which it was supplied.
WARRANTY
Guarantee of quality for the consumer (does not include wear parts).
Important Safety Instructions
ASSEMBLY AND OPERATING INSTRUCTIONS
Please read carefully and save these instructions.
Warning
THESE INSTRUCTIONS SHOULD BE READ CAREFULLY AND RETAINED FOR FUTURE REFERENCE
We cannot be held liable for any damage or injury caused by failure to observe these instructions.
CAUTION: FOR OUTDOOR USE ONLY
IMPORTANT SAFETY INSTRUCTIONS
READ CAREFULLY – The infrared heater is designed for safe operation.
Nevertheless, installation, maintenance and operation of the heater can be dangerous. Observing the following procedures will reduce the risk of fire, electric shock, injury to persons and keep installation time to a minimum.
Save these instructions for future use.
- Read all instructions before using this heater.
- Remove the unit from its packaging and check to make sure it is in good condition before use.
- Do not let children play with parts of the packaging (such as plastic bags).
- Check the household voltage to ensure it matches the heater’s rated specification.
- Check the power cord and plug carefully before use, to make sure they are not damaged.
- Before unplugging the power cord, be sure to turn off the power.
Before turning on the heater, make sure your hands are dry to avoid the risk of electric shock. - This heater is hot when in use. To avoid burns, do not let bare skin touch hot surfaces. If provided, use handles when moving this heater. Keep combustible materials such as furniture, pillows, bedding, papers, clothes, and curtains at least 3 feet (0.9 m) from the front of the heater and keep them away from the sides and rear.
- Extreme caution is necessary when any heater is used by or near children or people with disabilities and whenever the heater is left operating and unattended.
- Do not use near or in the immediate vicinity of a bath or swimming pool or any source of liquid.
- To protect against electric shock, do not immerse cord or plug in water or any other liquid.
- Do not insert or allow foreign objects to enter any ventilation or exhaust opening, as this may cause an electric shock, fire or damage to the heater.
- Always unplug the heater when not in use.
- Connect to properly grounded outlets only.
- Always plug heaters directly into a wall outlet/receptacle. Never use with an extension cord or relocatable power tap (outlet/power strip).
- Do not allow cord to overhang the counter top where it can be easily pulled by children.
- Do not put fingers or foreign objects into the grille while in operation.
- Do not leave the appliance unattended when in use.
- This heater is not intended for use in bathrooms, laundry rooms and similar indoor locations, never place the heater where it may fall into a bathtub or other water container.
- No liability can be accepted for any damage caused by failure to comply with these instructions or any other improper use or mishandling.
- This appliance is not intended for use by persons (including children) with reduced physical, sensory or mental capabilities or lack of experience and knowledge unless they have been given supervision or instruction concerning the use of the appliance by a person responsible for their safety. Children and vulnerable people should be supervised to ensure they do not play with the appliance.
- Use this heater only as described in this manual. Any other use not recommended by the manufacturer may cause fire, electric shock, or injury to persons.
- Do not operate any heater with a damaged power cord or plug, or if the heater has malfunctioned, been dropped or damaged in any manner. Unplug the heater from the power outlet and have the heater inspected by a reputable electrician before reusing. If the power cord is damaged in any way, it must be replaced by the manufacturer, the manufacturer’s service agent or a similarly qualified person in order to avoid a hazard.
- Do not run the power cord under carpeting. Do not cover the power cord with throw rugs, runners, or similar coverings. Do not route the power cord under furniture or appliances. Keep the power cord away from corridors or walkways so that it will not be tripped over.
- To disconnect heater, turn controls to off, then remove plug from outlet.
- To prevent overheating of this appliance, keep the air inlets and outlets clean and free from anything that may cause blockage. Check all inlets and outlets from time to time to ensure they remain free of any dirt or dust accumulation. DO NOT COVER.
- The internal parts of the heater get very hot and may produce electrical arcs. Do not use it in areas where gasoline, paint, or flammable liquids are used or stored.
- Parts of the heater may exceed 200°; contact with the heating element, reflector, or metal parts near the heating element, may cause severe BURNS. To avoid burns, do not let bare skin touch hot surface.
- NEVER place hands under the heating elements. ALWAYS allow heating element to cool for at least 10 minutes before touching the heating element or adjacent parts.
- This product contains recyclable materials. Do not dispose of this product as unsorted municipal waste. Please contact your local municipality for the nearest collection point.
Introduction
The SUNDEAR TORNADO carbon infrared heaters produce instant and comfortable heat like the sun. These robust and weatherproof heaters are designed for domestic and commercial heating applications in outdoor areas.
| Model | CIV5210S |
| Voltage (V) | 220–240 V AC |
| Wattage (W) | 2000 W |
| Hertz (Hz) | 50–60 Hz |
| Waterproof | IP44 |
INSTALLATION

- This heater should be installed by a competent person, i.e. a qualified electrician.
- Always disconnect the heater from the electricity supply and allow it to cool before installation.
- Keep the power cord away from the body of the heater, which will get hot during use.
- If the heater is to be used outside, a weatherproof outlet is recommended.
- Fasten the heater securely to the base plate using the screws supplied.
WARNING – to reduce the risk of fire – 01

Caution: Do not cover the heater with objects such as clothes.
Caution: Do NOT place the heater near a bed.

Caution: Keep furniture,papers, clothes etc. away from the sides and rear of the heater.
Caution: Keep combustible materials, such as furniture, pillows and curtains at least 3 feet (0.9 m) from the front of the heater and keep away from the sides and rear.

Caution: Hot surface, do NOT touch.
Caution: Do NOT use with an extension cord or branch outlet.
OPERATING
Power button operation:

Press the power button; the product enters standby mode and the display shows (- -); adjust the heating level (L1-L2-Standby) by repeatedly pressing the power button.
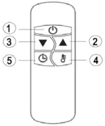
Remote control operation

- POWER BUTTON: Turns the heater on or switches to standby mode.
- UP BUTTON: Increase timer or heating level.
- DOWN BUTTON: Decrease timer or heating level.
- LEVEL BUTTON: Use to adjust the heat levels (L1–L2). Press the Level button then use the up and down buttons (buttons 2 and 3) to increase or decrease the heating level.
- TIMER BUTTON: To set the timer between 0H and 24H, which is the number of hours the heater will run. 0H will be displayed and you can then adjust to the number of hours you would like to set, using the up and down buttons (2 and 3).
Note: All heaters and their remote controls have the same frequency, so it is possible to control several heaters with just one remote.
Inserting batteries (not included)
Insert 2 AAA alkaline batteries into your remote control.
Remove the battery cover from the rear of the remote control. Insert the batteries in accordance with the instructions, making sure the battery polarity is correct.
Replace the batteries in the same way described above when necessary.
NOTE:
- Replace the old batteries with the same type of batteries. Otherwise, your heater may not function well.
- Remove the batteries if the heater will not be used for an extended period, to prevent leakage which may impair your remote control.
- Do not allow water or liquid to get into the remote control.
The information may be subject to changes. Inadvertent errors in information may occur.
Canvac’s guarantee of quality for the consumer (does not include wear parts). Read more at www.canvac.se/garantier.
Elon Group
Canvac products are distributed and marketed by Elon Group AB.
Elon Group AB Bäcklundavägen 1 | 702 03 Örebro Sweden
Elon Group | +46(0)10-220 40 00 | elongroup.se
Support and service: canvac.se


















