OPERATION MANUAL
FOR
WC67Y-33/1600 HYDRAULIC PRESS BRAKE
Usages and suitable scope for the machine
This machine tool is used to bend the metal plates, It has the high efficiency and bending precisions. When bending the different thickness of materials, You should select the different V-shapes to bend every kinds of working pieces.
The machine has a welding construction. It has enough strength and good rigidity. Hydraulic transmission can avoid the over load accidents which bending the different thickness or the wrong selections of V-shapes. Also, the machine has the characteristics of stability and handle convenience .It has the actions of point, single and continuous strokes, and can keep the pressure. Also install the compensating construction to ensure the higher bending precisions.
The users can order the different kinds of dies and thus can bend different kinds of shapes of working piece. If it equines the corresponding equipments, The machine can work as a puncher.
The machine is widely used in the fields of aero plane, automobile, trains, shipyard, switch plant, communicating equipment lifting equipment, electrical, meter and other light industries fields, and it has the high efficiency.
Main technical data for the machine
| Name | Value | Unit | |
| Nominal Force | 330 | KN | |
| Length of worktable | 1600 | mm | |
| Main motor | Model | Y112M-4 | |
| Power | 4 | KW | |
| Axial-piston pump | Model | 10MCY14-1B | |
| Pressure | 32. | MPa | |
| Amount of flow | 10 | L/min | |
| Dimension | Length | 1670 | mm |
| Width | 1400 | mm | |
| Height | 2300 | mm | |
| N. weight | 1800 | kg | |
Main construction and machine principles
- Main construction
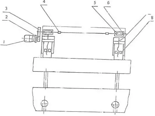
Most of machine parts are plate-welded parts, they has the high strength, good rigidity, light weight, And transmitted by hydraulic. It mainly consists of machine body, ram, adjusting construction of the mechanical stopper, synchrony-twist shaft, frontsupport or dies, electrical, etc.

- Ram and worktable
The ram and worktable are welded by steel plates.
The ram connect to the columns by guides which on the both sides of the ram. There install the stroke control switch on the right side to adjust the stop position of the upper starting point. On both sides connect to piston bars of the oil cylinder and the synchrony-twist shaft. Thus the pressure from the cylinder can transmitted the ram directly and can ensure the synchronism of the movements of the cylinders. - Adjusting construction for mechanical stopper.
To improve the working precision, we equip the mechanical stopper in both oil cylinders to ensure the lower dead point of the ram and repeat stationing precision.
Principles as following(Referring to the drawings)
The motor 1 drives the small chain wheel 2 and big wheel 3,the big wheel 3 drive the synchronism transmission shaft 4 to remove the worn poles pair 5,6 which on the two oil cylinder, the worm wheel 6 brings the adjusting screw guide 7 to whirl, so the mechanical stoppers in the oil cylinders will goes down and up, and the stationing positions of the mechanical stoppers may control the length of the piston poles, so you can get the arms of controlling the positions of ram dead points and the repeat stationing precision can be issued.
Attention: To adjust the positions of ram lower dead points. you must stop the ram at the upper starting point, otherwise, you may damage the machine. - Dies
The upper die divides into several pieces, the lower die is a whole set, when selecting suitable V-shape slots, you can turn over the lower dies by hanging the rings and you can get the satisfy V-shape slots.
Hydraulic system
The machine adopts the hydraulic system, The principles as following:
The motor moves at the direction of the Marks on the pump. That’s to say moving at clockwise direction, To drive the Axial-piston pump moves the oil back to oil tank by valve 6 and valve 8.
When valve 8 (YV1) working, the oil goes to the upper space of oil cylinder, the oil in the lower space of oil cylinder return back to oil tank by YV1,the ram goes down and stops at any positions. The pressure of oil is adjusted by valve 6, the max pressure is 25MPa.
When YV2、YV3 electro-magnetic working, the ram return. The oil in the upper space of oil cylinder return back to oil tank through valve 10. The upper spaces of the cylinder are filled from oil tank.
Principle drawings for hydraulic (see drawing No.1a)
Chart for action specification (see chart No.1)
List for hydraulic elements (see chart No.2)
No.1 chart for action specification.
| Name Point | Ram down | Return |
| YV1 | + | – |
| YV2 | – | + |
| YV3 | – | + |
[Remark]
- The hydraulic oil must be clean. After a longer time of using.
If the oil is not clean. You must change the oil, and washing the filler, oil tank etc. - Filling the 46 hydraulic oil to oil tank to mark center, Then you could operate the motor.
- After a month of operating, you should change the oil, Also you must change the oil once time every half a year.
No.2 List for hydraulic elements
| No. | Name | Model | Specification | Qua |
| I | Oil tank | 1 | ||
| 2 | Filter | WU100X100 | 1 | |
| 3 | Motor | Y112M-4 | 4KW | 1 |
| 4 | Axial-piston pump | 10MCY14-1B | 1 | |
| 5 | One-way Valve | AJ-Ilb-lObB | 10L/min | 1 |
| 6 | Precursor Valve | Y2-H1OB | 10L/min | 1 |
| 7 | Electric-Magnetic reversing Valve YV3 | 24E13-1ICB-T | 1 | |
| 8 | Electric-Magnetic reversing Valve YV1,YV2 | 34EM-H10B-T | 10L/min | 1 |
| 9 | Oil cylinder | 2 | ||
| 10 | Hydraulic control one-way valve | A1Y-H2OL | 1 |
Electrical system
- Brief introduction.
We adopts main power source 380V,50HZ,3P for machine operating.
Protection:
(1) Main circuit and motor have the auto-switch and overload protection.
(2) For control circuit, we use fuse as the short circuit protection.
(3) Main element are connected to earth. - Working modes for the machine.
The machine has three working modes, And selected by exchange switch 1SA.
(1) Point action
Putting the switch 1SA to point action(“0”),Depressing the pedal switch “down” (2SA),the ram goes down slowly, Depressing the pedal switch “UP”, the ram goes up.
(2) Single action.
Changing the switch 1SA to “single action” position(“1”),
Depressing the pedal switch “down” and not release, the ram goes down quickly, And hits the limited switch SQ2 , the ram goes down slowly to the lower dead point. After the time of pressure-keeping, releasing the pedal switch, the machine unload pressure automatically, the ram goes up to its top dead point and stopped. So the whole” single action” is finished.
(3) Continuous action.
Changing the switch to “continuous” position (“3”),Depressing pedal switch “down”, the ram goes down, just like “single action”, the ram goes up to dead point and not stop and goes down automatically for the 2nd bending cycles, If you stop the machine,
you only depressing the pedal switch “up”(2SA),the ram goes up and to the top dead point and stop. - Adjustment and operation for the machine.
(1) Cutting off the power source switch QF1, open the electrical box and connecting all the auto-switches. Then closing the box, connecting the main power source. The control power connected, Indicator HL1 lighting. Now the machine tool power source are connected.
(2) Starting the pump and seeing whether moving direction of the pump is confirmed to the mark on the motor, If not, Only changing positions of phases.
(3) After the motor moves at normal situations for a few minutes. Adjusting switch 1SA on “point action” position, Depressing the pedal switch “down” checking whether the point action is in normal situation.
(4) After the point action is OK. You should check whether the “single action” and “continuous action” are in normal situations, the checking methods just as the above “working modes for the machine”.
(5) Adjustment of ram stroke distance. That’s to say, the gap of the upper and lower dies must be suitable, otherwise it may influence the bending precisions.
The adjustment of the dies should be issued at the ram dead points.
(6) Emergency and general stop.
a. Pressing the emergency button SB1 、 SB3 which on the electrical box, the machine tool will be stopped immediately.
b. Changing the key button to position “OFF”,the machine tool will be stopped immediately.
Attachment : Principle drawing for electrical.
Suspension and installation for the machine
- Suspension for the machine.
If the machine packed in the box, the suspension must obey the following suspending drawing.
If the machine does not pack in a box. The suspension must obey the following suspending.
Attention: When suspending the machines, The ropes which pass through the hanging holes should line the liner such as rubber or soft objects to avoid to damage the paints.
Adjustment for the machine
1. Adjustment for the bending angle.
In this machine, You can bending different angles of kinds of working pieces, the Adjusting method as following.
- By using the mechanical stopper to adjust the lower limited stroke, pressing the button to make the mechanical stopper shift up-word or down-word. The bending angle will increase or decrease.
- Up-stroke adjusting. To reduce the empty stroke time and improve the productive efficiency, You can adjust the up-stroke, the methods as (seeing Drawing8).
Loosing the two bolts on the adjusting block, And make the block goes up and sown for a distance and tightening the bolts and you can get the satisfy strike length. But the limited switch should not exceed the top limited marks, otherwise the equipment accident might be occurred. - Adjustment for working time
The satisfaction working time is that the upper dies are higher 3~5mm to the lower die, when the length need to be adjusted, You should loose the adjusting bolts of limited switch, and make it goes up or down, And tightening the bolts, the length will increase or decrease.
Trial and operation for the machine
- Preparation before trial.
Before operating the machine, the operators must familiar to the machine characteristics and its using methods.
(1) Adding N32 or N46 hydraulic oil to oil tank until to the oil mark.
(2) Checking and connecting to the power source (Do not start machine.)to examine whether the actions of electrical elements and the electromagnetic valve are correct. - Trial and Operation.
(1) Empty-running, after finishing the above procedures, you may operate the motor for empty-running.(PLS. Paying attention to the directions of the motor)
a. Depressing pedal switch “down”, the ram goes down rapidly. At the moment of before contacting to upper and lower dies .To release the pedal switch, the ram stops at any positions.
b. Depressing pedal switch “UP” ,the ram goes up rapidly. After releasing the pedal switch, the ram stops, when the ram goes up to the top limited positions, the ram stops.
c. Adjusting the upper and lower dies to a suitable position and fixes it.
d. Adjusting the mechanical stopper to set the bottom limited and you can get the different bending requirements.
e. Adjusting the stopper (See Drawing No.8) to make the upper die to contact to the working piece and enter into working situation.
(2) Load-running: You must add the pressure gradually and try to
bend several working pieces until you obtain the satisfaction results. - Several items should be checked during trials.
(1) Whether every moving parts are smoothly, such as :Ram up and down, bending, return back quickly, mid-stopping, etc and other operation actions.
(2) The pump, valves should in good conditions and no heavy noisy, The sealing rings should not link, the suitable temperature is 30 ~50°C, the Max temperature should not exceed 60°C.
(3) After removing all the problems which occurred in trial, you could operate the machine.
Safety technology and maintenance for the machine
- Before operating the machine, the operator must read the “Operation manual”, And the operator must familiar to the construct, Characteristics and adjustment methods of the machine.
- For several operators, it must be confirmed that no any other dangerous factors exist, you may depress the pedal switch.
- The machine has high ability on loading, In normal case, the working pieces should put on the middle of the die. If bending the working pieces on the one end of the die, also should bend the pieces on both die sides.
- To select the V-shapes mouth according to the materials thickness, the sizes of the mouth should bigger than the eight times of the thickness of materials.
- When bending plates at Max. pressure, to avoid to damaged the dies, the bent length should not less than 1000mm.
- The bending pressure should not larger than the nominal pressure 18MPa.
- The clearance between the upper and lower dies must be evenness, And no any tools allowing on the worktable, And no welding scars, Rusty, etc on any tools allow on the worktable, And no welding scars, Rusty, etc on the surface of the working pieces.
- The electrical must connect to the ground.
- Keep the machine cleaning, Attentions should paid to the machine that any unusual phenomenon occur, You must stop the machine and overcoming the troubles.
- Checking and repairing the machine periodically.
- The machine uses 46# mechanical hydraulic oil, with the change of the temperatures, you should select the oil brand. The first used oil brand, the first used oil should be replaced after a mouth of using, Then, the oils should be replaced after half of a year, Remember, when filling the new oils, the oil should be filtered.
Bending pressure chart
- The values in the chart are based on the length of 1 meter.
For example : S=2.5mm (thickness)
L=1 meter (length)
V=22mm (V-shape open)
T he value of pressure is P=20t. - The tensile strength of plates are based on the σb=45N/mm2,while bending the other plates, the pressure should multiply the following coefficient:
Green copper (soft)— 0.5
Stainless steel—2.0
Aluminum—0.5
Crmo steel— 2.0
Easily damaged parts for the machine
| No. | Name | Standard No. | Material | Specification | Quan | Parts belonged to |
| 1 | Combined sealing ring | D-A-S | KDAS140-115 | 2 | Oil cylinder | |
| 2 | UN sealing ring | UN60 (60 X 70X 6) | 2 | Oil cylinder | ||
| 3 | UN sealing ring | UN120A (120X 140X 15) | 2 | Oil cylinder | ||
| 4 | 0-shape sealing ring | GB1235-76 | Rubber | 145 X 5.3 | 2 | Oil cylinder |
| 5 | 0-shape sealing ring | GB1235-76 | Rubber | 128 X 5.3 | 4 | Oil cylinder |
| 6 | 0-shape sealing ring | GB1235-76 | Rubber | 118 X 5.7 | 2 | Oil cylinder |
| 7 | 0-shape sealing ring | GB1235-76 | Rubber | 60 X 5.3 | 2 | Oil cylinder |
| 8 | 0-shape sealing ring | GB1235-76 | Rubber | 10 X 1.9 | 2 | Pipes road |
| 9 | 0-shape sealing ring | GB1235-76 | Rubber | 12 X 1.9 | 6 | Pipes road |
| 10 | 0-shape sealing ring | GB1235-76 | Rubber | 16 X 2.4 | 12 | Pipes road |
| 11 | 0-shape sealing ring | GB1235-76 | Rubber | 20 X 3.1 | 5 | Pipes road |
| 12 | 0-shape sealing ring | GB1235-76 | Rubber | 38 X 3.1 | 3 | Pipes road |
| 13 | Combined sealing ring | JB982-77 | 14 | 10 | Pipes road | |
| 14 | Combined sealing ring | JB982-77 | 18 | 10 | Pipes road | |
| 15 | Combined sealing ring | JB982-77 | 22 | 16 | Pipes road | |
| 16 | Combined sealing ring | JB982-77 | 33 | 6 | Pipes road |
Attachment: troubles overcoming
| Trouble phenomenon | reason | Overcoming methods |
| No oil from pump and the ram does not act | he moving direction is not right | Exchanging phase-connecting |
| Linking from elements, pipes connecting or oil cylinders | Sealing rings damaged or old | Replace sealing rings |
| Vibration from pipes and machine tool | The amount of oil in tank is not enough or the filter is blocked | Cleaning the filter or adding the oil into tank to mark |
| No pressure in system | The electric-magnetic does not exchange the directions or the cores of electromagnetic valves are blocked. | Repairing the plug of the electric-magnetic valves to avoid loosing or cleaning the cores of valves |
| The ram goes down too slow | The open of the valve core is too small or the oil temperature is be low 15°C | Adjusting the valve core, and checking the open amount, Improving the oil temperature by empty running. |
| The ram can not stop at any positions and three are advised drops down | The cores of valves are blocked | Cleaning the valve |
| The ram goes down too fast or too slow | The open taper of the tap valve is too large or small. | To check the open amount by adjusting taper valve |
| Large sound occurs when ram goes back | Mid-relay does not working or the core of the exchanging valve blocked | To check the time-relay |
This is to certify that the quality of this machine is well qualified after inspection and delivery of it is permitted.
Hand of Inspection Department:
Director of the Plant:
Date:
| No. | Inspection Item | Drawing | Precision | |
| Allowable | Errors | |||
| 1 | Evenness of the worktable surface | ![]() | 0.06 | |
![]() | 0.02 | |||
| 2 | The parallelism of water level support surface which sticking to upper die to worktable surface | ![]() | 0.12 | |
![]() | 0.04 | |||
| 3 | Evenness of the worktable surface | ![]() | 0.20 | |
PACKING LIST
Serial No:
WC67Y-33/1600 hydraulic press brake
Dimension(LXWXH): mm
G.W: kg
N.W: kg
| No. | Name | Specification | Quantity |
| 1 | Main body | 1 | |
| 2 | Operation manual | 1 | |
| 3 | Packing list | 1 | |
| 4 | Certificate of quality | 1 | |
| 5 | Pedal switch | 1 | |
| 6 | Front support | 2 | |
| 7 | Oil gun | 1 | |
| 8 | Foundation bolts | M 16 × 400 | 4 |
| 9 | rings | 2 | |
| 10 | Combination ring | 27# | 4 |
| 11 | Combination ring | 22# | 4 |
| 12 | Combination ring | 14# | 4 |
| 13 | 0-shape Sealing ring | 30# | 4 |
| 14 | 0-shape Sealing ring | 24# | 4 |
| 15 | 0-shape Sealing ring | 15# | 4 |
| 16 | 0-shape Sealing ring | 11# | 4 |
| 17 | Key | 2 |
Inspector:
Date:


















