blinds2go PerfectFIT Florence Blackout Fuchsia Roller Blind

Assembling the frame
Unpack the blind and frame (the side and bottom frames are packed separately in the same box), then lay out all the parts and push the control chain to one side so it doesn’t get tangled.
Before you slot the frames together, clip the corner cover pieces onto the corner joints so that they’re firmly attached.
Attach the side frames to the top and bottom by inserting the pegs on each corner section into their corresponding channels in the frames.
Securing the operating chain
- Peel the sticky pad (packed with the brackets) from its plastic sheet and stick it to the back of the chain runner. Peel the cover from the back of the sticky pad.

- Keeping the chain taut, press the chain runner firmly against front of the side frame to stick it in place.

Installing the brackets
Locate the correct position for the brackets by holding a credit card or store card vertically in the corner of the glass – the bracket will sit in line with the edge of the card.
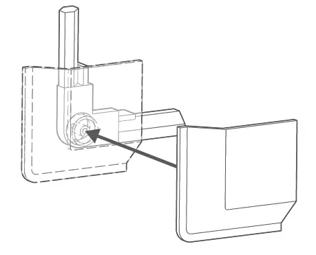
Installing the blind
Line the assembled blind up with the brackets so that the centre prong of the bracket is aligned with the oval slot on the frame. Ensure that the frame is sitting on the inside edge of each of the brackets (between the bracket and the glass).























