Perfect FIT Roller Blinds
Installation Guide

We’ve made a handy video version of this fitting guide, just click the play button to view it.
If you prefer to print the instructions or simply follow them step-by-step, just keep reading.
Assembling the frame
Unpack the blind and frame (the side and bottom frames are packed separately in the same box), then lay out all the parts and push the control chain to one side so it doesn’t get tangled.

The side frame that has the chain runner fitted must be on the same side of the blind as the control chain.

Before you slot the frames together, clip the corner cover pieces onto the corner joints so that they’re firmly attached.

Attach the side frames to the top and bottom by inserting the pegs on each corner section into their corresponding channels in the frames.
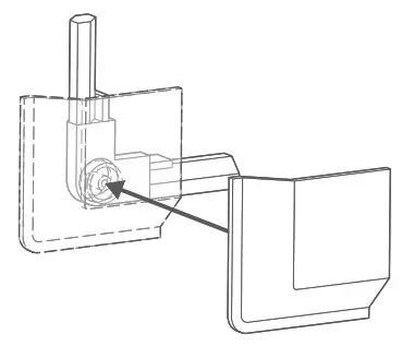
Securing the operating chain
Gently pry the screw cap from the chain runner, then unscrew and slide off the outer part of the runner.

Hook the chain over the exposed runner.

Slide the outer part of the runner back into place and reinsert the screw and screw cover.

Installing the brackets

Locate the correct position for the brackets by holding a credit card or store card vertically in the corner of the glass – the bracket will sit in line with the edge of the card.
Installing the blind
Line the assembled blind up with the brackets so that the center prong of the bracket is aligned with the oval slot on the frame.
Ensure that the frame is sitting on the inside edge of each of the brackets (between the bracket and the glass).

Push the frame towards the window until the oval slots lock onto the prongs of each of the brackets. The installation of the blind is now complete.



















