Eltako FSR71-2X-230V Wireless Actuator 2-Channel Impulse Switch Instruction Manual
Wireless actuator
2-channel impulse switch with integrated relay function FSR71-2x-230V
Only skilled electricians may install this electrical equipment otherwise there is the risk of fire or electric shock!
Temperature at mounting location: -20°C up to +50°C.
Storage temperature: -25°C up to +70°C.
Relative humidity: annual average value <75%.
valid for devices from production week 07/22 (see bottom side of housing)
2- channel impulse switch with integrated relay function, 1 NO contact each potential free 16 A/250 V AC, 230 V LED lamps up to 400 W, incandescent lamps 2000 watts. With light scene control by PC or wireless push buttons. Encrypted wireless, bidirectional wireless and repeater function are switchable. Only 0.8 watt standby loss.
Mounting in the 230V power supply cord, e.g. in false ceilings and lamps. 166mm long, 46 mm wide and 31 mm high.
If supply voltage fails, the switching state is retained. When supply voltage is restored, the device is switched off in defined mode.
The channels can be taught-in as ES and/or ER channel separately from each other. Scene control:
Several channels of one or several FSR71-2x devices can be switched on or off in a scene by one of the four signals of a pushbutton with double rocker taught-in as a scene button.
Central commands on PC are sent using the Wireless Building Visualisation and Control Software GFVS. To do this, teach-in one or several FSR71-2x devices.
Encrypted sensors can be taught in.
You can switch on bidirectional wireless and/ or a repeater function.
Every change in state and incoming central command telegrams are confirmed by a wire less telegram. This wireless telegram can be taught-in in other actuators, in universal displays FUA55 and in the GFVS software.
Function rotary switches

Use the rotary switches to teach-in the push buttons and test the 2 channels as required. For normal mode, the middle and lower rotary switches are then set to AUTO.
With the upper rotary switch the EW time (0-120 seconds) is directly set for relays or the RV time (0-120 minutes) for impulse switches for all channels if necessary.
When FBH wireless motion/brightness sensors (masters) are taught-in, the switching threshold is defined separately for each channel using the upper rotary switch. The switching threshold switches the lighting on or off depending on the brightness (in addition to motion) (from approx. 30lux in position 0 to approx. 0 300lux in position 90).
If FBH devices (slaves) are taught-in in Position 120, they are only evaluated as motion detectors. Several FBH devices are interlinked per channel. If an FBH signals ‘motion’, the NO contact closes. Only when all FBH devices signal ‘no motion’ does the NO contact open after the preset RV time. When an FBH is taught-in, the RV time only applies to the FBH.
Press the ON side of a direction push button for 2 seconds to switch it on permanently. Signals are not evaluated by the FBH. Press the OFF side of a direction push button for 2 seconds to switch it off permanently. Signals are not evaluated by the FBH. Press the direction push button briefly to re-evaluate FBH signals.
Semi-automatic motion detection with taught-in FB65B wireless motion sensor (factory setting):
Press the push button to switch on. This starts a release delay time of 5 minutes during which the device switches on again if motion is detected. When no further motion is detected, the device
switches off automatically after 5 minutes in addition to the set RV time. The actuator then responds to motion for a further 5 minutes before switching off automatically. After this time expires, the device must be switched on again by pressing the push button. You can switch the device off at any time by pressing the push button. Motion is then no longer evaluated.
Fully automatic motion detection with taught-in FB65B wireless motion sensor:
If the actuator is not to switch on automatically when motion is detected, e.g. in rooms without daylight, replug the jumper to ‘active’ on the FB65B device. When no further motion is detected, the device switches off automatically after a release delay time of 5 minutes in addition to the set RV time. Press the push button at any time to switch the device on or off. When motion is detected, the device switches on again automatically.
When wireless brightness sensors FAH60 re taught-in, define the switching threshold separately for each channel using the top rotary switch. The switching threshold switches the lighting on or off depending on the brightness (from approx. 0lux in position 0 to approx. 50lux in position 120). A hysteresis of approx. 300lux is permanently set for switch on/off. An additionally set RV time is not taken into account.
Only one FBH (masters) or FAH is taught-in per channel. However, one FBH (masters) or FAH can be taught-in in several channels. When wireless window/door contacts FTK or Hoppe window handles are taught-in, different functions can be set with the middle rotary switch in position AUTO 1 to AUTO 4 and linked to maximum 116 FTKs: AUTO 1 = window closed then output active. AUTO 2 = window open then output active. In settings AUTO 3 and AUTO 4 the FTKs taught-in to a single channel are linked automatically. With AUTO 3 all FTKs must be closed so that the NO contact closes (e.g. for climate control).
With AUTO 4 one open FTK is sufficient to close the NO contact (e.g. for an alarm signal or to switch on the power supply for an extractor hood). One or several FTKs can be taught-in in several channels to allow several simultaneous functions in each FTK. After a power failure the link is restored by a new signal to the FTK and a signal on the next status message 15 minutes later. An additionally set RV time is not taken into account. When FRW wireless smoke alarms are taught-in, they are interlinked per channel.
When an FRW signals ‘smoke’, the NO contact closes. Only after all FRW devices signal ‘no smoke’ does the NO contact open. When water probes are taught-in, a variety of functions can be set using the middle rotary switch in positions AUTO 1 to AUTO 4. AUTO 1 = ‘no water’, then NO contact closed. AUTO 2 = ‘water’, then NO contact closed. In Positions AUTO 3 and AUTO 4 the water probes taught-in to a single channel are interlinked automatically. With AUTO 3, all water probes must signal ‘no water’ before the NO contact closes. The NO contact opens when a water probe signals ‘water’. With AUTO 4, the NO contact closes when a water probe signals ‘water’. Only when all water probes signal ‘no ater’ does the NO contact open. An additionally set RV time is ignored.
The red LED accompanies the teach-in process and indicates control commands in operation by flashing briefly.
The green LED flashes briefly when a confirmation telegram is sent.
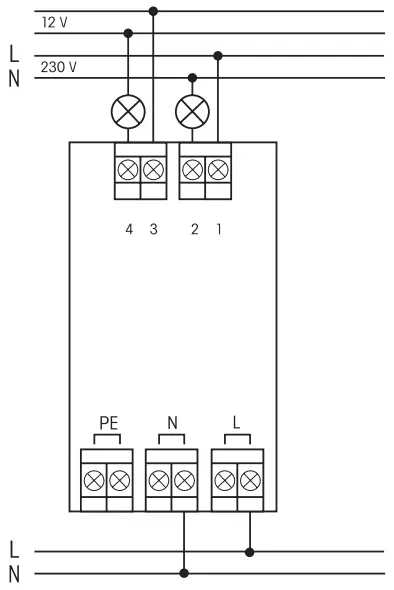
Typical connection

Teaching-in wireless sensors in wireless actuators
All sensors must be taught-in in the actuators so that they can detect and execute commands.
Teaching-in actuator FSR71-2x-230V
The teach-in memory is empty on delivery from the factory. If you are unsure whether the teach-in memory contains something or not, you must first clear the memory contents completely:
Set the middle rotary switch to ALL. The LED flashes at a high rate. Within the next 10 seconds, turn the upper rotary switch three times to the right stop (turn clockwise) and then turn back away from the stop. The LED stops flashing and goes out after 2 seconds. All taught-in sensors are cleared.
Clear individual taught-in sensors in the same way as in the teach-in procedure, except that you set the middle rotary switch to CLR instead of LRN, and operate the sensor. The LED previously flashing at a high rate goes out.
Clear device configuration:
Set the middle rotary switch to ALL. The red LED flashes at a high rate. Within the next 10 seconds, turn the upper rotary switch six times to the left stop (turn anticlockwise) and away again. The red LED stops flashing and goes out after 5 seconds. The factory settings are restored.
Teaching- in sensors:
A total of 120 memory location are available .
- Select the required channel 1, 2 or 1..2 using the lower rotary switch.
- Use the upper rotary switch to select the required teach-in function. 0 = teach in ‘direction button’;
Rocker is completely taught-in automatically when operating the pushbutton. The side on which the pushbutton is first operated is defined for switching on, the other side for switching off. 5 = teach in ‘universal pushbutton ES’; 10 = teach in ‘universal pushbutton ER’; 15 = teach in ‘central control pushbutton ON’ with priority; 20 = teach in ‘central control pushbutton OFF’ with priority; Central pushbutton have priority as long as they are pressed. 30 = teach in ‘scene button’; Scene pushbuttons (double rocker) are taught-in in fully automatic mode. ‘Save scenes’ as described further on. 45 = teach in ‘central control button ON’; 90 = teach in ‘central control button OFF’; 120 = teach in FBH (slave) and FRW With FTK, window handle, FB65B and water probes, you need pay no attention to the teach-in position of the upper rotary switch. With rotary switches and GFVS pay no attention to the teach-in position. On teach-in, confirmation telegrams are switched on and sent automatically. Teach in a wireless switch FS.. as a ‘universal switch ES’ (upper rotary switch in position 5): Press the wireless switch separately at the top and bottom for teach in. Function: press the wireless switch up or down, each time it is pressed, the switch position of the actuator changes (toggling). If several wireles switches are taught in, the wireless switch fulfills the function of a changeover switch. - Set the middle rotary switch to LRN. The LED flashes at a low rate.
- Press the sensor to be taught-in. The LED goes out.
To teach -in further sensors, turn the middle rotary switch briefly away from position LRN. Continue the procedure from pos 1.
After teaching, set the middle and bottom rotary switch to AUTO and set the top rotary switch to the desired time. For taught in window/door contacts FTK, note the required setting AUTO 1 to 4 of the middle rotary switch.
You can teach in encrypted and encrypted sensors.
Teach in encrypted sensors:
- Set the middle rotary switch to LRV.
The red LED flashes at a high rate. - Within 120 seconds, enable sensor encryption. The red LED goes out.
Caution: Do not switch off the power supply. - Then teach in the encrypted sensor as described in ‘Teaching -in sensors’.
To teach in other encrypted sensors, turn the middle rotary switch briefly away from position LRV and then turn it to 1. With encrypted sensors, use the ‘rolling code’, i.e. the code changes in each telegram, both in the transmitter and in the receiver.
If a sensor sends more than 50 telegrams when the actuator is not enabled, the sensor is no longer recognized by the enabled actuator and you must repeat teach -in as ‘encrypted sensor’. It is not necessary to repeat the function teach -in.
Teach in scenes
Up to 4 scenes are being saved with a previously taught -in scene push button.
- All 2 channels of the impulse switch can be turned on or off individually with a previously taught in universal -, direction or central push button as it is desired for one scene.
- The switch state is saved within 60 seconds when you press one of the four rocker ends of the double rocker scene button for longer than 3 seconds but shorter than 10 seconds.
- If more scenes have to be saved return back to point 1.
Recall scenes
Press one rocker of the scene push button briefly to recall the scene you require. An additionally set RV time is not taken into account.
When the middle rotary switch is set to
TEST, the 2 contacts can be closed individually using the lower rotary switch:
TEST + AUTO = all contacts open,
TEST + 1 = contact 1 closed,
TEST + 2 = contact 2 closed,
TEST + 1..2 = all contacts closed.
Switch on repeater:
The repeater is switched off in the factory setting. When disconnected, set the middle rotary switch to CLR and the lower rotary switch to the left stop (turning it counter clockwise. Switch on the power supply. The red LED lights up to two seconds. The repeater is switched on.
Switch off repeater:
When disconnected, set the middle rotary switch to CLR and the lower rotary switch to the right stop (turning it clockwise). Switch on the power supply. The red LED lights up to 0.5 seconds. The repeater is switched off.
Switch on confirmation telegrams:
For deliveries ex -works the confirmation telegrams are switched -off. Set the lower rotary switch to 1. Set the middle rotary switch to CLR. The red LED flashes nervously. Now within 10 seconds turn the upper rotary switch 3 times to the left (anticlockwise) and then back away.
The red LED goes out and the green LED lights up for 2 seconds. The confirmation telegrams are switched -on.
Switch off confirmation telegrams:
Set the lower rotary switch to 1. Set the middle rotary switch to CLR. The red LED flashes nervously. Now within 10 seconds turn the upper rotary switch 3 times to the left (anticlockwise) and then back away. The red LED goes out immediately. The confirmation telegrams are switched -off.
Use the data transformer DAT71 to create a link to a PC running the PCT14 software.
Configure FSR71:
The following points can be configured using the PC PCT14 tool:
- behavior upon return of supply voltage
- teaching-in of wireless push buttons and wireless Hoppe window handles with single or double click
- scenes for scene push buttons
- add or change sensors
When an actuator is ready for teach in (the LED flashes at a low rate), the very next incoming signal is taught in. Therefore, make absolutely sure that you do not activate any other sensors during the teach in phase.
Cable fixation
The cable must be fastened with standard cable ties (width <3,6 mm).
THE UNIQUE WIRELESS PROFESSIONAL SMART HOME STANDARD
Frequency: 868.3 MHz
Transmit power: max. 10 mW
Hereby, Eltako GmbH declares that the radio
equipment type FSR71
-2x
-230V is in
compliance with Directive 2014/53/EU. The full text of the EU declaration of conformity is available at the following internet address: eltako.com
Must be kept for later use!
Support
Eltako GmbH
D-70736 Fellbach
Technical Support English:
+49 711 94350025 technical
[email protected]
eltako.com



















