Unbranded FIT38W15CH Helene 15-Light Chrome LED Wall Sconce

Product Information
The product is an LED light with the model number FIT38W15BK/FIT38W15CH. The dimensions of the product are 17.9 inches in length, 13.8 inches in width, and 7.1 inches in height.
Product Usage Instructions
- Before installation, ensure that the power is turned off.
- Wear gloves during the installation process.
- Do not install the light on a damp or wet limewater ceiling.
- Cut off the electricity supply before installation to avoid any electric shock.
- Ensure that the connected bolt is tightly locked before turning on the electricity.
- Cut off the electricity supply before washing or repairing the light. Use a scour without causticity.
- If you need to replace the bulb, cut off the electricity supply and wait until the bulb cools down before replacing it to avoid being burned.
Note: Follow the above instructions carefully to use the product safely and effectively.
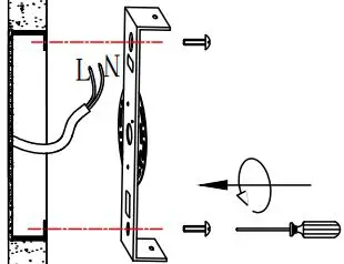
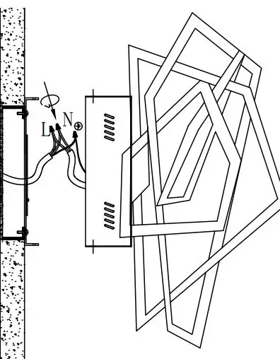
INSTALLATION INSTRUCTION
- Ture off the power.





WARNINGS
- Please wear gloves during the installation.
- Do not install on the ceiling which is damp or with wet limewater.
- Cut off the electricity before installation in case of being shocked.
- Make sure the connection bolt is tightly locked before getting through the electricity.
- Do cut off the electricity before washing or repairing, and use the scour without causticity.
- Please cut off the electricity and wait until the bulb gets cooling before replacing the bulb incase of being burned.



















