INSTRUCTION SHEET
CATHBA Angled
Bracket Hanger

CATHBA3 Angled Bracket Hanger
| Part Number | Mounting Ho e Size |
| CATHBA | Standard 1/4″ Hole |
| CATHBA3 | 3/16″ Hole For Use With Powder Actuated Tools |
| CATHBA6 | Accommodates Both 3/8″ & 1 Ohm |
| CATHBA8 | 1 /2″ Mounting Hole |
Order screw port numbers S3575BP100 (1/4 X 3/8″) and S35750P100 (1/4 X 3/4) for field assembles.
- Can be use with 1-5/16″, 2″, & 4″ J-Hooks.
- J-Hooks can be field assembled to CATHBA.
- J-Hooks can be put on either side of CATHBA. (See fiqures 4 & 5 for details)
Note: Hanger has load limit of 300 Ibs.
if mounting into concrete, consult anchor manufacturer for anchor load rating and then use lesser of the two figures.
To Install
Fiqure 1:
Thread nut onto rod at preferred height, insert rod through top hole of hanger. Thread second nut onto rod tightly against bracket.*
Fiqure 2:
For field assembly, the top rivet hole of J-Hook uses screw and nut* Special order factory assemblies are available
Figure 3:
To fasten a J-Hook to the CATHBA:
From back side of the bracket, thread o 1/4°20 screw through the thread impression until tight.
*Hardware not included.

WARNING:
- ERICO products shall be installed and used only as indicated in ERCO product instruction sheets and training materials. Instruction sheets are available at wew.erico.com and from your ERICO customer service representative.
- ERICO products must never be used for a purpose other than the purpose for which they were designed or in a manner that exceeds specified loud ratings.
- Al instructions must be completely followed to ensure proper and safe installation and performance.
- Improper installation, misuse, misapplication or other failure to completely follow ERICQ’s instructions and warnings may cause product malfunction, property ‘damage, serious bodily injury and death.
- Products that are manufactured using spring steel components shall be used only in a non—corrosive indoor environment.
- Al pipe supports, hangers, intermediate components and structural attachments must ONLY be used as described herein and are NEVER to be used for any other purpose.
NOTE: Al load ratings are for static conditions and do not account for dynamic loading such so wind, water or seismic loads, unless otherwise noted.
The customer is responsible for:
a. Conformance to all governing codes.
b. The integrity of structures to which the products are attached, including their capacity of safely accepting the loads imposed, as evaluated by a qualified engineer.
c. Using appropriate industry standard hardware as noted above.
SAFETY INSTRUCTIONS
Al governing codes and regulations and those required by the job site must be observed.
Airways use appropriate safety equipment such s eye protection, hard hat, and gloves as appropriate to the application.
Figure 4:
For “back—to—back” application, place two J—Hooks together with screw engaged through plain hole of one J—Hook and the thread impression of the other J—Hook. This method eliminates need for nut.
CADDY, CADWELD, CRITEC, ERICO, ERIFLEX, ERITECH, and LENTON are registered trademarks of ERICO International Corporation.
Figure 5:
For application on 4” J-Hooks, alternate J-Hooks s shown in Figure 5
Contractor Tip:
When assembling the 4″ J-Hooks, start the assembly at the bottom of the CATHBA and work up. ~Limit of 3
(Three) 4″ J—Hooks per CATHBA.
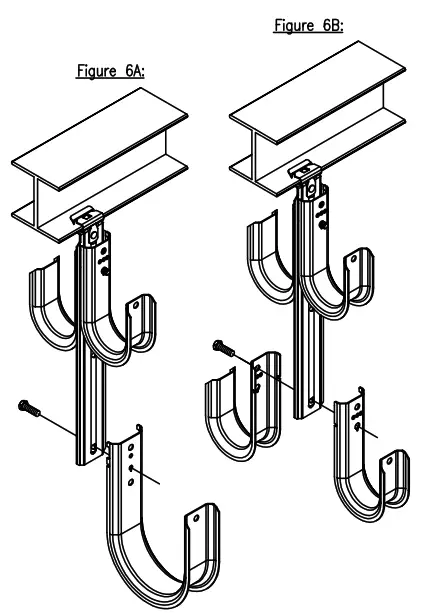
Fiqures 6A & 68
Can be applied as shown.
For proper loads see chart on opposite page.
Note: Load rating of “tree” assembly is limited to the capacity of the structural fastener suspending the threaded rod.
Example: Using 4H24 hammer—on beam clamp (200 Ibs. max.) assemble as follows:

6A) One CAT64 and two CAT32 (50 Ibs. max. each)
6B) Up to o total of 4 CAT21 or CAT32 (50 Ibs. max. each) in any combination.
Contractor Tip:
To create o shorter CATHBA, cut the bracket as shown.


TECHNICAL SUPPORT:
Www.erico.com
CFS302_H
©2000, 2001, 2010
ERICO International Corporation

















