SO-1120 2-Way Hi Fi Loudspeaker
Instruction Manual
ORCHESTRA SLIM
SO-1120
2-WEGE HI FI LAUTSPRECHER
GERMAN AUDIO
AND DESIGN
INTRODUCTION
Thank you for purchasing the ORCHESTRA SLIM. This operating manual provides all the information required for trouble-free and safe operation of the ORCHESTRA LIM.
It is the users responsibility to make sure, the speaker is positioned, connected and used in a safe way. The images in this operating manual are intended to illustrate the actions necessary to operate the ORCHESTRA SLIM.
ORCHESTRA SLIM is intended for personal use only. It is not intended for commercial use.
Enjoy your ORCHESTRA SLIM!
GETTING TO KNOW YOUR ORCHESTRA SLIM
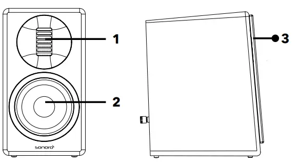
Front and side view
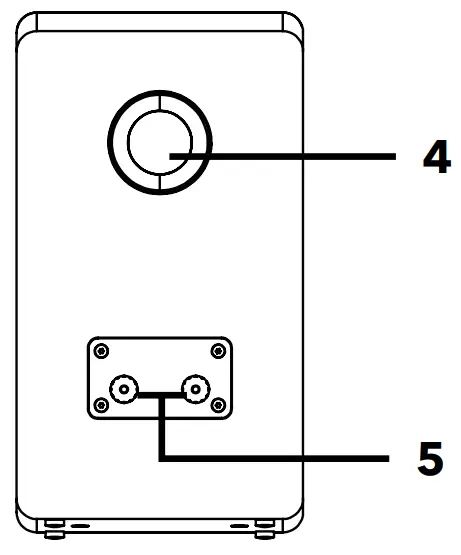
Rear and back view
- AMT tweeter
- Woofer
- Speaker mesh
- Bass port
- Connectors (– +)
GETTING STARTED
3.1 UNPACKING ORCHESTRA SLIM
- Take the ORCHESTRA SLIM out of the packaging and check whether the ORCHESTRA SLIM or the individual parts exhibit damages. If this is the case, do not use the ORCHESTRA SLIM. Should you detect any damage, contact your dealer or sonoro audio GmbH customer support immediately.
- Check to make sure that the delivery is complete (2 speakers, 2 speaker meshes, 2 bass plugs).
- Place the ORCHESTRA SLIM at a suitable and safe location. If you want to put your ORCHESTRA SLIM on a natural wood surface, please make sure that it is suitable. On oiled and waxed surfaces, stains may occur.
- Do not touch or push the woofer and tweeter on the front of ORCHESTRA SLIM. This can destroy the speaker.
ORCHESTRA SLIM can be connected to amplifer as show below. To avoid short circuits, please first switch off the amplifier to which you want to connect your ORCHESTRA SLIM. Connect the right speaker to the right and left speaker to the left channel of your amplifier. Be careful not to reverse the polarity of + and –.
When connecting the speaker cable, take notice of the followings:
- Do not let the bare wires of the speaker cable touch one another.
- Do not let the bare wires of the speaker cable come into contact with ORCHESTRA SLIM‘s rear panel and screws.
3.2 REMOVE THE SPEAKER GRILLE
The speakers are covered with a removable magnetic grille.
The speakers can be operated with or without the speaker grille.
3.3 LOCATING ORCHESTRA SLIM
The distance between the speakers and the distance to your listening position should form an isosceles triangle. a = b = c
When you are in your preferred listening position, the tweeter of your ORCHESTRA SLIM speakers should be at the same height as your ears.. d = e
3.4 BASS PORT PLUG
If you need to place your speakers too close to the back wall or on a shelf, the bass may be perceived as too strong. In this case, inserting the foam plug into the bass reflex tube may improve the sound. Please never push the plug completely into the bass reflex tube!
CLEANING
- Cleaning off fingerprints and light soiling: Clean ORCHESTRA SLIM only from the outside with a soft, dry cloth.
- Cleaning off heavy soiling: Clean ORCHESTRA SLIM only from the outside with a slightly damp cloth and then dry ORCHESTRA SLIM with a soft, dry cloth.
- All other cleaning methods may damage your ORCHESTRA SLIM.
ATTENTION!
Do not try to clean the drivers of ORCHESTRA SLIM, this may distroy them!
TECHNICAL DATA
| Specification | Value |
| Type | 2-way HI FI loudspeaker |
| Dimensions (W x D x H) | approx. 180 x 260 x 326 mm |
| Weight | approx. 7.2 kg / pc |
| Operating temperature | 0°C ~ +40°C |
| Cabinet | High-density fiberboard (HDF) |
| Recommended amplifier power | 50 – 140 W |
| Woofer | 5.25“ PE-coated paper drivers with die-casting chassis |
| Tweeter | Air Motion Transformer (AMT), approx. 85cm2 effective area, neodymium magnet |
| Impedance | 4 Ω |
| Frequency response | 45 Hz – 32 KHz @ -6 dB |
| Sensitivity | 87 dB SPL (2,83 V RMS, 1 m) |
Specifications are subject to change without notice.
DISPOSAL AT END OF USEFUL LIFE
Do not dispose of in household waste. Devices that are marked with this symbol (see figure) should not be disposed of in household waste. They must be returned to a collection point for the recycling of electrical and electro technical devices. Information regarding the disposal of old equipment can be obtained from your municipality, local waste disposal company and the store where you purchased this device. Proper disposal of old devices prevents environmental damage and does not jeopardise your health.
TROUBLESHOOTING
Malfunctions can occur with any electrical equipment. This is not necessarily due to ORCHESTRA SLIM defect. As such, you should check the following table to see if you can eliminate the problem yourself.
| Malfunction | Possible cause | Solution |
| No sound | Amplifier problem | Connect a known working louderspeaker to the amplifer outputs. If there is no sound, verify all the electronic are on, the signal routing is correct, the source is active, the volume is tuned up, etc. |
| The speaker cables are not connected properly | Check all the connected cables in between amplifer and ORCHESTRA SLIM’s speaker teriminal are connected properly. | |
| Poor low frequency respond | Speaker cables are wired in wrong polarity | Check the amplifier (+) terminal is connected to ORCHESTRA SLIM’s (+) speaker teriminal. Again, checked the amplifer (-) terminal is connected to ORCHESTRA SLIM’s (-) speaker terminal. |
| Constant noise such as buzzing, humming | Poor grounding of the amplifier | Check and correct the amplifer grounding problem. |
| Faulty cable | Replace with a good cable. | |
| Intermittent output such as cracking or distortion. | The speaker cables are not connected properly | Check all connectors at amplifier and ORCHESTRA SLIM to make sure that they are correct and tight. |
WARRANTY
When submitting warranty claims, the following applies without restricting your legal rights:
- Warranty claims can only be asserted within a period of max. 5 years (1 year in North America and Australia), calculated from the date of purchase.
- sonoro audio GmbH shall, at its own discretion, repair or replace ORCHESTRA SLIM free of charge any defects caused by material or manufacturing defects within the warranty period.
- In case of a complaint, please contact our customer service department. You can find contact details on the back cover or at www.sonoro.com.
- No new warranty period begins following repair or replacement of ORCHESTRA SLIM. The warranty period of 5 years (1 year in North America and Australia) from date of pur- chase remains applicable.
- Excluded from the warranty are damage caused by improper use, normal wear and tear, as well as defects which only minimally affect the value or usability of ORCHESTRA SLIM. The warranty also expires in case of any modifications not made by our authorised service centre
- This guarantee does not restrict or cancel the purchaser‘s free recourse to the rights set forth under statutory regulations concerning defects.
SAFETY INSTRUCTIONS
Persons (including children) who are unable to operate ORCHESTRA SLIM safely due to their physical, sensory or mental abilities should not operate this unit without supervision. Packaging material carries a risk of suffocation.
Whilst driving in a vehicle, store ORCHESTRA SLIM in such a way that it does not endanger the occupants. Improper transport/shipping can lead to damage of ORCHESTRA SLIM, thus preventing it from working properly.
Protect ORCHESTRA SLIM from weather, moisture and high temperatures. Never use ORCHESTRA SLIM outdoors and never place it in areas with increased sunlight.
Never use ORCHESTRA SLIM in areas with high humidity. Protect it from heavy soiling, e. g. grease splashes and uncleaned exhaust air in the kitchen. Protect ORCHESTRA SLIM from liquids. Never place ORCHESTRA SLIM on or in the immediate vicinity of sources of fire or heat.
The front, edges and corners of ORCHESTRA SLIM are all vulnerable to pressure. Protect these areas to prevent them from being subjected to excessive loads. Never tilt ORCHESTRA SLIM over its corners or edges. Never place ORCHESTRA SLIM facedown.
For transport or shipping, please pack the speakers in the supplied protective sleeves and the original box. Keep the original packaging for this purpose. If you lose the original packaging, please use a sufficiently stable and protective packaging that prevents damage to the ORCHESTRA SLIM.
Place ORCHESTRA SLIM on a sturdy surface to prevent severe mechanical vibrations.
WE THANK YOU FOR YOUR TRUST
At sonoro we are putting the utmost effort in to developing state-of-the-art products with impeccable quality standards. It is very important to us that you stay satisfied with your sonoro product for the lifetime of the unit. If for any reason you need assistance or have a warranty claim, please do not hesitate to get in touch with our Service Team.
DEUTSCHLAND – HQ
sonoro audio GmbH
Hammer Landstraße 45, 41460 Neuss, Deutschland
Phone +49 2131 8834-141
Fax +49 2131 7517-599
E-mail [email protected]
Internet www.sonoro.com
UNITED KINGDOM
[email protected]


















