
IS7p
USER MANUAL

Distribution Date: May 1st, 2021
Copyright 2021 by Adamson Systems Engineering Inc.; all rights reserved
This manual must be accessible to the person operating this product. As such, the product owner must store it in a safe place and make it available upon request to any operator.
The resale of this product must include a copy of this manual.
This manual can be downloaded from
https://www.adamsonsystems.com/en/support/downloads-directory/is-series/is7p
Declarations
EU Declaration of Conformity
Adamson Systems Engineering declares that the products stated below are in conformance with the relevant fundamental health and safety criteria of the applicable EC Directive(s), in particular:
Directive 2014/35/EU: Low Voltage Directive
IS7p – 70 x 40 – 967-0001, 967-0002, 967-0013, 967-5001, 967-5002, 967-5013
IS7p – 100 x 50 – 967-0003, 967-0004, 967-0014, 967-5003, 967-5004, 967-5014
Directive 2006/42/EC: Machinery Directive
IS7p & IS10p Fill Plate – 930-0031, 930-5031
IS7p Short Fill Plate – 930-0032
IS7p Horizontal Bracket – 934-0027, 934-5027
IS7p Vertical Bracket – 934-0028, 934-5028
Bracket C-Clamp – 932-0006, 932-5006
IS-Series Sight Mount – 934-0026, 934-5026
IS-Series Pole Mount Adapter – 932-0039
IS-Series C-Clamp – 932-0040
IS-Series Point H-Clamp – 932-0041
IS-Series Tilt Adapter – 932-0042
IS-Series Sight Mount Link – 932-0044
IS-Series Super Sight Mount – 934-0031, 934-5031
IS-Series Articulator – 934-0032, 934-5032
Signed at Port Perry, ON. CA – May 1st, 2021

Brock Adamson (President & CEO)
ADAMSON SYSTEMS ENGINEERING, Inc.
1401 Scugog Line 6, Port Perry (ON), L9L 1B2, Ontario, Canada
T: +1 905 982 0520, F: +1 905 982 0609
Email: [email protected]
Website: www.adamsonsystems.com
Safety & Warnings
Read these instructions, keep them available for reference.
This manual can be downloaded from
https://www.adamsonsystems.com/en/support/downloads-directory/is-series/is7p
Heed all warnings and follow all instructions.
A qualifi ed technician must be present during the installation and use of this product. This product is capable of producing extremely high sound pressure levels and should be used according to the specifi ed local sound level regulations and good judgment. Adamson Systems Engineering will not be liable for damages caused by any possible misuse of this product.
Servicing is required when the loudspeaker has been damaged in any way, such as when the loudspeaker has been dropped; or when for undetermined reasons the loudspeaker does not operate normally. Inspect your products regularly for any visual or functionality irregularities.
Protect the cabling from being walked on or pinched.
Read the appropriate IS-Series Rigging Manual before installing the product.
Pay attention to rigging instructions included in both Blueprint AV™ and the IS-Series Rigging
Manual.
Use only with the rigging frames/accessories specifi ed by Adamson, or sold with the loudspeaker system.
This speaker enclosure is capable of creating a strong magnetic fi eld. Please use caution around the enclosure with data storage devices such as hard drives.
In an effort to continuously improve its products, Adamson releases updated accompanying software, presets, and standards for its products. Adamson reserves the right to change the specifications of its products and the content of its documents with no prior notice.
IS7p Ultra-Compact Point Source

- The IS7p is an ultra-compact point source enclosure. It contains two symmetrically arrayed 7” LF transducers and a 3” HF compression driver mounted on an Adamson waveguide, available in two configurations; with dispersion patterns of either 70° x 40° (HxV) or 100° x 50° (HxV) each rotatable in increments of 90°.
- The operational frequency range of the IS7p is 80Hz to 18kHz. The use of proprietary technologies such as Advanced Cone Architecture allows a high maximum SPL of 136.5 dB.
- The enclosure has an unobtrusive visual design that blends seamlessly into the surrounding space, is made of marine-grade birch plywood, and has steel rigging discs on the top, bottom, and on each side, to be used with a wide variety of rigging accessories. Without sacrificing low resonance to the composite material, the IS7p weighs only 15 kg / 33.1 lbs.
- The IS7p is intended to be used as either a standalone system or a fill enclosure in tandem with other IS-Series products. The IS7p is designed to pair easily and coherently with all IS-Series subwoofers.
- The IS7p is designed for use with Lab. Gruppen’s D-Series line of installation amplifiers. The nominal impedance of the IS7p is 8 Ω per band, maximizing amplifier efficiency.
Wiring
- The IS7p (967-0001, 967-0003, 967-5001, 967-5003) comes with 2x Neutrik Speakon™ NL4 connections, wired in parallel.
- The IS7pb (967-0002, 967-0004, 967-5002, 967-5004) comes with an external barrier strip.
- Pins 1+/- are connected to the 2x ND7-LM16 MF transducers, wired in parallel.
- Pins 2+/- are connected to the NH3-8 HF transducer.

IS7p & IS7pb Internal Wiring (IS7pb only has one input)
Amplification
The IS7p is paired with Lab. gruppen D-Series amplifiers.
Maximum quantities of the IS7p per amplifier model are shown below.
For a master list, please refer to the Adamson Amplification Chart, found on the Adamson website.
https://adamsonsystems.com/support/downloads-directory/design-and-control/e-rack/283-amplificationchart-9/file

Presets
The Adamson Load Library
(http://adamsonsystems.com/support/downloads-directory/design-and-control/erack/245-adamson-load-library-5-0-1/file) contains presets designed for a variety of IS7p applications. Furthermore, there are presets designed to pair with either Adamson subs or Adamson Line Arrays. For a master list, please refer the Adamson PLM & Lake Handbook, found on our website. https://adamsonsystems.com/support/downloads-directory/design-and-control/e-rack/205-adamson-plm-lakehandbook/file

Weatherized
IS-Series weatherized models add an additional layer of environmental and corrosion protection to Adamson’s already durable cabinet design. Weatherized enclosures are ideal for marine and coastal venues, outdoor stadiums, open-air performance spaces, and other permanent outdoor installations.
IS-Series weatherized cabinets feature the following additional protective features.
Corrosion resistance
Corrosion resistance extends the lifetime performance of your system in outdoor venues where water, salt, and acidity can impact durability and function.
All structural steel elements of Adamson weatherized cabinets – including rigging and rigging links – are made of a high yield strength stainless steel alloy that offers 100% corrosion resistance.
Cabinet hardware is made of non-plated stainless steel, designed to provide exceptional rust and corrosion resistance, particularly in high-saline environments.
Environmental sealing
Additional protection of the cabinet helps ensure that loudspeaker performance isn’t impeded by the harsh environments in which your system is deployed.
To guard against water and particle intrusion, the same two-part polyurea coating that gives Adamson cabinets their life-extending exterior protection is applied to the interior of the enclosure, creating a complete seal. Weatherized models feature an exterior coating with a distinctively smooth finish that allows for easy cleaning and removal of contaminants like dirt, grime, saltwater or sand.
To protect against dust and other particles, a fine stainless steel mesh has been added to all points of entry including behind the front grille screens.
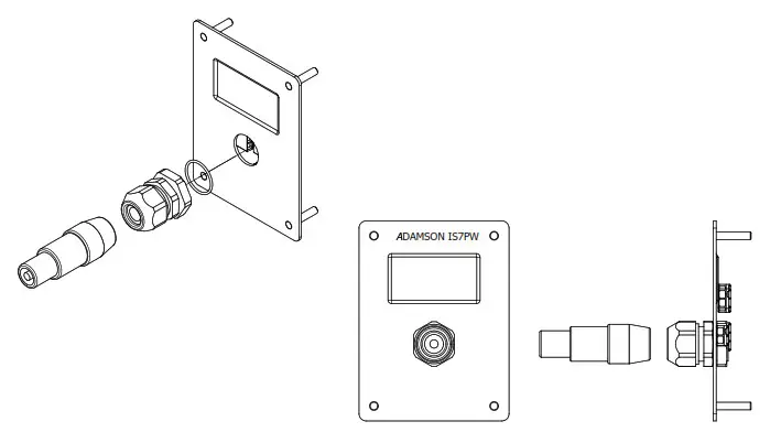
Cabling for the IS-Series weatherized cabinets is pre-wired and protected inside a gasket-sealed jack plate, with gland nuts in place to seal the connection points.

Technical Specifications

| Frequency Range (- 6 dB) | 80 Hz – 18 kHz |
| Nominal Directivity (-6 dB) H x V | 70° x 40° / 100° x 50° |
| Maximum Peak SPL | 136.5 |
| Components LF | 2x ND7-LM16 7” Neodymium Driver |
| Components HF | NH3-8 3” Diaphragm / 1.4” Exit Compression Driver |
| Nominal Impedance LF | 8 Ω (2x 16 Ω) |
| Nominal Impedance HF | 8 Ω |
| Power Handling (AES / Peak) LF | 500 / 2000 W |
| Power Handling (AES / Peak) HF | 110 / 440 W |
| Rigging | Integrated Rigging System |
| Connection | 2x Speakon™ NL4 or Barrier Strips |
| Height (mm / in) | 527 / 20.75 |
| Width Front (mm / in) | 251.5 / 9.9 |
| Width Rear (mm / in) | 170 / 6.7 |
| Depth (mm / in) | 356 / 14 |
| Weight (kg / lbs) | 15 / 33.1 |
| Colour | Black & White (Standard), RAL Colours (On-Demand) |
| Processing | Lake |
** 12 dB crest factor pink noise at 1m, free field, using specified processing and amplification

Adamson Systems Engineering

















