
Smart Intercom
NS-2
Quick Guide
Unpacking
Before you begin using the device, please check the version you got and ensure that the following items are included in the shipped box:

Device Installation

Push out the two clasps completely.

Insert the guide groove on the raised part of the bottom of the equipment shell into one side of the guide rail, and fit the NS-2 on the guide rail.

Press down the NS-2 on the front, push the two clasps upwards, and make the buckles snap into the guide rail, and then fix it on to the guide rail.
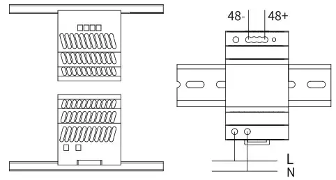
Power Adapter Installation

Place the power adapter on the corresponding position of the guide rail as shown in the figure above, and fasten the plastic buckle on the guide rail to fix the power adapter.
Note: Power adapter was not provided in the shipped box, please purchase it separately if you need it.

Note: The power adapter is 48V/1.25A DC or 24V/2A DC. Please refer to Device Wiring section for more connection details.
Device Wiring

Note:
- Each NS-2 supports a maximum of 6 loads, otherwise, it may not be powered on or power off during
- use.
The PLC-S lead wire of NS-2 must be kept at least 5 cm away from the PLC-1~PLC-6 lead wire, otherwise the signal will loop back and the network cannot be used.
Application Network Topology
Topology-1: each device connect to NS-2 separately.

| Adapter Voltage | Cable Model | Farthest Distance | Adapter Voltage | Cable Model | Farthest Distance |
| 48V | 24awg | 300m | 24V | 24awg | 150m |
| 20awg | 300m | 20awg | 250m | ||
| 18awg | 300m | 18awg | 300m |
Topology-2: devices are series connection with NS-2.

| Adapter Voltage | Cable Model | Farthest Distance | Adapter Voltage | Cable Model | Farthest Distance |
| 48V | 24awg | 100m/6devices 150m/4devices 200m/3devices | 24V | 24awg | 50m/3devices 150m/ldevice |
| 20aw g | 250m/6devices 300m/5devices | 20awg | 100m/3devices 150m/2devices 250m/ldevice | ||
| 18awg | 300m/6devices | 18awg | 100m/6devices 150m/4devices 200m/3devices 300m/2devices |
Note: When using different cable, the maximum number of devices can connect to NS-2 under the different maximum distances which can refer to the above table. For example, when using a 24awg cable, if the farthest distance is 100m, the maximum number of devices connect to NS-2 is 6.
Notice Information
Information contained in this document is believed to be accurate and reliable at the time of printing. This document is subject to change without notice, any update to this document can be viewed on Akuvox’ s website: http://www.akuvox.com © Copyright 2022 Akuvox Ltd. All rights reserved.
AKUVOX (XIAMEN) NETWORKS CO., LTD.
ADD: 10/F, NO.56 GUANRI ROAD, SOFTWARE PARK II, XIAMEN 361009, CHINA



















