WALI TVS001-W Universal Table Top TV Stand Installation Guide

UNPACKIN G INSTRUCTIONS
Carefully open the carton, remove contents and lay out on cardboard or other protective surface to avoid damage.
Check package contents against the Supplied Parts List in the next page to assure that
all components were received undamaged. Do not use damaged or defectiveparts.
Carefully read all instructions before attempting installation.
IMPORTANT SAF ETY INFORMATION
Install and operate this device with care. Please read this instruction before installation,
and carefully follow all instructions contained herein. Use proper safety equipment during installation.
Please call a qualified installation contractor for help if you don’t understand these directions or have any doubts about the safety of the installation.
Do not use this product for any purpose or in any configuration not explicitly specified
in this instruction. We hereby disclaims any and all liability for injury or damage arising
from incorrect assembly, incorrect mounting, or incorrect use of this product.
Supplied Parts List
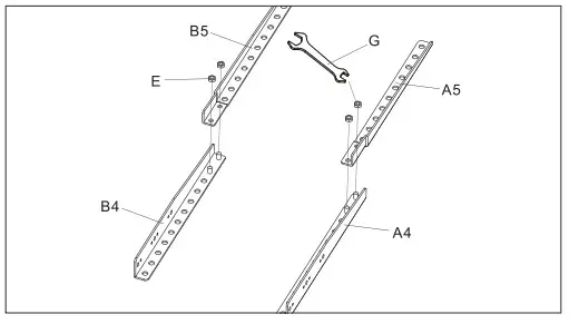
Step Connecting the Base Plates and Junction Plates
Step Connecting the Vertical Monitor Brackets
Step Connecting the TV Brackets and Junction Plates, then install the Plastic Covers
Step Attaching the TV Brackets to the back of TV
First_ of all, make sure the diameter and length of the Bolts(H,1,J,K,L,M) your TV requires. _Once you have determined the correct diameter and length, you will thread
the Bolts into the TV using the correct Washers(N,O,P). Use the Spacers(Q,R) only if the bolts are too longer.
























