WALI TVS002 42 Inch Tabletop Stand TV Installation Guide
UNPACKING INSTRUCTIONS
- Carefully open the carton, remove contents and lay out on cardboard or other protective surface to avoid damage.
- Check package contents against the Supplied Parts List in the next page to assure that all components were received undamaged. Do not use damaged or defective parts.
- Carefully read all instructions before attempting installation.
IMPORTANT SAFETY INFORMATION
- Install and operate this device with care. Please read this instruction before installation, and carefully follow all instructions contained herein. Use proper safety equipment during installation.
- Please call a qualified installation contractor for help if you don’t understand these directions or have any doubts about the safety of the installation.
Do not use this product for any purpose or in any configuration not explicitly specified in this instruction. We hereby disclaims any and all liability for injury or damage arising from incorrect assembly, incorrect mounting, or incorrect use of this product.
Supplied Part List
- (1)Base Plate-Al

- (1)Junction Plate-A2

- (1)Plastic Cover-A3

- (1)TV Brackett-A4

- (1) Base Plate-B1

- (1) Junction Plate-B2

- (1) Plastic Cover-B3

- (1)TV Brackett-B4

- (8)M6x10 Bolt-C Allen Head

- (4)M6 Nut1-D

- (1)Allen Key-E

- (1)Wrench-F

- (4)M4x12 Bolt-G

- (4)M4x30 Bolt-H

- (4)M6x20 Bolt-I

- (4)M6x35 Bolt-J

- (4)M8x20 Bolt-K

- (4)M8x35 Bolt-L

- (4)M4 Washer-M

- (4)M6 Washer-N

- (4)M8 Washer-O

- (4)M4 Spacer-P

- (8)M6/M8 Spacer-Q

Assembly Instructions
Step 1: Connecting The Base Plates And Junction Plates.
Step 2: The Choice Of TV Angle Before Assembly.
Step 3: Connecting The TV Brackets ang Junction Plates, then install the Plastic Covers.
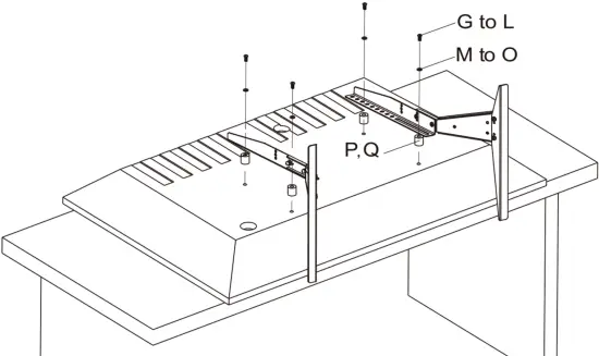
Step 4: Attaching the TV brackets to the back of TV
First of all, make sure the diameter and length of the Bolts(G,H,I,J,K,L ) your TV requires. Once you have determined the correct diameter and length, you will thread the Bolts into the TV using the correct Washers(M,N,O). Use the Spacers( P,Q) only if the bolts are too longer.










































