Better Music Builder EX-8 8-Channel Multi Effects Mixer Owner’s Manual
Thank you for purchasing this unit. To make full and effective use of this unit, please read this Owner’s Manual carefully before operating it. Please retain this manual for future reference. Better Music Builder is protected by the U.S. and international copyright.
Please note that this procedure is exclusively for notifying Better Music Builder and its affiliates that your copyrighted material has been infringed.
INTRODUCTION
While keeping the integrity and quality of the original EX-8, the improved connectivity drives the new Better Music Builder 8-Channel Pro-Powered Mixer EX-8A into the digital age. It is an upgrade Mixer that follows Better Music Builder’s long tradition of utilizing the most advanced technologies to bring you the best products. New to Better Music Builder the EX-8A Professional Powered Mixer has a built-in power amplifier module and is perfect for the audio enthusiast and home entertainment experts.
With 8-Channel, the EX Series mixer brings studio-quality equipment to your living room. Now multiple audio sources including your home entertainment system can be controlled all in one station. This professional audio mixer has echo effects that can be controlled independently to each channel, effectively making selection possible when multiple microphones are connected. Apart from the standard audio inputs, the EX-8A Pro-Powered Mixer has a selectable USB, and Bluetooth integrated into the mixer, making it an essential tool for any party or event. The EX-8A Mixers have phantom-powered microphone inputs. This is a unique feature that is used whenever you want the best recreation of your vocal audio from the system. When using a phantom-powered microphone, you will need to activate the phantom power button in order to operate properly.
Adding to the above features the mixer also provides auxiliary outputs and returns in order to connect an audio effects processor, from there each channel can be set to provide the effects given. This makes it possible to provide audio effects to one microphone while another plays unprocessed/effected audio.
Get ready to experience the best live karaoke performance! Intro
EX-8A Front View
SYSTEM FEATURES
EX-8A 8-CHANNEL PRO-POWERED MIXER
- 8-Channel Line in + Mic in; fully adjustable
- +48 Phantom Power for condenser microphones
- Built-in power amplifier module
- Echo Effects controls: Delay, Repeat
- Bluetooth Enabled to connect to smart phone
- SB interface for recording and playing digital music file
- Built-in 320 DSP Effect
- 3 Band EQ for each channel (HI/MID/LOW)
- Channels 1 to 8 Mono Microphone Plugs ach channel with mute and PFL switch
- Left & Right Master control faders
- Gain Control for each channel
- Headphone Jack with independent volume control
- Effects Send to audio processor
- Aux Return from audio processor
- Audio Balance on each channel, perfect for a theatrical effect when using instruments
- High quality sliding potentiometer
- Dual 8 sections effect level monitoring indicator
- Amplifier Output Power: 700W (350W+350W) 4 ohms Features EX-8A Front View
SAFETY INSTRUCTIONS
Please visit our website at BetterMusicBuilder.com for the most updated information, corrections on errors and changes in this manual. You may also contact us at toll free at 1-800-318-2218.
CAUTION |
CAUTION: TO REDUCE THE RISK OF ELECTRIC SHOCK DO NOT REMOVE COVER (OR BACK) NO USER-SERVICEABLE PARTS INSIDE REFER SERVICING TO QUALIFIED PERSONNEL |
- Read Instructions: All the safety and operation instructions should be read before this product is operated.
- Retain Instructions: The safety and operating instructions should be kept for future reference.
- Warnings: All warnings on this product in these operating instructions should be followed.
- Follow Instructions: All operating and other instructions should be followed carefully.
- Water and Moisture: This product should not be used near water, for example, near a bathtub, washbowl, kitchen sink, laundry tub, in a wet basement, near a swimming pool, swamp or salivating St. Bernard dog, etc.
- Cleaning: Clean only with a dry cloth.
- Ventilation: This product should be situated so that its location or position does not interfere with its proper ventilation. For example, the Component should not be placed on a bed, sofa, rug, or similar surface that may block any ventilation openings, or placed in a built-in installation such as a bookcase or cabinet that may impede the flow of air through ventilation openings.
- Heat: This product should be stayed away from heat sources such as radiators, or other devices producing heat.
- Power Sources: This product should be connected to a power supply only of the type described in these operation instructions or as marked on this product.
- Power Cord Protection: Power supply cords should be routed so that they are not likely to be walked upon or pinched by items placed upon or against them. Please pay particular attention to cords plugs, convenience receptacles, and the point where they exit this product.
- Object and Liquid Entry: Care should be taken so that objects do not fall on, or liquids are not spilled into this product.
- Damage Requiring Service: This product should be serviced only by qualified service personnel when:
- A. The power-supply cord or the plug has been damaged; or
- B. Objects have fallen, or liquid has spilled into this product; or
- C. This product has been exposed to rain; or
- D. This product does not appear to operate normally or exhibits a marked change in performance; or
- E. This product has been dropped, or its chassis has been damaged.
- Servicing: The user should not attempt to service this product beyond those means described in this operating manual. All other servicing should be referred to the Service Department.
- To prevent electric shock, do not use this polarized plug with an extension cord, receptacle or other outlet unless the blades can be fully inserted to prevent blade exposure.
- Grounding or Polarization: Precautions should be taken so that the grounding or polarization means of this product is not defeated.
- Power Precaution: Unplug this product during lightning storms or when unused for long periods of time. Note that this product is not completely disconnected from the AC power source when the power switch is in the OFF position.
- This machine does not exceed the Class A/Class B (whichever is applicable) limits for radio noise emissions from digital apparatus as set out in the radio interference regulations of the US Department of Communications.
AC-POWER SOURCES
This set should be operated only from the type of power source indicated on the marking label. If you are not sure of the type of electrical power supplied to your home, consult your dealer or local power company. For those sets designed to operate from battery power, or other sources, refer to the operating instructions.
This unit is designed for use with 120V/60Hz AC. If the area where you live have different power source, you may need to use a transformer to convert to 120 Volts AC.
OVERLOADING
Do not overload wall outlets, extension cords or convenience receptacles beyond their capacity, since this can result in fire or electric shock.
An appliance and cart combination should be moved with care. Quick stops, excessive force and uneven surfaces may cause the appliance and cart combination to overturn.
Do not place the electronic equipment onto the unstable
table or stand. It is because it would fall easily from the unstable table or stand, so it may cause accident including personal injuries and damage the equipment. Please follow our instructions to install the equipment, or you may hire a professional technician to handle the installation for safety purpose.
Do not place the set on an unstable cart, stand, tripod, bracket, or table. The set may fall, causing serious injury to a child or an adult and serious damage to the set. Use only a cart stand tripod, bracket, or table recommended by the manufacturer.
For the set with a three-wire grounding type ac plug: This plug will only fit into a grounding-type power outlet. This is a safety feature. If you are unable to insert the plug into the outlet, contact your electrician to have a suitable outlet installed. Do not defeat the safety purpose of the grounding plug
Do not store the electronic equipment near water or area with moisture such as bathroom, kitchen sink, laundry area and swimming pool, etc.
Do not transport the electronic equipment by yourself if its weight exceeds 70 pounds. It is recommended that two people work together to transport the equipment or by using hand truck and the like.
Do not place the electronic equipment directly under sunlight or close to the window. It may cause overheat on the electronic equipment by the sunlight.
Do not block the openings and vents in the cabinet which is designed for the ventilation of the electronic equipment. The blocking may cause overheat in the electronic equipment because of insufficient circulation of air, so it would damage the electronic equipment.
Do not place the electronic equipment near heat sources such as stoves, radiators and heaters, etc. Placing the electronic equipment too near to these heat sources would result in damaging the equipment and causing fire.
Do not expose the electronic equipment to liquids, and do not place in an area with high humidity.
PACKAGE ACCESSORIES
The package contains the following:
All other accessories mentioned in the manual for installation purpose are not included. They are sold separately.
EX-8A Pro-Powered Mixer with Case
AC Power Cable (6 feet) United States (2M) to IEC (F)
Consumer Warranty and registration card Consumers from Canada can get the warranty card by downloading it from our website www.BetterMusicBuilder.com.
Owner’s Manual
CONNECTION METHODS AND INFORMATION
CONNECTOR INFORMATION
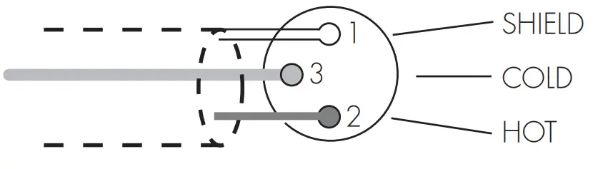
Balanced XLR Connectors
| XLR | TRS | |
Hot (+) | Pin 2 | Tip |
| Cold (-) | Pin 3 | Ring |
Shield (Ground) | Pin 1 | Shield |


INSERT JACKS
The Insert jacks located by the microphone inputs
Using a TRS type jack connected to the mixers’ Insert I/O (in/out) and a TS type jack to outer sources like an effects processors or equalizers will individually control the sound coming from that channel.
Be sure to use the correct wiring for this connection.
TO THE INPUT JACK OF THE EXTERNAL PROCESSOR
The TRS type jack should be connected to the Insert I/O plug on the mixer, while the two TS type plugs will be individual input and outputs to the effect device.
WHAT’S THE DIFFERENCE BETWEEN BALANCED AND UNBALANCED?
In a word: “noise.” The whole point of balanced lines is noise rejection, and it’s something they’re very good at. Any length of wire will act as an antenna to pick up the random electromagnetic radiation we’re constantly surrounded by: radio and TV signals as well as spurious electromagnetic noise generated by power lines, motors, electric appliances, computer monitors, and a variety of other sources. The longer the wire, the more noise it is likely to pick up. That’s why balanced lines are the best choice for long cable runs. If your “studio” is basically confined to your desktop and all connections are no more than a meter or two in length, then unbalanced lines are good—unless you’re surrounded by extremely high levels of electromagnetic noise. Another place balanced lines are almost always used is in microphone cables. The reason for this is that the output signal from most microphones is very small, so even a tiny amount of noise will be relatively large, and will be amplified to an alarming degree in the mixer’s high-gain head amplifier
Balanced Noise Cancellation
To Summarize
| Microphones | Use balanced lines. |
| Use balanced lines. | Unbalanced lines are good if you’re in a relatively noise-free environmen |
| Long line-level runs | The ambient electromag-netic noise level will be the ultimate deciding factor, but balanced is best. |
SIGNAL LEVELS AND THE DECIBEL
Let’s take a look at one of the most commonly used units in audio: the decibel (dB). If the smallest sound that can be heard by the human ear is given an arbitrary value of 1, then the loudest sound that can be heard is approximately 1,000,000 (one million) times louder. That’s too many digits to deal with for practical calculations, and so the more appropriate “decibel” (dB) unit was created for sound-related measurements. In this system the difference between the softest and loudest sounds that can be heard is 120 dB. This is a non-linear scale, and a difference of 3 dB actually results in a doubling or halving of the loudness.
You might encounter a number of different varieties of the dB: dBu, dBV, dBM and others, but the dBu is the basic decibel unit. In the case of dBu, “0 dBu” is specified as a signal level of 0.775 volts. For example, if a microphone’s output level is -40 dBu (0.00775 V), then to raise that level to 0 dBu (0.775 V) in the mixer’s preamp stage requires that the signal be amplified by 100 times.
A mixer may be required to handle signals at a wide range of levels, and it is necessary to match input and output levels as closely as possible. In most cases the “nominal” level for a mixer’s input and outputs is marked on the panel or listed in the owner’s manual.
Most professional mixers, power amplifiers, and other types of equipment have inputs and outputs with a nominal level of +4 dBu.
The inputs and outputs on home-use audio gear usually have a nominal level of –7.8 dBu (–10 dBV).
Microphone signal levels vary over a wide range depending on the type of microphone and the source. Average speech is about –30 dBu, but the twittering of a bird might be lower than –50 dBu while a solid bass drum beat might produce a level as high as 0 dBu.
TO EQ OR NOT TO EQ
In general: less is better. There are many situations in which you’ll need to cut certain frequency ranges, but use boost sparingly, and with caution. Proper use of EQ can eliminate interference between instruments in a mix and give the overall sound better definition. Bad EQ—and most commonly bad boost—just sounds terrible.
Cut for a Cleaner Mix
For example: cymbals have a lot of energy in the mid and low frequency ranges that you don’t really perceive as musical sound, but which can interfere with the clarity of other instruments in these ranges. You can basically turn the low EQ on cymbal channels all the way down without changing the way they sound in the mix. You’ll hear the difference, however, in the way the mix sounds more “spacious,” and instruments in the lower ranges will have better definition. Surprisingly enough, piano also has an incredibly powerful low end that can benefit from a bit of low-frequency roll-off to let other instruments—notably drums and bass—do their jobs more effectively. Naturally you won’t want to do this if the piano is playing solo.
The reverse applies to kick drums and bass guitars: you can often roll off the high end to create more space in the mix without compromising the character of the instruments. You’ll have to use your ears though, because each instrument is different and sometimes you’ll want the “snap” of a bass guitar, for example, to come through.
The fundamental
and harmonic
frequency ranges of some musical instruments.
Fundamental: The frequency that determines the basic musical pitch.
Harmonics: Multiples of the fundamental frequency that play a role in determining the timbre of the instrument.
Some Frequency Facts
The lowest and highest frequencies than can be heard by the human ear are generally considered to be around 20 Hz and 20,000 Hz, respectively. Average conversation occurs in the range from about 300 Hz to about 3,000 Hz. The frequency of a standard pitchfork used to tune guitars and other instruments is 440 Hz (this corresponds to the “A3” key on a piano tuned to concert pitch). Double this frequency to 880 Hz and you have a pitch one octave higher (i.e. “A4” on the piano keyboard). In the same way you can halve the frequency to 220 Hz to produce “A2” an octave lower.
BOOST WITH CAUTION
If you’re trying to create special or unusual effects, go ahead and boost away as much as you like. But if you’re just trying to achieve a good sounding mix, boost only in very small increments. A tiny boost in the midrange can give vocals more presence, or a touch of high boost can give certain instruments more “air.” Listen, and if things don’t sound clear and clean try using cut to remove frequencies that are cluttering up the mix rather than trying to boost the mix into clarity. One of the biggest problems with too much boost is that it adds gain to the signal, increasing noise and potentially overloading the subsequent circuitry
AMBIENCE
Your mixes can be further refined by adding ambience effects such as reverb or delay. The internal effects can be used to add reverb or delay to individual channels in the same way as external effects processors.
Reverb and Delay Time
The optimum reverb time for a piece of music will depend on the music’s tempo and density, but as a general rule longer reverb times are good for ballads, while shorter reverb times are more suited to uptempo tunes. Delay times can be djusted to create a wide variety of “grooves”. When adding delay to a vocal, for example, try setting the delay time to dotted eighth notes corresponding to the tune’s tempo.
Reverb Tone
Different reverb programs will have different “reverb tone” due to differences in the reverb time of the high or low frequencies. Too much reverb, particularly in the high frequencies, can result in unnatural sound and interfere with the high frequencies in other parts of the mix. It’s always a good idea to choose a reverb program that gives you the depth you want without detracting from the clarity of the mix.
Reverb Level
It’s amazing how quickly your ears can lose perspective and fool you into believing that a totally washed out mix sounds perfectly fine. To avoid falling into this trap start with reverb level all the way down, then gradually bring the reverb into the mix until you can just hear the difference. Any more than this normally becomes a “special effect.”
THE MODULATION EFFECTS
Phasing, Chorus, and Flanging
All of these effects work on basically the same principle: a portion of the audio signal is “time-shifted” and then mixed back with the direct signal. The amount of time shift is controlled, or “modulated”, by an LFO (Low-frequency Oscillator).
For phasing effects the shift is very small. The phase difference between the modulated and direct signals causes cancellation at some frequencies and reinforces the signal at others and this causes the shimmering sound we hear.
For chorus and flanging the signal is delayed by several milliseconds, with the delay time modulated by an LFO, and recombined with the direct signal. In addition to the phasing effect described above, the delay modulation causes a perceived pitch shift which, when mixed with the direct signal, results in a harmonically rich swirling or swishing sound.
The difference between chorus and flanging effects is primarily in the amount of delay time and feedback used—flanging uses longer delay times than chorus, whereas chorus generally uses a more complex delay structure. Chorus is most often used to thicken the sound of an instrument, while flanging is usually used as an outright “special effect” to produce otherworldly sonic swoops.
COMPRESSION
One form of compression known as “limiting” can, when properly used, produce a smooth, unified sound with no excessive peaks or distortion. A common example of the use of compression is to “tame” a vocal that has a wide dynamic range in order to tighten up the mix. With the right amount of compression you’ll be able to clearly hear whispered passages while passionate shouts are still well balanced in the mix. Compression can also be valuable on bass guitar. Too much compression can be a cause of feedback, however, so use it sparingly.
Most compressors require several critical parameters to be set properly to achieve the desired sound. The MG compressor makes achieving great sound much easier: all you need to do is set a single “compression” control and all of the pertinent parameters are automatically adjusted for you.
GETTING STARTED
So now you’ve got the 8-Channel EX-8A Pro-Powered Mixer from Better Music Builder. Here’s how you use it!Before you start connecting cables, observe the equipment
you are going to connect to your mixer and figure out where the cables will be in their corresponding location. To help you with the initial setup, we will assume you have one (1) two channel powered amplifier or two (2) powered speakers, two (2) microphones, an (1) CD player, and two (2) audio sources (KOD/Guitar).
- Let’s begin with the microphones. Your mixer comes with 8 channels, normally the primary channels are used for vocal microphones (i.e. singers). Since there are two (2) microphones, we will be connecting the microphones in the channels 1 and 2 via ¼” or XLR plug. If you have a condenser microphone (phantom powered microphone), you can plug in via XLR to their respective locations on input 1 and 2 of the EX-8A

- Now you need music! Connecting the audio sources in the Balance/Unbalance inputs of the mixer, the EX-8A uses inputs 7/8. The given channel uses Left and Right ¼” inputs that we will be using to connect both your DVD or KOD player, and Karaoke machine.

- In a very simple design, the audio outputs to the amplifiers are very easy to connect when using either powered speakers or a power amplifier. On the top right corner of the mixer you will see labeled “MAIN OUT” with two types of plugs, balanced XLR and unbalanced ¼” plugs. This gives you plenty of options to decide where and how to connect your speakers/amplifier. If your amplifier or power speakers use XLR type connections then you can use the given outputs to give you a simple setup for left and right audio. Now if you plan to connect an audio management system, then you will be using the same XLR audio outputs and connect to the audio management system, from there you will connect independently to your power amplifiers.
If the amplifier uses unbalanced ¼” type plugs you will simply occupy the ¼” outputs instead of the balanced XLR type plugs.
By now you should be enjoying the audio that your EX-8A is controlling.
SYSTEM APPLICATIONS
SMALL FORMAT
The small format uses the basic left and right speakers with an optional Sub for an easy Karaoke setup.

MEDIUM FORMAT: CONNECTING TO PORTABLE ACTIVE/POWERED SPEAKERS
The medium format gives additional enhancements for speakers requiring higher power and bass.
CONNECTING MAIN OUTPUT (balanced XLR and unbalanced ¼” plugs)

SELECTING YOUR FAVORITE KARAOKE SINGING ECHO/REVERB EFFECTS

| MODE RANGE | EFFECTS |
| 49 – 55 | KTV |
| 56 – 60 | Professional |
| 140 – 145 | Popular |
| 170 – 175 | Cinema |
CONNECTING THE WHOLE SYSTEM FOR MEDIUM FORMAT


CONTROLS AND FUNCTIONS Mixer
FRONT PANEL:Starting from channels 1 to 8 on model EX-8A, the audio inputs are now in MONO format. Primarily used for instrument microphones and vocalists, the signal from the microphones is received in mono.
- LINE IN/MIC: Balanced XLR-type microphone input jacks. (1: Ground; 2: Hot; 3: Cold) XLR input provides “P48” phantom power.
- LINE INPUT JACKS (MONO CHANNELS): Balanced TRS phone-jack line inputs. (T: Hot; R: Cold; S: Ground). You can connect either balanced or unbalanced phone plugs to these jacks. Input jacks do not provide “P48” phantom power.
- PEAK INDICATOR: The PEAK indicator lights when the input signal level is 3dB below clipping.
- GAIN CONTROL: Controls the sensitivity of the LINE/MIC inputs signal. To get the best balance between the S/N ratio and the dynamic range, adjust the gain so that the PEAK indicator lights on the LEVEL METER only occasionally and briefly on the highest input transients. The -60 to +10 scale is the MIC input adjustment range. The 40 to +10 scale is the LINE input adjustment range.
- EQUALIZER (HIGH, MID and LOW): Adjusts the channel’s high, mid, and low frequency bands. Setting the knob to the “0” position produces a flat response in the corresponding band. Turning the knob to the right boosts the corresponding frequency band, while turning to the left attenuates the band.
- AUX1 CONTROL: Controls the level of the signal sent from the channel to the AUX 1.
- ECHO EFFECT/AUX2 CONTROL: Adjusts the level of the signal sent from the channel to the ECHO EFFECT / AUX 2.
- PAN CONTROL: It determines the stereo positioning of each mono channel signal. For example, rotating the knob toward L moves the sound to the left (depending on the location of the knob).
- LEVEL CONTROL: Controls the overall level to the main outputs. This knob’s level ranges from off, through unity (center detent position), on up to 15 dB of extra gain (fully clockwise).
FRONT PANEL
- +48V (P48) SWITCH & INDICATOR: When the switch is on, the indicator lights up and the mixer supplies +48V phantom power to all channels that have XLR mic input jacks. Turn the switch on when using one or more phantom-powered condenser microphones.
- PHONE JACK: Connects a pair of headphones to this TRS phone-type output jack.
- AUX1/AUX2 JACKS: Deliver the mixer’s line outputs to effect processors (reverb, delay, etc.), speakers, headphones or other devices.
- MP3 PLAYER & MODES OPERATION: A. USB (MP3) PORT B. LCD: System status display. C. CONTROL FUNCTIONS: Selects effect modes and controls MP3 player, recording and mute music.
- LED INDICATOR: POWER INDICATOR: Power Indicator red lights up when the mixer’s power is ON.
- LEVEL METER: Shows the strength of the signal. AUX1/ AUX2 VOLUME CONTROL: Controls the level of the signal output to the AUX1/AUX2.
- FX VOLUME CONTROL: Controls the MAIN effect output volumes.
- MAIN OUT (L, R) JACKS: Deliver the mixer’s stereo output. Connect to power amplifier or powered speaker driving your main speakers.
- MAIN OUT CONTROL: Controls all audio going out of the mixer via “MAIN OUT”.
- MP3 EQUALIZER (HIGH/LOW) CONTROL: Controls the MP3 music’s high and low keys.
- MP3 VOLUME CONTROL: Controls the level of the signal output to the MP3.
- PHONES VOLUME CONTROL: Controls the level of the signal output to the PHONES.
- POWER BUTTON ON/OFF
- AC-POWER: 110V for USA & Canada. 220V for Asia and Europe authorized dealer for details.
- SPEAKER OUTPUTS
REAR PANEL
OPERATION
USB/SD PLAYER OPERATION
PLAYING MP3 MUSIC
- Inset the USB disk/SD card.
- Press MODE button, select “USB or SD”, the USB or SDdisplay will turn on.

- Press
button start play/pause music. - Press
button play next song, press
button play previous song
USING BLUETOOTH
- Press MODE button, select “BLUE”, the BLUETOOTH display will turn on

- Go to bluetooth setting on your phone, scan the devices and connect to mixer “MIX-MP3 BT. For more information go to page 18.
- Play your mobile phone music.
AUDIO RECORDING
- Inset the USB disk/SD card.
- Press MODE button, select “LINE”, the LINE display will turn on.

- Press MODE button for 3 seconds, the REC display will turn on and USB display will flash, start recording from mixer audio input & microphone input. When finished recording, press MODE button for 3 seconds to stop recording

VOLUME CONTROL
- Press
button for 3 seconds, the volume will increase - Press
button for 3 seconds, the volume will decrease
SETTING UP BLUETOOTH CONNECTION ONANDROID PHONES / iPhones
You can connect your Android phone/iPhone wirelessly to the mixer by using Bluetooth.
- Press MODE button on mixer, select “BLUE”
- On your Android phone/iPhone, go into

- Go into General

- Go into Bluetooth
- Turn on Bluetooth
- Look for “MIX-MP3 BT” on the list of “Devices”

- Click on “MIX-MP3 BT” to connect

- Now you can play your phone’s audio on the mixer
PHYSICAL DIMENSIONS
| NET WEIGHT | 26.5 Lbs / 12 Kg |
| SHIPPING WEIGHT | 28.7 Lbs / 13 Kg |
| DIMENSIONS (WxHxD | 17×8.3×14.6 in / 43×21×37 cm |
| PACKING DIMENSIONS (WxHxD | 23×5.9×21.9 in / 44.5×22.5×38.5 cm |

SPECIFICATIONS
| MICROPHONE INPUTS | |
| Type | XLR, electronically balanced, discrete input circuit |
| MIC E.I.N. (20 HZ – 20 KHZ) | |
| @ 0 Ω source resistance | -134 dB / 135.7 dB A-weighted |
| @ 50 Ω source resistance | -131 dB / 133.3 dB A-weighted |
| @ 150 Ω source resistance | -129 dB / 130.5 dB A-weighted |
| Frequency Response | < 10 Hz ~ 150 KHz (-1dB) |
| < 10 Hz ~ 200 KHz (-3Db) | |
| Gain Range | +10 to +60 dB |
| Max. Input Leve | +12 dBu @ +10 dB Gain |
| Impedance | approx. 2.6 kΩ balanced |
| Signal-to-noise Ratio | 110 dB / 112 dB A-weighted |
| (0 dBu In @ +22 dB gain) | |
| Distortion (THD+N) | 0.005% / 0.004% A-weighted |
| LINE INPUT | |
| Type | ¼” TRS connector, electronically balanced |
| Impedance | approx. 20 kΩ balanced 10 kΩ unbalanced |
| Gain Range | -10 to +40 dB |
| Max. Input Level | -10 to +40 dB |
| FADE-OUT ATTENUATION1 (CROSSTALK ATTENUATION) | |
| Main Fader Closed | 90 dB |
| Channel Muted | 89 dB |
| Channel Fader Closed | 89 dB |
| FREQUENCY RESPONSE | |
| MICROPHONE INPUT TO MAIN OUT | |
| <10Hz~ 90KHz | +0 dB / -1 dB |
| <10Hz~ 160 KHz | +0 dB / -3 dB |
| STEREO INPUTS | |
| Type | ¼” TRS connector, electronically balanced |
| Impedance | approx. 20 kΩ |
| Max. Input Leve | +22 dBu |
| EQ MONO CHANNELS | |
| Low | 80 Hz / ±15 dB |
| Mid | 100 Hz ~ 8 kHz / ±15 dB |
| High | 12 kHz / ±15 dB |
| EQ STEREO CHANNELS | |
| Low | 80 Hz / ±15 dB |
| Low Mid | 500 Hz / ±15 dB |
| High Mid | 3 kHz / ±15 dB |
| High | 12 kHz / ±15 dB |
| AUX SENDS | |
| Type | ¼” TS connector, unbalanced |
| Impedance | approx. 120 Ω |
| Max. Output Level | +22 dBu |
| STEREO AUX RETURNS | |
| Type | ¼” TRS connector, electronically balanced |
| Impedance | approx. 20 kΩ bal. / 10 kΩ unbal. |
| Max. Input Level | +22 dBu |
| MAIN OUTPUTS | |
| Type | XLR, electronically balanced and ¼” TRS balanced |
| Impedance | approx. 240 Ω symm. / 120 Ω unbalanced |
| Max. Output Leve | +28 dBu +22 dBu |
| CONTROL ROOM OUTPUTS | |
| Type | ¼” TS connector unbalanced |
| Impedance | approx. 120 Ω |
| Max. Output Level | +22 dBu |
| HEADPHONES OUTPUTS | |
| Type | ¼” TRS connector, unbalanced |
| Max. Output Level | +19 dBu / 150 Ω (+25 dBm |
| DSP | |
| Converter | 24-bit Sigma-Delta, 64/128-times oversampling |
| Sampling Rate | 40 kHz |
| MAIN MIX SYSTEM DATA2 | |
| NOISE | |
| Main Mix @ –00 | -101 dB |
| Channel Fader @ –00 | -100 dB |
| Main Mix @ 0 dB, | -93 dB |
| Channel Fader @ –00 | -83 dB -80 dB |
| POWER SUPPLY | |
| Mains Voltage | 110V~120V, 50/60 Hz |
| Power Consumption | 50W |
| Fuse | T 1.6 A H 250 V |
| Mains Connection | Standard IEC receptacle |
Measuring conditions:
1: 1 kHz rel. to 0 dBu; 20 Hz ~ 20 kHz; line input; main output; unity gain. 2: 20 Hz ~ 20kHz; measured at main output. Channels 1 ~ 4 unity gain; EQ flat; all channels on main mix; channels 1/3 as far left as possible, channels 2/4 as far right as possible. Reference = +6 dBu.
TROUBLESHOOTING
NO SOUND ON CHANNELS 1~8?
CAUSE: MUTE switch is set ON. Gain Control is set counterclockwise (OFF).
REMEDY
- Make sure the “MUTE” switch is not engaged.
- Make sure the “GAIN” level is not completely off (counterclockwise) properly adjust gain setting as suggested in this manual.
NO ECHO
CAUSE
- Channel FX volume is set counterclockwise (OFF).
- Main FX MUTE control is muted.
- Main FX Volume control is set counterclockwise (OFF).
- Delay and Repeat setting are set counterclockwise (Minimum Effect).
REMEDY
- Make sure the “FX” volume is up on the desired channel to have echo.
- Make sure the MUTE button on the “FX SEND” is OFF.
- Make sure the “FX to MAIN” volume control is not off (counterclockwise).
- Adjust the “Delay” and “Repeat” controls accordingly.
SQUEAL
CAUSE
- Calibrate the wireless microphone receiver (if applicable) (The following may require continuous adjustments in Gain and audio for your personal preference without squeal).
- Adjust the “TRIM” volume until squeal stops.
- Adjust the High/Mid/Low controls for the individual channel.
NO SOUND ON MIC. INPUT
CAUSE
- Make sure to plug into the Line Input when using 1/4” plug.
- Raise Gain Control clockwise; properly adjust trim setting as suggested in this manual.
- Turn off the MUTE button.
MUSIC VOLUME IS TOO LOW
CAUSE: The Gain Control is set too low.
REMEDY: Adjust to a higher volume.
MICROPHONE VOLUME IS TOO LOW
CAUSE: The Gain Control is set too low.
REMEDY: Adjust to a higher volume.
NO SOUND FROM MICROPHONE
REMEDY
- Be sure the power of microphone is turned on.
- Microphone cable is connected properly.
- Check the MUTE switch.
MACHINE HAS NO POWER
REMEDY: Check to see if the power cable is well connected and that the power switch on the front panel is turned on.
BAD AUDIO OR MICROPHONE SOUNDS
REMEDY
- Check the source of your audio (CD, DVD, VOD) to check for damage.
- Check your audio cables or microphone cables.
- Use a better audio cable or 3pin XLR microphone cable.
- Adjust Gain Control to a lower setting.
- If using a wireless microphone, reduce the gain from the recever
NO SOUND FROM SELECTED AUDIO SOURCE
CAUSE
- Input selector is set incorrectly.
- Gain Control is set to minimum.
- Speakers and speaker cables may be disconnected, loose or malfunctioned..
- Source player is functioning incorrectly
REMEDY
- Change Input Selector to the correct source.
- Increase “Music Master Volume” to an appropriate level.
- Check speakers and speaker cable connections. Tighten or replace if necessary.
- Replace audio playe
PROTECTION FOR AUDIO/VIDEO EQUIPMENT
Before connecting or disconnecting any audio/video equipment, be sure to turn off the power for all equipment. Otherwise, it may cause black spots on LCD or TV screen.
WARRANTY
ONE-YEAR LIMITED WARRANTY FOR HOME USE EQUIPMENT
Our one-year warranty covers both parts and labors. The warranty becomes effective from the date of your purchase for one year.
Our warranty only covers defects due to product defectiveness with free of defects in materials or workmanship. However, our warranty does not cover defects due to normal wears, damage in transit, improper use, abuse or failure to follow the proper instructions for maintenance. This warranty is void in the event of unauthorized repairs, alternations, modifications and removing of the product label.
Please also note that our warranty does not cover any shipping cost for the return of defective products to us for inspection, repair and maintenance. Our warranty for Better Music Builder products can only be executed in North America.
DAY LIMITED WARRANTY FOR PUBLIC AND
COMMERCIAL USE EQUIPMENT
Our 90-day warranty applies to speakers, amplifiers, mixers and microphones for both public and commercial use such as restaurant, coffee shop, KTV nightclub, church and school, etc. It covers both parts and labors. The warranty becomes effective from the date of your purchase for 90 days.
Our warranty only covers defects due to product defectiveness with free of defects in materials or workmanship. However, our warranty does not cover defects due to normal wears, damage in transit, improper use, abuse or failure to follow the proper instructions for maintenance. This warranty is void in the event of unauthorized repairs, alternations, modifications and removing of the product label.
Please also note that our warranty does not cover any shipping cost for the return of defective products to us for inspection, repair and maintenance. Our warranty for Better Music Builder products can only be executed in North America.
ADDITIONAL NOTES
- . Limited warranty for home use equipment is only valid in North America.
- Limited warranty is valid only if you purchase our products from our authorized dealers (including both regular retailers and online retailers) in North America. If you choose to purchase our products from an authorized dealer, we will not provide any limited product warranty for you. To protect your limited product warranty, please purchase our products from one of our authorized dealers in North America near you.
- Limited warranty is automatically void if the yellow label stating “No Warranty After Opening” is removed from the product.
TO REGISTER YOUR WARRANTY
Please fill out the warranty card that came with your unit, download or submit online warranty form. However, we need the invoice for your purchase in order to process this warranty. You may also register your warranty online. Please visit our website at www.bettermusicbuilder.com
AGENCY REGULATORY NOTICES
FEDERAL COMMUNICATIONS COMMISSION NOTICE
These limits are designed to provide reasonable protection against harmful interference in a residential installation. This equipment generates, uses, and can radiate radio frequency energy and, if not installed and used in accordance with the instructions, may cause harmful interference to radio communications. However, there is no guarantee that interference will not occur in a particular installation. If this equipment does cause harmful interference to radio or television reception, which can be determined by turning the equipment off and on, the user is encouraged to try to correct the interference by one or more of the following measures:
- Reorient or relocate the receiving antenna.
- Increase the separation between the equipment and the receiver.
- Connect the equipment into an outlet on a circuit different from that to which the receiver is connected.
- Consult the dealer or an experienced radio or television technician for help.
Modifications
The FCC requires the user to be notified that any changes or modifications made to this device that are not approved may void the user’s authority to operate the equipment.
Cables
Connections to this device must be made with shielded cables with metallic RFI/EMI connector hoods to maintain compliance with FCC rules and regulations.
MATERIALS DISPOSAL
Disposal of this material can be regulated because of environmental considerations. For disposal or recycling information, contact your local authorities or the Electronic Industries Alliance (EIA) (http://www.eiae.org
DISPOSAL OF WASTE EQUIPMENT BY USERS IN PRIVATE HOUSEHOLDS IN THE EUROPEAN UNION
This symbol on the product or on its packaging indicates that this product must not be disposed of with your other household waste. Instead, it is your responsibility to dispose of your waste equipment by handing it over to a designated collection point for the recycling of waste electrical and electronic equipment. The separate collection and recycling of your waste equipment at the time of disposal will help to conserve natural resources and ensure that it is recycled in a manner that protects human health and the environment. For more information about where you can drop off your waste equipment for recycling, please contact your local city office, your household waste disposal service or the shop where you purchased the product.
JAPANESE MATERIAL CONTENT DECLARATION
A Japanese regulatory requirement, defined by Specification JIS-C-0950, 2005, mandates that manufacturers provide Material Content Declarations for certain categories of electronic products offered for sale after July 1, 2006
RECYCLING PROGRAM
The terms and availability of these programs vary by geography because of differences in regulatory requirements and local customer demand.
FINAL WORDS TO USER
The engineering team of Better Music Builder@ has many years of experience in audio equipment design. The team constantly develops new audio technologies, designs innovative audio and Karaoke equipment to suit your specific needs and provides you great ideas for home entertainment.
Our engineering team also designs audio equipment forc ommercial use by restaurants, coffee shops, churches, ands chool auditoriums, etc. If the commercial area for audio equipment installation exceeds 2,000 square feet, we highly recommend you to hire audio professionals to handle the installation in order to avoid risks in breaking the equipment with improper installation and safety protection purposes.
We also provide educational and technical information on audio equipment and technologies. For example, we provide free installation diagrams to make it easier to connect the system. In addition, to get best connections for the sharpest image and sound quality, we provide hot tip for choosing the high quality type of A/V cable connections. Free information on audio equipment and technologies available for download from our website, www.BetterMusicBuilder.com.
Please do not remove the “Yellow Label” in the rear of the machine; otherwise, the warranty will be void automatically. We design it to protect your own safety. If repair and maintenance service is needed, please contact us directly or hire a professional technician. To learn more about the technical aspects, visit our website www.BetterMusicBuilder.com and download the relevant information for review.
Any form of tampering with this product, will void the warranty
Before hooking up the system, turn off the AC powers on all machines including audio/video equipment and TV. Otherwise, it may damage the equipment, especially on the HDTV in which a spot might appeared on the TV screen. After hooking up the system, double check the audio/video connections to ensure that they are connected correctly.
Note:Sometimes, loose or poor cable quality would affect the microphone effects, picture quality, or even cause the machine to shut down suddenly.
Again, we must thank you for choosing Better Music Builder product. We hope you can make the best use of the machine and enjoy it for years to come. If you have any questions regarding our product, please feel free to contact us at www.BetterMusicBuilder.com.
CONTACT INFORMATION
MAILING ADDRESS

BETTER MUSIC BUILDER 29400 Kohoutek Way #150 Union City, CA 94587 U.S.A.
TELEPHONE NUMBERS

USA Region USA Toll Free: 1-800-318-2218 Sales & Marketing: 510-477-9955 Customer Service: 510-477-9955
FAX NUMBERS

USA Region Sales & Marketing: 510-477-9922 Customer Service: 510-477-9922
WORLD WIDE WEB

E-mail: [email protected] Website: www.bettermusicbuilder.com
MAINTENANCE
With proper maintenance and regular service, it would maintain the machine quality and prolong its life. We recommend you to print the following information clearly for future reference on maintenance and warranty

![]()




































