U S GENERAL 59197 Folding Side Tray for 5 Drawer Tool Cart Owner’s Manual
Specifications
Weight Capacity: 35 lb
Included Hardware:
- 4 x M8x17 Button Head Hex Screws
- 4 x M8x16 Carriage Bolts
- 4 x M8 Nuts
IMPORTANT SAFETY INFORMATION
Mounting Precautions
- Mount only according to these instructions. Improper mounting can create hazards.
- Wear ANSI-approved safety goggles and heavy-duty work gloves during mounting.
- Keep work area clean and well lit.
- Keep bystanders out of the area during mounting.
- Do not mount when tired or when under the influence of alcohol, drugs or medication.
Use Precautions
TO PREVENT SERIOUS INJURY AND DEATH FROM TIPPING:
- DO NOT SIT, STAND OR CLIMB ON THIS ITEM.
- This product is not a toy. Do not allow children to play with or near this item.
- Do not exceed weight capacity.
- Use as intended only.
- Inspect before every use; do not use if parts are loose or damaged.
- Maintain product labels and nameplates. These carry important safety information.
If unreadable or missing, contact Harbor Freight Tools for a replacement.
Mounting Instructions
Read the ENTIRE IMPORTANT SAFETY INFORMATION section at the beginning of this manual including all text under subheadings therein before set up or use of this product.
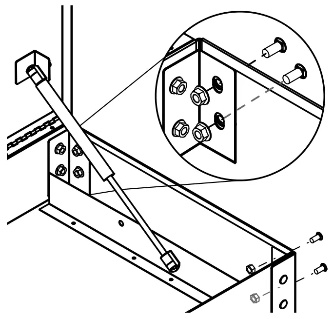
If mounting to 5 Drawer Cart
- Remove the four Nuts and Bolts from the corners opposite the Handle. Do not reuse bolts and nuts.
- Line up the Mounting Plate with the holes, then secure the Tray with the four Carriage Bolts and four Nuts.


If mounting to Full Bank Cart
- Line up the Mounting Plate with the holes on the full bank cart.
- Secure the Tray with the four Button Head Hex Screws and four Nuts.

If mounting to a different cart
Note: Pilot holes may need to be drilled into mounting surface:
- Using the Mounting Plate, determine if the Inner or Outer Mounting Holes are best for the mounting surface. Both Do Not need to be used.
- Using the Mounting Plate as a template, mark locations of Mounting Holes on mounting surface.
- Using a drill bit appropriate for the Bolts, drill pilot holes into the marked locations.
- Position the Mounting Plate so that Mounting Holes align with pilot holes.
- Thread Bolts/Screws through Mounting Holes and into pilot holes, then secure with Nuts.

Operation Instructions
Read the ENTIRE IMPORTANT SAFETY INFORMATION section at the beginning of this document including all text under subheadings therein before set up or use of this product.
- Lift up the Tray until it is high enough for the Support to clear the Lip.
- Rest the Support in the Lip, then push down on the Tray to make sure it is fully seated.
- To fold down, lift up the Tray, remove the Support from the Lip, then place the Support and Tray in down position.

Maintenance and Servicing
Procedures not specifically explained in this manual must be performed only by a qualified technician.
WARNING
TO PREVENT SERIOUS INJURY FROM TOOL FAILURE: Do not use damaged equipment.
If any part becomes damaged, have the problem corrected before further use.
- PERIODICALLY, inspect the general condition of the Tray. Check for:
- loose hardware,
- misalignment or binding of parts,
- cracked or broken parts,
- any other condition that may affect its safe operation.
- Wipe Tray assembly with clean cloth.
- Lubricate Hinges as needed.
Record Serial Number Here: __________________________
Note: If product has no serial number, record month and year of purchase instead.
Note: Replacement parts are not available. Reference UPC number as follows.
Slate Grey: 193175459374
Blue: 193175471116
Orange: 193175471109
Black: 193175471055
Green: 193175471079
Red: 193175471086
Yellow: 193175471093
White: 19317547699
Limited 90 Day Warranty
Harbor Freight Tools Co. makes every effort to assure that its products meet high quality and durability standards, and warrants to the original purchaser that this product is free from defects in materials and workmanship for the period of 90 days from the date of purchase. This warranty does not apply to damage due directly or indirectly, to misuse, abuse, negligence or accidents, repairs or alterations outside our facilities, criminal activity, improper installation, normal wear and tear, or to lack of maintenance. We shall in no event be liable for death, injuries to persons or property, or for incidental, contingent, special or consequential damages arising from the use of our product. Some states do not allow the exclusion or limitation of incidental or consequential damages, so the above limitation of exclusion may not apply to you. THIS WARRANTY IS EXPRESSLY IN LIEU OF ALL OTHER WARRANTIES, EXPRESS OR IMPLIED, INCLUDING THE WARRANTIES OF MERCHANTABILITY AND FITNESS.
To take advantage of this warranty, the product or part must be returned to us with transportation charges prepaid. Proof of purchase date and an explanation of the complaint must accompany the merchandise.
If our inspection verifies the defect, we will either repair or replace the product at our election or we may elect to refund the purchase price if we cannot readily and quickly provide you with a replacement. We will return repaired products at our expense, but if we determine there is no defect, or that the defect resulted from causes not within the scope of our warranty, then you must bear the cost of returning the product.
This warranty gives you specific legal rights and you may also have other rights which vary from state to state
Copyright© 2021 by Harbor Freight Tools®. All rights reserved.
No portion of this manual or any artwork contained herein may be reproduced in any shape or form without the express written consent of Harbor Freight Tools.
Diagrams within this manual may not be drawn proportionally. Due to continuing improvements, actual product may differ slightly from the product described herein.
Tools required for assembly and service may not be included.
Visit our website at: http://www.harborfreight.com
Email our technical support at: [email protected]
![]()






















