Richelieu TA65150030, TA65155030 Drawer Slides with Metal Sides

CABINET TYPES
FRAMELESS CABINETS

FACE FRAME CABINETS 

INSTALLATION OF THE CABINET SLIDES (SLIDE B)
The front of the slides must be 1/16” behind the front edge of the cabinet (see illustration above). In the case of a recessed front drawer, the thickness of the façade must be added to the minimum 1/16”.
To determine the height of the installation, place the center of your slides 1/2” higher than the height you require for the bottom of the drawer (Figure 1).

REAR PLASTIC BRACKETS
Required to install on face frame cabinet.
No.
BP99612
OR/OU/O
BP603700112

INSTALLATION OF THE CABINET SLIDES (SLIDE B).
- Insert the rear plastic bracket at the end of the cabinet slides. Position the front end of the slide on the side of the face frame. The front end of the slide must be recessed 1/16” from the front edge of the frame. To determine the height of the installation, place the center of your slide 1/2” higher than the height you require for the bottom of the drawer (Figure 1 for measurement explanation). Install screw in the first slotted mounting holes.
- Check that both cabinet members are vertically and horizontally parallel. Make the necessary adjustment. Install the rear bracket on the rear vertical mounting strip.
Package contents
- 2 drawer sides
- 2 slides
- 2 mounting brackets Fixing screws

ASSEMBLY INSTRUCTIONS
- Drawer panels base and back (not included
- Cabinet slide
- Metal drawer side
- Front fixing bracket
- Drawer front (not included)

SPACE REQUIREMENTS
- 85 mm
Drawer height - 28 mm
Minimum distance from top - 85 mm
Minimum distance from bottom - 15 mm
Mounting width - 12.5 mm
Minimum distance under drawer
DRAWER BASE AND SIDES ASSEMBLY
Attach the metal drawer sides to the drawer back and bottom, as shown in figure 2. Note that the rollers on the side go at the back of the drawer.

FRONT BRACKETS ASSEMBLY
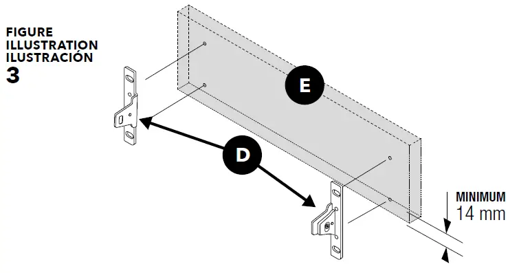
Position brackets (D) onto drawer front (E) as shown in figure 3. Fasten into place using screws provided.

FINAL DRAWER ASSEMBLY
Loosely fasten the front brackets (D) onto the drawer sides (C).
Adjust the lateral position of the drawer front by tightening / loosening the assembly screw (F).
Then adjust the height of the drawer front by tightening / loosening the small positioning screw (G), as shown in figure 4.



















