
Handling instructions
DV 18DGAL

![]()
GENERAL POWER TOOL SAFETY WARNINGS
WARNING
Read all safety warnings, instructions, illustrations, and specifications provided with this power tool. Failure to follow all instructions listed below may result in electric shock. fire and/or serious injury. Save all warnings and instructions for future reference. The term “power tool’ in the warnings refers to your mains-operated (corded) power tool or battery-operated (cordless) power tool.
- Work area safety
a) Keep the work area clean and well-lit. Cluttered or dark areas invite accidents.
b) Do not operate power tools in explosive atmospheres, such as in the presence of flammable liquids, gases or dust. Power tools create sparks that may ignite dust or fumes.
c) Keep children and bystanders away while operating a power tool. Distractions can cause you to lose control. - Electrical safety
a) Power tool plugs must match the outlet. Never modify the plug in any way. Do not use any adapter plugs with earthed (grounded) power tools. Unmodified plugs and matching outlets will reduce the risk of electric shock.
b) Avoid body contact with earthed or grounded surfaces, such as pipes, radiators, ranges, and refrigerators. There is an increased risk of electric shock if your body is earthed or grounded.
c) Do not expose power tools to rain or wet conditions. Water entering a power tool will increase the risk of electric shock.
d) Do not abuse the cord. Never use the cord for carrying, pulling or unplugging the power tool. Keep cord away from heat, oil, sharp edges or moving parts. Damaged or entangled cords increase the risk of electric shock.
e) When operating a power tool outdoors, use an extension cord suitable for outdoor use. The use of a cord suitable for outdoor use reduces the risk of electric shock. f) if operating a power tool in a damp location is unavoidable, use a residual current device (RCD) protected supply. The use of an RCD reduces the risk of electric shock - Personal safety
a) Stay alert, watch what you are doing, and use common sense when operating a power tool. Do not use a power tool while you are tired or under the influence of drugs, alcohol or medication. A moment of inattention while operating power tools may result in serious personal injury.
b) Use personal protective equipment. Always wear eye protection. Protective equipment such as a dust mask, non-skid safety shoes, hard hat or hearing protection used for appropriate conditions will reduce personal injuries.
c) Prevent unintentional starting. Ensure the switch is In the off-position before connecting to a power source and/or battery pack, picking up or carrying the tool. Carrying power tools with your finger on the switch or energizing power tools that have the switch on invites accidents.
d) Remove any adjusting key or wrench before turning the power tool on. A wrench or a key left attached to a rotating part of the power tool may result in personal injury.
e) Do not overreach. Keep proper footing and balance at all times. This enables better control of the power tool in unexpected situations.
f) Dress properly. Do not wear loose clothing or jewelry. Keep your hair and clothing away from moving parts. Loose clothes. jewelry or long hair can be caught in moving parts.
g) If devices are provided for the connection of dust extraction and collection facilities, ensure these are connected and properly used. The use of dust collection can reduce dust-related hazards.
h) Do not let familiarity gained from frequent use of tools allow you to become complacent and ignore tool safety principles. A careless action can cause severe injury within a fraction of a second. - Power tool use and care
a) Do not force the power tool. Use the correct power tool for your application. The correct power tool will do the job better and safer at the rate for which it was designed.
b) Do not use the power tool if the switch does not turn It on and off. Any power tool that cannot be controlled with the switch is dangerous and must be repaired.
c) Disconnect the plug from the power source and/ or remove the battery pack, if detachable, from the power tool before making any adjustments, changing accessories, or storing power tools. Such preventive safety measures reduce the risk of starting the power tool accidentally.
d) Store idle power tools out of the reach of children and do not allow persons unfamiliar with the power tool or these instructions to operate the power tool. Power tools are dangerous in the hands of untrained users.
f) keep cutting tools sharp and clean. Properly maintained cutting tools with sharp cutting edges are less likely to bind and are easier to control.
g) Use the power tool, accessories and tool bits, etc. in accordance with these Instructions, taking Into account the working conditions and the work to be performed. Use of the power tool for operations different from those intended could result in a hazardous situation.
h) Keep handles and grasping surfaces dry, clean, and free from oil and grease. Slippery handles and grasping surfaces do not allow for safe handling and control of the tool in unexpected situations. - Battery tool use and care
a) Recharge only with the charger specified by the manufacturer. A charger that is suitable for one type of battery pack may create a risk of fire when used with another battery pack.
b) Use power tools only with specifically designated battery packs. Use of any other battery packs may create a risk of injury and fire.
c) When the battery pack is not in use, keep it away from other metal objects, like paper clips, coins, keys, nails, screws or other small metal objects, that can make a connection from one terminal to another. Shorting the battery terminals together may cause burns or a fire.
d) Under abusive conditions, liquid may be ejected from the battery; avoid contact. If contact accidentally occurs, flush with water. If liquid contacts eyes, additionally seek medical help. Liquid ejected from the battery may cause irritation or burns.
e) Do not use a battery pack or tool that is damaged or modified. Damaged or modified batteries may exhibit unpredictable behavior resulting in fire, explosion, or risk of injury.
f) Do not expose a battery pack or tool to fire or excessive temperature. Exposure to fire or temperature above 130°C may cause an explosion.
g) Follow all charging instructions and do not charge the battery pack or tool outside the temperature range specified in the instructions. Charging improperly or at temperatures outside the specified range may damage the battery and increase the risk of fire. - Service
a) Have your power tool serviced by a qualified repair person using only identical replacement parts. This will ensure that the safety of the power tool is maintained.
b) Never service damaged battery packs. Service of battery packs should only be performed by the manufacturer or authorized service providers. PRECAUTION Keep children and infirm persons away. When not in use, tools should be stored out of reach of children and infirm persons.
CORDLESS COMB! DRILL SAFETY WARNINGS
Safety instructions for all operations
a) Wear ear protectors when impact drilling. Exposure to noise can cause hearing loss.
b) Hold the power tool by insulated gripping surfaces, when performing an operation where the cutting accessory may contact hidden wiring. Cutting accessory contacting a “live” wire may make exposed metal parts of the power tool “live” and could give the operator an electric shock.
Safety instructions when using long drill bits
a) Never operate at a higher speed than the maximum speed rating of the drill bit. At higher speeds, the bit is likely to bend if allowed to rotate freely without contacting the workpiece, resulting in personal injury.
b) Always start drilling at low speed and with the bit tip in contact with the workpiece. At higher speeds, the bit is likely to bend if allowed to rotate freely without contacting the workpiece, resulting in personal injury.
c) Apply pressure only in direct line with the bit and do not apply excessive pressure. Bits can bend causing breakage or loss of control, resulting in personal injury.
ADDITIONAL SAFETY WARNINGS
- Make sure that the area to be drilled is absolutely free of any hidden obstructions including electrical wiring, water, or gas pipes. Drilling into the aforementioned may result in electric shock or short circuit, gas leak or other hazards that can cause serious accidents or injuries.
- Make sure to securely hold the tool during operation. Failure to do so can result in accidents or injuries. (Fig. 12)
- Secure the workpiece. A workpiece clamped with clamping devices or in a vice is held more secure than by hand.
- Setting up and checking the work environment. Check if the work environment is suitable by following the precaution.
- Do not allow foreign matter to enter the hole for connecting the rechargeable battery.
- Never disassemble the rechargeable battery and charger.
- Never short-circuit the rechargeable battery. Shortcircuiting the battery will cause a great electric current and overheating. It results in bum or damage to the battery.
- Do not dispose of the battery in fire. If the battery is burnt, it may explode.
- Bring the battery to the shop from which it was purchased as soon as the post-charging battery life becomes too short for practical use. Do not dispose of the exhausted battery.
- Do not insert objects into the air ventilation slots of the charger. Inserting metal objects or inflammable into the charger air ventilation slots will result in electrical shock hazards or damaged chargers.
- When mounting a bit into the keyless chuck, tighten the sleeve adequately. If the sleeve is not tight, the bit may slip or fall out, causing injury.
- When changing the rotational speed with the shift knob, confirm that the switch is off. Changing the speed while the motor is rotating will damage the gears.
- The clutch dial cannot be set between the numerals “1, 3, 5 … 22” or the dots, and do not use with the clutch dial numeral between “22” and the line at the middle of the drill mark. Doing so may cause damage.
- Always use this unit with clockwise rotation, when using it as an impact drill.
- Resting the unit after continuous work.
- The motor may stop in the event the tool is overloaded. In this should occur, release the tool’s switch and eliminate the cause of the overload.
- The motor rotation may be locked to cease while the unit is used as a drill. While operating the driver-drill, take care not to lock the motor.
- If the motor is locked, immediately turn the power off. If the motor is locked for a while, the motor or battery may be burnt.
- The use of the battery in a cold condition (below 0 degrees Centigrade) can sometimes result in weakened tightening torque and a reduced amount of work. This, however, is a temporary phenomenon and returns to normal when the battery warms up.
- Do not look directly into the light. Such actions could result in eye injury. 21. Stow the bit in the specified location on the tool. If the tool is used with the bit stowed improperly, the bit may fall and cause bodily injury
- Stow the bit in the specified location on the tool. If the tool is used with the bit stowed improperly, the bit may fall and cause bodily injury.
- Do not stow bits that are of a different length, gauge or dimension than the plus driver bit (65 mm long) included in the STANDARD ACCESSORIES. The bit may fall and cause bodily injury.
- Always use the tool and battery at temperatures between -5°C and 40°C. 24. Always charge the battery at an ambient temperature of 0-40°C.
CAUTION ON LITHIUM-ION BATTERY
To extend the lifetime, the lithium-ion battery equips with the protection function to stop the output. In the cases of 1 to 3 described below, when using this product, even if you are pulling the switch, the motor may stop. This is not the trouble but the result of the protection function.
- When the battery power remaining runs out, the motor stops. In such a case, charge it up immediately.
- If the tool is overloaded, the motor may stop. In this case, release the switch of tool and eliminate causes of overloading. After that, you can use it again.
- If the battery is overheated under overload work, the battery power may stop. In this case, stop using the battery and let the battery cool. After that, you can use it again. Furthermore, please heed the following warning and caution.
WARNING
In order to prevent any battery leakage, heat generation, smoke emission, explosion, and ignition beforehand, please be sure to heed the following precautions.
- Make sure that the swarf and dust do not collect on the battery.
O During work makes sure that swarf and dust do not fall on the battery.
O Make sure that any swarf and dust falling on the power tool during work do not collect on the battery.
O Do not store an unused battery in a location exposed to swarf and dust. - Do not pierce the battery with a sharp object such as a nail, strike with a hammer, step on, throw or subject the battery to severe physical shock.
- Do not use an apparently damaged or deformed battery.
- Do not use the battery in reverse polarity.
- Do not connect directly to electrical outlets or car cigarette lighter sockets.
- Do not use the battery for a purpose other than those specified.
- If the battery charging fails to complete even when a specified recharging time has elapsed, immediately stop further recharging.
- Do not put or subject the battery to high temperatures or high pressure such as into a microwave oven, dryer, or high-pressure container.
- Keep away from fire immediately when leakage or foul odor are detected.
- Do not use in a location where strong static electricity generates.
- If there is battery leakage, foul odor, heat generated, discolored or deformed, or in any way appears abnormal during use, recharging or storage, immediately remove it from the equipment or battery charger, and stop use.
- Do not immerse the battery or allow any fluids to flow inside. Conductive liquid ingress, such as water, can cause damage resulting in fire or explosion. Store your battery in a cool, dry place, away from combustible and flammable items. Corrosive gas atmospheres must be avoided.
CAUTION
- If liquid leaking from the battery gets into your eyes, do not rub your eyes and wash them well with fresh clean water such as tap water and contact a doctor immediately. If left untreated, the liquid may cause eye problems.
- If liquid leaks onto your skin or clothes, wash well with clean water such as tap water immediately. There is a possibility that this can cause skin irritation.
- If you find rust, foul odor, overheating, discolor, deformation, and/or other irregularities when using the battery for the first time, do not use and return it to your supplier or vendor.
WARNING
If a conductive foreign matter enters in the terminal of the lithium-ion battery, the battery may be shorted, causing a fire. When storing the lithium-ion battery, obey surely the rules of following contents.
- Do not place conductive debris, nail, and wires such as iron wire and copper wire in the storage case.
- To prevent shorting from occurring, load the battery in the tool or insert securely the battery cover for storing until the ventilator is not seen.
REGARDING LITHIUM-ION BATTERY TRANSPORTATION
When transporting a lithium-ion battery, please observe the following precautions.
WARNING
Notify the transporting company that a package contains a lithium-ion battery, inform the company of its power output, and follow the instructions of the transportation company when arranging transport.
- Lithium-ion batteries that exceed a power output of 100 Wh are considered to be in the freight classification of Dangerous Goods and will require special application procedures.
- For transportation abroad, you must comply with international law and the rules and regulations of the destination country.

SYMBOLS
WARNING
The following show symbols used for the machine. Be sure that you understand their meaning before use.
![]() | DV18DGAL: Cordless Combi Drill |
| To reduce the risk of injury, the user must read the instruction manual. | |
![]() | Only for EU countries Do not dispose of electric tools together with household waste material! In observance of European Directive 2012/19/EU on waste electrical and electronic equipment and its implementation in accordance with national law, electric tools that have reached the end of their life must be collected separately and returned to an environmentally compatible recycling facility. |
| Direct current | |
| V | Rated voltage |
| no | No-load speed |
| min-1 | Oscillation per minute |
| Bpm | Impact rate |
| Ls | Low speed |
| Hs | High speed |
![]() | Brick |
| Wood | |
| Metal | |
| Machine screw | |
| Wood screw | |
| Drill chuck capacity | |
| Weight* (According to EPTA-Procedure 01/2014) | |
| Drilling | |
| Impact drilling | |
| Switching ON | |
| Switching OFF | |
| Disconnect the battery | |
| Change rotation speed – High speed | |
| Change rotation speed – Low speed | |
| Clockwise rotation | |
| Counterclockwise rotation |
* Depending on attached battery. The heaviest weight is measured with BSL36B18 (sold separately).
STANDARD ACCESSORIES
In addition to the main unit (1 unit), the package contains the accessories listed on page 9. Standard accessories are subject to change without notice.
APPLICATIONS
- Drilling of brick and concrete blocks, etc.
- Driving and removing machine screws, wood screws, tapping screws, etc.
- Drilling of various metals
- Drilling of various woods
SPECIFICATIONS
The specifications of this machine are listed in the Table on page 9.
NOTE Due to HiKOKI’s continuing program of research and development, the specifications herein are subject to change without prior notice.
CHARGING
Before using the power tool, charge the battery as follows.
- Connect the charger’s power cord to the receptacle.
When connecting the plug of the charger to a receptacle, the pilot lamp will blink in red (At 1- second intervals).
CAUTION
Do not use the electrical cord is damaged. Has it been repaired immediately? - Insert the battery into the charger.
Firmly insert the battery into the charger as shown in Fig. 2. - Charging
When inserting a battery in the charger, charging will commence and the pilot lamp will light continuously in red. When the battery becomes fully recharged, the pilot lamp will blink in red. (At 1-second intervals) (See Table 1)
- Pilot lamp indication The indications of the pilot lamp will be as shown in Table 1, according to the condition of the charger or the rechargeable battery.
Table 1
| Indications of the pilot lamp | |||
| Pilot lamp (red) | Before charging | Blinks Lights for 0.5 seconds. Do not light for 0.5 seconds. (off for 0.5 seconds) | |
| While charging | Lights Lights continuously | ||
| Charging complete | Blinks Lights for 0.5 seconds. Do not light for 0.5 seconds. (off for 0.5 seconds) | ||
| Overheat standby | Blinks Lights for 1 second. Do not light for 0.5 seconds. (off for 0.5 seconds) | Battery overheated. Unable to charge. (Charging will commence when the battery cools) | |
| Charging impossible | Flickers Lights for 0.1 seconds. Do not light for0.1 seconds. (off for 0.1 seconds) | Malfunction in the battery or the charger | |
- Regarding the temperatures and charging time of the battery. The temperatures and charging time will become as shown in Table 2
Table 2
| Charger Battery | UC18YKSL | UC18YFSL | |
| Charging voltage | V | 14.4 V-18 V | |
| Weight | kg | 0.35 | 0.5 |
| Temperatures at which the battery can be recharged | 0°C-50°C | ||
| Charging time for battery capacity, approx. (At 20°C) | |||
| 1.3Ah | min | 35 | 20 |
| 1.5Ah | min | 40 | 22 |
| 2.0Ah | min | 60 | 30 |
| 2.5Ah | min | 75 | 35 |
| 3.0Ah | min | N | 45 |
| 4.0Ah | min | 120 | 60 |
| 5.0Ah | min | 150 | 75 |
| 6.0Ah | min | 180 | 90 |
| 8.0Ah | min | 240 | 120 |
| Number of battery cells | 4-10 | ||
NOTE
The recharging time may vary according to the ambient temperature and power source voltage.
CAUTION
When the battery charger has been continuously used, the battery charger will be heated, thus constituting the cause of the failures. Once the charging has been completed, give 15 minutes rest until the next charging.
4. Disconnect the charger’s power cord from the receptacle.
5. Hold the charger firmly and pull out the battery.
NOTE
Be sure to pull out the battery from the charger after use, and then keep it.
CAUTION
- If the battery is charged while it is heated because it has been left for a long time in a location subject to direct sunlight or because the battery has just been used, the pilot lamp of the charger lights for 1 second, does not light for 0.5 seconds (off for 0.5 seconds). In such a case, first let the battery cool, then start charging.
- When the pilot lamp flickers (at 0.2-second intervals), check for and take out any foreign objects in the charger’s battery connector. If there are no foreign objects, it is probable that the battery or charger is malfunctioning. Take it to your authorized Service Center.
- Since the built-in microcomputer takes about 3 seconds to confirm that the battery being charged with the charger is taken out, wait for a minimum of 3 seconds before reinserting it to continue charging. If the battery is reinserted within 3 seconds, the battery may not be properly charged.
MOUNTING AND OPERATION
| Action | Figure | Page |
| Removing and inserting the battery | 1 | 10 |
| Charging | 2 | 10 |
| Tightening torque adjustment | 3 | 10 |
| Selecting the drill position | 4 | 10 |
| Selecting the impact position | 5 | 10 |
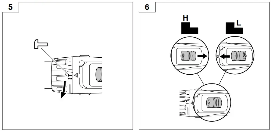
| Change rotation speed | 6 | 10 |
| How to use the LED light | 7 | 11 |
| Mounting the bit | 8 | 11 |
| Reversing the rotational direction | 9 | 11 |
| Switch operation | 10 | 11 |
| Using the bit holder | 11 | 11 |
| Selecting accessories | — | 12 |
MAINTENANCE AND INSPECTION
- Inspecting the tool Since use of a dull tool will degrade efficiency and cause possible motor malfunction, sharpen or replace the tool as soon as abrasion is noted.
- Inspecting the mounting screws Regularly inspect all mounting screws and ensure that they are properly tightened. Should any of the screws be loose, retighten them immediately. Failure to do so could result in serious hazards.
- Maintenance of the motor unit winding is the very “heart” of the power tool. Exercise due care to ensure the winding does not become damaged and/or wet with oil or water.
- Cleaning on the outside When the driver drill is stained, wipe with a soft dry cloth or a cloth moistened with soapy water. Do not use chloric solvents, gasoline or paint thinner, for they melt plastics.
- Storage Store the power tool and the battery in a place in which the temperature is less than 40°C and out of reach of children.
NOTE
Storing lithium-ion batteries. Make sure the lithium-ion batteries have been fully charged before storing them. Prolonged storage (3 months or more) of batteries with a low charge may result in performance deterioration, significantly reducing battery usage time or rendering the batteries incapable of holding a charge. However, significantly reduced battery usage time may be recovered by repeatedly charging and using the batteries two to five times. If the battery usage time is extremely short despite repeated charging and use, consider the batteries dead and purchase new batteries.
CAUTION
In the operation and maintenance of power tools, the safety regulations and standards prescribed in each country must be observed.
Important notice on the batteries for the HIKOKI cordless power tools
Please always use one of our designated genuine batteries. We cannot guarantee the safety and performance of our cordless power tool when used with batteries other than those designated by us, or when the battery is disassembled and modified (such as disassembly and replacement of cells or other internal parts).
GUARANTEE
We guarantee HiKOKI Power Tools in accordance with statutory/country-specific regulations. This guarantee does not cover defects or damage due to misuse, abuse, or normal wear and tear. In case of a complaint, please send the Power Tool, undismantled, with the GUARANTEE CERTIFICATE found at the end of this Handling instruction, to a HiKOKI Authorized Service Center.
Information concerning airborne noise and vibration
The measured values were determined according to EN62841 and declared in accordance with ISO 4871.
Measured A-weighted sound power level: 93 dB (A) Measured A-weighted sound pressure level: 82 dB (A) Uncertainty K: 3 dB (A).
Wear hearing protection.
Vibration total values (triax vector sum) determined according to EN62841.
Driving into metal: Vibration emission value ah, D c 2.5 m/s2 Uncertainty K = 1.5 m/s2
Impact drilling into concrete: Vibration emission value ah, ID = 12.1 m/s2 Uncertainty K = 1.5 m/s2
The declared vibration total value and the declared noise emission value have been measured in accordance with a standard test method and may be used for comparing one tool with another. They may also be used in a preliminary assessment of exposure.
WARNING
- The vibration and noise emission during actual use of the power tool can differ from the declared total value depending on the ways in which the tool is used especially what kind of workpiece is processed; and
- Identify safety measures to protect the operator that are based on an estimation of exposure in the actual conditions of use (taking account of all parts of the operating cycle such as the times when the tool is switched oft and when it is running idle in addition to the trigger time).
NOTE
Due to HiKOKI’s continuing program of research and development, the specifications herein are subject to change without prior notice.
TROUBLESHOOTING
Use the inspections in the table below if the tool does not operate normally. If this does not remedy the problem, consult your dealer or the HiKOKI Authorized Service Center.
| Symptom | Possible cause | Remedy |
| The tool doesn’t run | No remaining battery power | Charge the battery. |
| The battery isn’t securely attached. | Push in the battery until a click is heard. | |
| Tool suddenly stopped | Tool was overburdened | Remove the cause of the overburdening. |
| Battery overheated | Allow the battery to thoroughly cool. | |
| Tool bits -can’t be attached -fall oft | The shape of the attachment portion doesn’t match | The chucking diameter of the keyless chuck is 1.5 mm to 13 mm. Use a bit that falls within the stated range. |
| The lock of the keyless chuck is worn | Contact a HiKOKI Authorized Service Center and arrange to have the old keyless chuck replaced with a new one. | |
| Switch can’t be pulled | The Forward/reverse selector button is positioned halfway | Press the button firmly into position for the desired direction of rotation. |
| Screw head slips or comes loose. | Bit number doesn’t match with the screw size | Install a suitable bit. |
| The bit is worn | Replace with a new bit. | |
| Holes can’t be smoothly drilled. | The drill is worn | Replace with a new drill. |
| Rotation speed isn’t appropriate | Adjust the rotation speed (HIGH/LOW) to match the material to be drilled. | |
| The drill is rotating in reverse | Switch to forward rotation. | |
| The pilot lamp is rapidly flickering red, and battery charging doesn’t begin. | The battery is not inserted all the way. | Insert the battery firmly. |
| There is foreign matter in the battery terminal or where the battery is attached. | Remove the foreign matter. | |
| The pilot lamp blinks red, and battery charging doesn’t begin. | The battery is not inserted all the way. | Insert the battery firmly. |
| The battery is overheated. | If left alone, the battery will automatically begin charging if its temperature decreases, but this may reduce battery life. It is recommended that the battery be cooled in a well-ventilated location away from direct sunlight before charging it. | |
| Battery usage time is short even though the battery is fully charged. | The battery’s life is depleted. | Replace the battery with a new one. |
| The battery takes a long time to charge. | The temperature of the battery, the charger, or the surrounding environment is extremely low. | Charge the battery indoors or in another warmer environment. |
| The charger’s vents are blocked, causing its internal components to overheat. | Avoid blocking the vents. | |
| The cooling fan is not running. | Contact a HiKOKI Authorized Service Center for repairs |







GUARANTEE CERTIFICATE
Model No.
Serial No.
Date of Purchase
Customer Name and Address
Dealer Name and Address (Please stamp dealer name and address)
Hikoki Power Tools (U.K.) Ltd.
Precedent Drive, Rooksley, Milton Keynes, MK 13, 8PJ, United Kingdom
Tel: +44 1908 660663
Fax: +44 1908 606642
URL: http://www.hikoki-powertools.uk

DECLARATION OF COMFORMITY
We declare under our sole responsibility that Cordless Combi Drill, identified by type and specific identification code *1), is in conformity with all relevant requirements of the UK regulations *2) and Designated standards *3). Technical file at *4) — See below.
This declaration is applicable to the product affixed UKCA marking.
*1) DV18DGAL C354407R
*2) S.I. 2008/1597, S.I. 2016/1091, S.I. 2016/1101, S.I. 2012/3032
*3) EN62841-1:2015
EN62841-2-1:2018
EN60335-1:2012+A11:2014
EN60335-2-29:2004+A2:2010
EN55014-1:2006+A1:2009+A2:2011
EN55014-2:1997+A1:2001+A2:2008
*4) Importer and an authorized person to compile the technical file Hikoki Power Tools (U.K.) Ltd.
Precedent Drive, Rooksley, Milton Keynes, MK 13, 8PJ, United Kingdom
Head office in Japan
Koki Holdings Co., Ltd. Shinagawa Intercity Tower A, 15-1, Konan 2-Chome, Minato-ku, Tokyo, Japan
30. 6. 2021 a.,
A. Nakagawa
Corporate Officer
Koki Holdings Co., Ltd.
106 C
ode No. 099719713 G
Printed in China




















