HINKLEY 1579 Saturn 1-lt 22 Inch Tall LED Path Light Instruction Manual

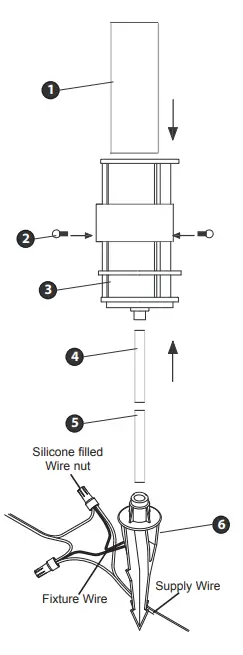
DRAWING 1 – Fixture Installation
start here
- Find a clear area in which you can work.
- Unpack fixture and glass from carton.
- Carefully review instructions prior to assembly
- To begin assembly of fixture connect top (4) and bottom stems (5) together
- Next secure bottom stem (5) to ground spike (6)
- Secure top stem (4) to fixture body (3)
- Slide glass (1) inside of fixture body (3)
- Lock glass (1) in place with the lock up knobs (2) on the side of the fixture
- Fixture can now be mounted and wired
LUMINAIRE MOUNTING: (for typical ground stake mounting)
- To prevent electrical shock, disconnect transformer from electrical supply before installation or service.
- Run wire from Luminaire through mounting hole in top of ground stake.
- Attach Luminaire to ground stake by threading to the mounting hole in stake until it fits snuggly against the bottom of stem.
- Place stake in desired position and insert into ground until the flange of stake is flush with ground.
- Strip the two wire leads from the Luminaire and connect to the main supply wire using the provided silicone filled wirenuts





















