RS-3021 Redstone Built In Electric Fireplace
Owner’s Manual
AC 120V 60Hz 1465W (5000BTUs)
RS-3021 Redstone Built In Electric Fireplace
WARNING
Read and understand this entire owner’s manual, including all safety information, before plugging in or using this product. Failure to do so could result in fire, electric shock, or serious personal injury.
CAUTION
Keep this owner’s manual for future reference. If you sell or give this product away, make sure this manual accompanies this product.
AFFIX SERIAL NUMBER LABEL HERE FOR FUTURE REFERENCE
IMPORTANT SAFETY INFORMATION!
WARNING
- Read all instructions before installing or using this heater.
- Use a dedicated 15 Amp (or higher) breaker.
- This heater is hot when in use. To avoid burns, DO NOT let bare skin touch hot surfaces. If provided, use handles when moving this heater. Keep combustible materials, such as furniture, pillows, bedding, papers, clothes, and curtains at least 3 feet (0.9m) from the front of the heater and keep them away from the sides and rear.
- Extreme caution is necessary when any heater is used by or near children or invalids and whenever the heater is left operating and unattended.
- Do not operate any heater after it malfunctions. Disconnect power at service panel and have heater inspected by a reputable electrician before reusing.
- Do not use outdoors.
- To disconnect heater, turn controls to off, and turn off power to heater circuit at main disconnect panel (or operate internal disconnect switch if provided).
- Do not insert or allow foreign objects to enter any ventilation or exhaust opening as this may cause an electric shock, fire, or damage the heater.
- To prevent a possible fire, do not block air intakes or exhaust in any manner.
- A heater has hot arcing or sparking parts inside. Do not use in areas where gasoline, paint, flammable vapors, or liquids are used or stored.
- Use this heater only as described in this manual. Any other use not recommended by the manufacturer may cause fire, electric shock, or injury to persons.
- This heater may include an audible or visual alarm to warn that parts of the heater are getting excessively hot. If the alarm sounds (or illuminates), immediately turn the heater off and inspect for any objects on or adjacent to the heater that may have blocked the airflow or otherwise caused high temperatures to have occurred. DO NOT OPERATE THE HEATER WITH THE ALARM SOUNDING (OR ILLUMINATING).
- ALWAYS plug heaters directly into a wall outlet/receptacle. NEVER use with an extension cord or relocatable power tap (outlet/power strip).
- NEVER use this heater in bathrooms, laundry rooms, or any other location where the heater could fall into a bathtub, pool, become damp, or come in contact with water.
- AVOID FIRE! Regularly inspect all air vents to make sure they are free from dust, lint, or other blockage. Unplug the unit and clean with a vacuum ONLY. DO NOT rinse or get wet.
- ALWAYS mount to wall bracket before use. DO NOT set on the floor, or other surface, to use.
- NEVER use a wall mount bracket from another manufacturer.
- This product is not intended to be a primary heat source. It is for supplemental heat only.
- ALWAYS disconnect this unit from the power supply before performing any assembly or cleaning, or before relocating the electric fireplace.
- ALWAYS store this heater in a dry location. NEVER use the fireplace if it has become wet.
- NEVER plug this heater into an outlet that is old, cracked, or has any loose wires or connections. Plugging this heater into a faulty outlet could result in electric arcing within the outlet that could cause the outlet to overheat or catch fire.
- ALWAYS check your heater cord and plug connections with each use.
i) MAKE SURE the plug fits tight in the outlet. Faulty wall outlet connections or loose plugs can cause the outlet to overheat.
ii) Heaters draw more current than small appliances. Overheating may occur even if it has not occurred with the use of other appliances.
iii) During use check frequently to see if the plug outlet or face plate is HOT.
iv) If the outlet or face plate is HOT, discontinue use immediately and have a qualified electrician inspect and/or replace the faulty outlets. - SAVE THESE INSTRUCTIONS.
Preparation
This product includes a GLASS panel. Always use extreme caution when handling glass.
Failure to do so could result in personal injury or property damage.
Due to the many different materials used on different walls, it is highly recommended that you consult your local builder before you install this fireplace.
Remove all parts and hardware from the carton and place them on a clean, soft, dry surface. Parts and assembly steps are grouped for wall-hanging or recessing use. Check the parts list to make sure nothing is missing. Dispose of packaging materials properly. Please recycle whenever possible.
You will need the following tools (not included): Phillips screwdriver, stud finder, level, tape measure, electric drill, 1/4” wood drill bit, hammer.
Parts and Hardware

Specification and Dimensions

| PRODUCT DIMENSIONS WITH 5/8” (16mm) TRIM | |||||||
| Model Number | A | B | C | D | E | F | G |
| RS-2621 | 24″ [610mm] | 18- 7/8″ [479mm] | 9- 7/8″ [250mm] | 22- 3/4″ [578mm] | 18- 1/2″ [470mm] | 9- 1/4″ [234mm] | 22- 3/4″ [578mm] |
| RS-3021 | 29-1/4″ [743mm] | 18- 7/8″ [479mm] | 9- 7/8″ [250mm] | 28″ [710mm] | 18- 1/2″ [470mm] | 9- 1/4″ [234mm] | 28″ [710mm] |
| RS-3626 | 33-3/4″ [857mm] | 24″ [610mm] | 9- 7/8″ [250mm] | 32-3/8″ [824mm] | 23- 5/8″ [600mm] | 9- 1/4″ [234mm] | 32-3/8″ [824mm] |
| RS-4229 | 39-3/4″ [1009mm] | 27″ [686mm] | 9- 7/8″ [250mm] | 38-1/2″ [977mm] | 26- 5/8″ [676mm] | 9- 1/4″ [234mm] | 38-1/2″ [977mm] |
| RS-5435 | 52″ [1322mm] | 33″ [838mm] | 12″ [305mm] | 50-11/16″ [1288mm] | 32- 5/8″ [829mm] | 11- 3/8″ [289mm] | 50-3/4″ [1290mm] |
| Model Number | H | I | J | K | L | M |
| RS-2621 | 15- 3/8″ [390mm] | 4- 5/16″ [110mm] | 1- 1/2″ [38mm] | 70- 7/8″ [1800mm] | 17- 3/4″ [450mm] | 18- 1/8″ [460mm] |
| RS-3021 | 15- 3/8″ [390mm] | 4- 5/16″ [110mm] | 1- 1/2″ [38mm] | 70- 7/8″ [1800mm] | 17- 3/4″ [450mm] | 23- 3/8″ [593mm] |
| RS-3626 | 20-1/2″ [521mm] | 4- 5/16″ [110mm] | 1- 1/2″ [38mm] | 70- 7/8″ [1800mm] | 22- 3/4″ [580mm] | 27- 3/4″ [707mm] |
| RS-4229 | 23-1/2″ [597mm] | 4- 5/16″ [110mm] | 1- 1/2″ [38mm] | 70- 7/8″ [1800mm] | 25- 3/4″ [655mm] | 33- 3/4″ [858mm] |
| RS-5435 | 29-1/2″ [749mm] | 4- 5/16″ [110mm] | 1- 1/2″ [38mm] | 70- 7/8″ [1800mm] | 31- 5/8″ [803mm] | 45- 1/8″ [1146mm] |

| PRODUCT DIMENSIONS WITH 1-5/8” (41mm) TRIM | |||||||
| Model Number | A | B | C | D | E | F | G |
| RS-2621 | 26″ [660mm] | 20- 7/8″ [529mm] | 9- 7/8″ [250mm] | 22- 3/4″ [578mm] | 18- 1/2″ [470mm] | 9- 1/4″ [234mm] | 22- 3/4″ [578mm] |
| RS-3021 | 31-1/4″ [793mm] | 20- 7/8″ [529mm] | 9- 7/8″ [250mm] | 28″ [710mm] | 18- 1/2″ [470mm] | 9- 1/4″ [234mm] | 28″ [710mm] |
| RS-3626 | 35-3/4″ [907mm] | 26″ [660mm] | 9- 7/8″ [250mm] | 32-3/8″ [824mm] | 23- 5/8″ [600mm] | 9- 1/4″ [234mm] | 32-3/8″ [824mm] |
| RS-4229 | 41-3/4″ [1059mm] | 29″ [736mm] | 9- 7/8″ [250mm] | 38-1/2″ [977mm] | 26- 5/8″ [676mm] | 9- 1/4″ [234mm] | 38-1/2″ [977mm] |
| RS-5435 | 54″ [1372mm] | 35″ [888mm] | 12″ [305mm] | 50-11/16″ [1288mm] | 32- 5/8″ [829mm] | 11- 3/8″ [289mm] | 50-3/4″ [1290mm] |
| Model Number | H | I | J | K | L | M |
| RS-2621 | 15- 3/8″ [390mm] | 4- 5/16″ [110mm] | 1- 1/2″ [38mm] | 70- 7/8″ [1800mm] | 17- 3/4″ [450mm] | 18- 1/8″ [460mm] |
| RS-3021 | 15- 3/8″ [390mm] | 4- 5/16″ [110mm] | 1- 1/2″ [38mm] | 70- 7/8″ [1800mm] | 17- 3/4″ [450mm] | 23- 3/8″ [593mm] |
| RS-3626 | 20-1/2″ [521mm] | 4- 5/16″ [110mm] | 1- 1/2″ [38mm] | 70- 7/8″ [1800mm] | 22- 3/4″ [580mm] | 27- 3/4″ [707mm] |
| RS-4229 | 23-1/2″ [597mm] | 4- 5/16″ [110mm] | 1- 1/2″ [38mm] | 70- 7/8″ [1800mm] | 25- 3/4″ [655mm] | 33- 3/4″ [858mm] |
| RS-5435 | 29-1/2″ [749mm] | 4- 5/16″ [110mm] | 1- 1/2″ [38mm] | 70- 7/8″ [1800mm] | 31- 5/8″ [803mm] | 45- 1/8″ [1146mm] |
Installation and Assembly
Select a suitable location that is not susceptible to moisture and is away from drapes, furniture, and high traffic areas. NOTE: Follow all National and local electrical codes.
MINIMUM CLEARANCE TO COMBUSTIBLES
| Measurements are taken from the glass front. | |||
| Bottom | 0″ | Top | 11.8″ (300mm) to mantel |
| Sides | 0″ | Top | 11.8″ (300mm) to ceiling |
| Back | 0″ | ||
WARNING
WHEN USING PAINT OR LACQUER TO FINISH THE MANTEL, THE PAINT OR LACQUER MUST BE HEAT RESISTANT TO PREVENT DISCOLOURATION.
Power
Plug the power cord into a dedicated 110~120 Volt 15 Amp grounded outlet (see IMPORTANT SAFETY INFORMATION on Pages 2 and 3). Make sure the outlet is in good condition and the plug is not loose. NEVER exceed the maximum amperage for the circuit. DO NOT plug other appliances into the same circuit.
Built-In Installation
This fireplace is designed to be installed in two different methods:
- Built-In Mounted (mounted in a wall that has been custom framed for this fireplace).
a. Electrical power to be hardwired. - Insert Mounted (inserted into an existing fireplace).
a. Electrical power to be plugged in to receptacle (power cord supplied).
Wall Preparation
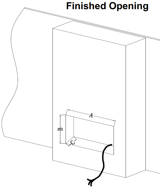
A. Select a location that is not prone to moisture and is located at least 36” (914mm) away from combustible materials such as curtain drapes, furniture, bedding, paper, etc.
B. Create a finished opening with electrical (see below).
C. Hold the fireplace up to ensure it will fit into the framing.

| Model Number | A | B | C |
| RS-2621 | 23″ (584mm) | 18-3/4″ (477mm) | 10” (254mm) |
| RS-3021 | 28- 1/4″ (718mm) | 18-3/4″ (477mm) | 10” (254mm) |
| RS-3626 | 32- 5/8″ (829mm) | 23-7/8″ (607mm) | 10” (254mm) |
| RS-4229 | 38- 3/4″ (985mm) | 26-3/4″ (680mm) | 10” (254mm) |
| RS-5435 | 50- 15/16″ (1294mm) | 32-3/4″ (832mm) | 12” (305mm) |
Hard Wiring Power-In
WARNING
TURN OFF THE FIREPLACE COMPLETELY AND LET COOL BEFORE SERVICING. ONLY A QUALIFIED SERVICE PERSON SHOULD SERVICE AND REPAIR THIS ELECTRIC FIREPLACE.
Note: A qualified electrician must remove the supplied plug and cable and wire the fireplace directly to the household wiring. NOTE: A dedicated 15 Amp (or higher) breaker is required. This fireplace must be electrically connected and grounded in accordance with local codes. In the absence of local codes, use the current CSA C22.1 CANADIAN ELECTRICAL CODE in Canada or the current ANSI/NFPA 70 NATIONAL ELECTRICAL CODE in the United States.
A. Turn off power from the circuit breaker first.
B. Remove the cover plate from the right-side bottom of the fireplace by removing the three screws as shown in the figures below.
C. Remove the wire connectors from the power cord as shown below. The power cord may be discarded

D. Take new cover plate supplied in the hardware bag and punch out the 7/8″ (22mm) hole. Install box connector through hole in cover plate. Feed wires through box connector.
E. Using the wire connectors, connect the three wires appropriately (Green (G) is ground, White (W) is common/neutral, and Black (L) is the hot/line connection. Re-install the cover plate using the three screws, as shown below.

Remove Front Glass
A. With one hand on the front glass to prevent it from falling, remove the screws from the top of the glass. Set the screws aside.
B. Lean the glass towards you. With hands on each side of the glass, carefully lift the front glass up and away from the fireplace. Place it face-down on a soft, non-abrasive surface.
C. Reverse these steps to install the front glass.

NOTE: PLEASE DO NOT LIFT THE GLASS UP BY LIFTING THE “U” SHAPE METAL BRACKET.
Choose Trim Size
The fireplace is shipped with the 5/8 inch (16mm) trim already attached to the fireplace. Included in the box with the fireplace is a thicker 1-5/8 inch (41mm) trim. Either trim can be installed and is up to the discretion of the installer.
To remove and install trim:
- Remove trim screws with Philips screwdriver (screws located around the perimeter of the trim).
- Remove old trim.
- Install new trim in reverse order. (additional screws are provided in the hardware kit if needed)
Extra wide trim sets are available and sold separately. See last section in this manual for sizes.
Install Fireplace
A. Remove power cord from rear of fireplace and complete hard-wiring (see “hard-wiring installation” section, page 8 in this manual).
B. Insert the fireplace into opening and adjust feet to desired height. Secure by installing 4 screws (supplied) through the side holes.
C. Cover screw heads by using the plastic screw covers (provided).
D. Install Glacier Crystals and Logs
Install logs first. Connect log-set by plugging the connector to the socket as shown below.
Add Glacier Crystals around logs.

Install glass front in reverse order from removal.
Insert Installation
This fireplace is designed to be installed in two different methods:
- Built-In Mounted (mounted in a wall that has been custom framed for this fireplace).
a. Electrical power to be hardwired. - Insert Mounted (inserted into an existing fireplace).
a. Electrical power to be plugged in to receptacle (power cord supplied).
Preparation (Insert into existing fireplace)
A. Remove all debris from existing fireplace.
B. Have a qualified electrician wire an electrical outlet to the rear or side of the existing fireplace. 
NOTE: A dedicated 15 Amp (or higher) breaker is required. This fireplace must be electrically connected and grounded in accordance with local codes. In the absence of local codes, use the current CSA C22.1 CANADIAN ELECTRICAL CODE in Canada or the current ANSI/NFPA 70 NATIONAL ELECTRICAL CODE in the United States.
Remove Front Glass
A. With one hand on the front glass to prevent it from falling, remove the screws from the top of the glass. Set the screws aside.
B. Lean the glass towards you. With hands on each side of the glass, carefully lift the front glass up and away from the fireplace. Place it face-down on a soft, non-abrasive surface.
C. Reverse these steps to install the front glass.
NOTE: PLEASE DO NOT LIFT THE GLASS UP BY LIFTING THE “U” SHAPE METAL BRACKET.
Choose Trim Size
The fireplace is shipped with the 5/8 inch (16mm) trim already attached to the fireplace. Included in the box with the fireplace is a thicker 1-5/8 (41mm) inch trim. Either trim can be installed and is up to the discretion of the installer.
To remove and install trim:
- Remove trim screws with Philips screwdriver (screws located around the perimeter of the trim).
- Remove old trim.
- Install new trim in reverse order. (additional screws are provided in the hardware kit if needed)
Extra wide trim sets are available and sold separately. See last section in this manual for sizes.
Install Fireplace
A. Plug-in power cord to power outlet installed inside existing fireplace.
B. Insert the fireplace in the opening until it is fully inserted and adjust feet to desired height. The fireplace is held in place by gravity and friction; no need to use screws.

C. Install logs first. Connect log-set by plugging the connector to the socket as shown below. Add Glacier Crystals.

Install glass front in reverse order from removal.
Operation
Read and understand this entire owner’s manual, including all safety information, before plugging in or using this product. Failure to do so could result in electric shock, fire, serious injury, or death.
Methods of Operation
This electric fireplace can be operated by the TOUCH ON CONTROL PANEL, located on the UPPER right corner of the fireplace or by the battery-powered REMOTE CONTROL. 
Control Panel
| BUTTON | FUNCTION | ACTION & INDICATION | |||||||||||||||||||||||||||||||||||||||
![]() | ON: Enables control panel functions and remote control. Turns on flame. OFF: Disables control panel functions and remote control. Turns off flame. | 1. Press once: Indicator light turns on. Power turns on. All functions enabled. 2. Press again: Flame turns off. Unit goes to standby. All functions turn off. | |||||||||||||||||||||||||||||||||||||||
![]() | MEDIA BED button: Turns on media bed and changes color. NOTE: this fireplace has memory function for ember bed. | 1. Press once: Turns on ember bed. 2. Press again until desired color is reached. In total ten colors and one fade mode.01-02-03-04-05-06-07-08-09-10-11 | |||||||||||||||||||||||||||||||||||||||
![]() | FLAME button: Changes flame color. NOTE: this fireplace has memory function for flame. | 1. Press once: Flame color illuminates. 2. Press again until desired color is reached. In total, ten colors for flame and one fade mode from 01-02-03-04-05-06-07- 08-09-10-11 | |||||||||||||||||||||||||||||||||||||||
![]() | HEATER button: Turns heater on and off. NOTE: The heater only works when the flame is on. If the flame is off, the heater will not turn on. NOTE: To prevent overheating, the heater fan will blow cool air for 8-10 seconds before the heater turns on and after the heater turns off. | Turns the heater and blower on/off. Settings: H0 – Heater and blower off H1 – Low Heater on with 733W H2 – High Heater on with 1465W NOTE: Press and hold the heater button for 5 seconds to lock/unlock the heater and thermostat. | |||||||||||||||||||||||||||||||||||||||
![]() | TIMER button: Controls timer settings to turn off fireplace at selected time. Settings range from 30 min to 8 hours. | 1. Press once: Indicator light turns on. Timer defaults to 0.5 hours. 2. Press again until desired setting is reached. | |||||||||||||||||||||||||||||||||||||||
![]() | 1. Press once: Touch panel indicator becomes active. 2. Press again until desired temperature is reached. Digital display shows settings 0-10. Table below shows corresponding temperatures:
NOTE: Press the button for 5 seconds to switch between °C and °F. | ||||||||||||||||||||||||||||||||||||||||

Remote Control Operation
| BUTTON | FUNCTION | ACTION & INDICATION |
![]() | ON: Enables control panel functions and remote control. Turns on flame. OFF: Disables control panel functions and remote control. Turns off flame. | 1. Press once: Indicator light turns on. Power turns on. All functions enabled. 2. Press again. Flame turns off. Unit goes to standby. All functions turn off. |
![]() | Flame speed button: Controls the speed of the flame. There are 4 flame speed settings: 01 (slowest), 02 (Medium), 03 (fast), 04 (fastest) | 1. Press once: Indicates current flame speed. 2. Press again until desired setting is reached. Display shows the setting. The Default setting is 02 (medium speed) |
![]() | FLAME button: Changes flame color. NOTE: this fireplace has memory function for flame. | 1. Press once: Flame color illuminates. 2. Press again until desired color is reached. In total, ten colors for flame and one fade mode from 01-02-03-04-05-06-07- 08-09-10-11 |
![]() | FLAME brightness button: Makes flame dimmer and brighter. | 1. Press once: Flame brightness enabled. 2. Press again until desired setting is reached. From F5-F4-F3-F2-F1-F0 (off) NOTE: To turn off logs, PRESS and HOLD for 5 seconds.. |
![]() | HEATER button: Turns heater on and off. NOTE: The heater only works when the flame is on. If the flame is off, the heater will not turn on. NOTE: To prevent overheating, the heater fan will blow cool air for 8-10 seconds before the heater turns on and after the heater turns off. | Turns the heater and blower on/off. Settings: H0 – Heater and blower off H1 – Low Heater on with 733W H2 – High Heater on with 1465W NOTE: Press and hold the heater button for 5 seconds to lock/unlock the heater and thermostat. | |||||||||||||||||||||||||||||||||||||||
![]() | TIMER button: Controls timer settings to turn off fireplace at selected time. Settings range from 30 min to 8 hours. | 1. Press once: Indicator light turns on. Timer defaults to 0.5 hours. 2. Press again until desired setting is reached. | |||||||||||||||||||||||||||||||||||||||
![]() | 1. Press once: Touch panel indicator becomes active. 2. Press again until desired temperature is reached. Digital display shows settings 0-10. Table below shows corresponding temperatures:
NOTE: Press the button for 5 seconds to switch between °C and °F. | ||||||||||||||||||||||||||||||||||||||||
![]() | MEDIA BED button: Turns on media bed and changes color. NOTE: this fireplace has memory function for ember bed. | 1. Press once: Turns on ember bed. 2. Press again until desired color is reached. In total ten colors and one fade mode.01-02-03-04-05-06-07-08-09-10-11 | |||||||||||||||||||||||||||||||||||||||
![]() | MEDIA brightness button: Makes media bed dimmer and brighter. | 1. Press once: Brightness becomes active. 2. Press again until desired setting is reached. In total 5 levels. From L5 – L4 – L3 – L2 – L1-L0 (off) | |||||||||||||||||||||||||||||||||||||||
![]() | DOWN LIGHT button: Turns on/off down light and changes color. NOTE: this fireplace has memory function for down light. | 3. Press once: Down light color changes. 4. Press again until desired color is reached. In total ten colors and one fade mode.01-02-03-04-05-06-07-08-09-10-11-00 (off) NOTE: Press and hold the media button for 5 seconds. Flame, ember bed, and log light will turn off. | |||||||||||||||||||||||||||||||||||||||
![]() | Press the “HOME” button returns all functions to factory default. | ||||||||||||||||||||||||||||||||||||||||
NOTICE
When the heater is first turned on, a slight odor may be present. This is normal and should not occur again unless the heater is not used for a long period of time.
NOTICE
To improve operation, aim the remote control at the front of the fireplace. DO NOT press the buttons too quickly. Give the unit time to respond to each command.
Temperature Limiting Control
This heater is equipped with a Temperature Limiting Control. Should the heater reach an unsafe temperature, the heater will automatically turn OFF. To reset:
- Remove the power from the fireplace. Wait 5 minutes.
- Inspect the fireplace to make sure no vents are blocked or clogged with dust or lint. If they are, use
a vacuum to clean the vent areas. - Apply power to the fireplace.
- If the problem continues, have your outlet and wiring inspected by a professional.
Remote Control Battery Information
• Remote control uses one CR2025 battery (Included)
NEVER dispose of batteries in fire. Failure to observe this precaution may result in an explosion. Dispose of batteries at your local hazardous material processing center.
Care and Maintenance
Cleaning
ALWAYS turn the heater OFF and remove the power from the fireplace before cleaning, performing maintenance, or moving this fireplace. Failure to do so could result in electric shock, fire, or personal injury.
NEVER immerse in water or spray with water. Doing so could result in electric shock, fire, or personal injury.
Metal:
- Clean using a soft cloth, slightly dampened with soapy water.
- DO NOT use brass polish or household cleaners as these products will damage the metal trim.
Glass: - Use a good quality glass cleaner sprayed onto the cloth or towel. Dry thoroughly with a paper towel or lint-free cloth.
- NEVER use abrasive cleansers, liquid sprays, or any cleaner that could scratch the surface.
Vents: - Use a vacuum or duster to remove dust and dirt from the heater and vent areas.
Plastic: - Wipe gently with a slightly damp cloth and a mild solution of dish soap and warm water.
- NEVER use abrasive cleansers, liquid sprays, or any cleaner that could scratch the surface.
Maintenance
Risk of electric shock! DO NOT OPEN any panels! No user-serviceable parts inside!
ALWAYS turn the heater OFF and remove power from the fireplace before cleaning, performing maintenance, or moving this fireplace. Failure to do so could result in electric shock, fire, or personal injury.
Electrical and Moving Parts:
- The fan motors are lubricated at the factory and will not require lubrication.
- Electrical components are integrated in the fireplace and are not serviceable by the consumer.
Storage: - Store heater in a clean dry place when not in use.
Optional, Extra-Wide Trim
Some “insert “installations require “Extra-Wide Trim” to cover existing fireplace edges. For this purpose, extra-wide black trim sets area available and sold separately. Each set come with an extra bottom piece of trim for low-clearance hearth installations.
| Part Number of Fireplace | Trim Width | Overall Size (with Wide Trim Kit Installed) | Part Number of Trim Kit |
| RS-2621 | 5-inch (127mm) | 32-3/4in (832mm) x 23-1/4in (591mm) (thin bottom trim) 32-3/4in (832mm) x 27-5/8in (702mm) (wide bottom trim) | TK-RS26-3324 |
| 7-inch (178mm) | 36-3/4in (934mm) x 25-1/4in (641mm) (thin bottom trim) 36-3/4in (934mm) x 31-5/8in (803mm) (wide bottom trim) | TK-RS26-3726 | |
| RS-3021 | 5-inch (127mm) | 38in (965mm) x 23-1/4in (591mm) (thin bottom trim) 38in (965mm) x 27-5/8in (702mm) (wide bottom trim) | TK-RS30-3824 |
| 8-inch (203mm) | 44in (1118mm) x 26-1/4in (667mm) (thin bottom trim) 44in (1118mm) x 33-5/8in (854mm) (wide bottom trim) | TK-RS30-4427 | |
| RS-3626 | 4-inch (102mm) | 40-1/2in (1029mm) x 27-3/8in (695mm) (thin bottom trim) 40-1/2in (1029mm) x 30-3/4in (781mm) (wide bottom trim) | TK-RS36-4128 |
| 6-inch (152mm) | 44-1/2in (1130mm) x 29-3/8in (746mm) (thin bottom trim) 44-1/2in (1130mm) x 34-3/4in (883mm) (wide bottom trim) | TK-RS36-4530 | |
| RS-4229 | Not available | Not available | Not available |
| RS-5435 | Not available | Not available | Not available |
NOTE: All kits come with two different size bottom trim pieces.
The “thin bottom trim” is typically used in a low-clearance hearth installation.

Drawing above is for Trim Kit part number TK-RS30-3824 (for illustrative purposes only)
| SPARE PARTS, PART NUMBERS | RS-2621 | RS-3021 | RS-3626 | RS-4229 | RS-5435 |
| FRONT GLASS | 04-00005 | 04-00006 | 04-00007 | 04-00008 | 04-00017 |
| FLAME GLASS | 04-00009 | 04-00010 | 04-00011 | 04-00012 | 04-00018 |
| ACRYLIC PLASTIC PANEL, MF P/N | 03-00013 | 03-00014 | 03-00015 | 03-00016 | 03-00022 |
| STEP MOTOR | 01-00012 | ||||
| BLOWER | 01-00013 | ||||
| HEATER | 01-00014 | ||||
| LED FLAME LIGHT | 01-00003 | ||||
| LED EMBER LIGHT | 01-00015 I 01-00004 I 01-00015 | I 01-00004 I 01-00004 | |||
| LED DOWN LIGHT | 014)0016 | ||||
| REMOTE CONTROL | 01-00017 | ||||
| TOUCH-ON CONTROL PANEL | 01-00006 | ||||
| REMOTE RECEIVER | 01-00018 | ||||
| CIRCUIT BOARD | 01-00019 | I 01-00021 | |||
| THERMOSTAT (NTC) | 01-00009 | ||||
| 5/8 FRONT METAL TRIM KIT (4 PIECES) | 02-00061 | 02-00062 | 02-00063 | 02-00064 | 02-00092 |
| 1-5/8 FRONT METAL TRIM KIT (4 PIECES) | 02-00065 | 02-00066 | 02-00067 | 02-00068 | 02-00093 |
| GLASS FACE FOR TOUCH CONTROL | 04-00015 | ||||
| GLASS FOR MODERN FLAMES LIGHT UP LOGO | N/A | 04-00016 | |||
| LEDS FOR MODERN FLAMES LIGHT UP LOGO | N/A | 01-00020 | |||
| LOG SETS (LITE) | 05-00037 | 05-00038 | 05-00039 | 05-00041 | 05-00041 |
| PLASTIC STRIP, EMBER BED | 03-00017 | 03-00018 | 03-00019 | 03-00020 | 03-00023 |
| REFLECTOR SPINDLE, BOTTOM | N/A | N/A | 02-00069 | 02-00070 | 02-00094 |
| REFLECTOR SPINDLE, TOP | 02-00071 | 02-00072 | 02-00073 | 02-00074 | 02-00095 |
| HARDWARE KIT | 02-00075 | ||||
| CRYSTAL, SMOKED | 03-00021 | ||||
| METAL BRACKET, TOP OF GLASS | 02-00076 | 02-00077 | 02-00078 | 02-00079 | 02-00096 |
| METAL BRACKET, TOP OF FLAME SCREEN | 02-00080 | 02-00081 | 02-00082 | 02-00083 | 02-00097 |
| FLAME ENHANCER | 02-00084 | 02-00085 | 02-00086 | 02-00087 | 02-00098 |
DO NOT RETURN TO STORE!
CALL US FIRST
For immediate help with installation, product information or
if your product arrives damaged, please call our toll-free number at:
1-877-246-9353
(Monday – Friday, 8:00AM – 5:00PM, AZ Mountain Time) Or email us at:
[email protected]
OUR STAFF IS READY TO PROVIDE ASSISTANCE




























