Hoover Range Cooker HPD 90/1NX HPD 90 NX/1 Instruction Manual
Securing the cooker to the wall
Drill two holes in the wall approximately 70 cm above the lower edge of the sides of the cooker (as shown in fig. A position
F, so that they are concealed by the cooker itself (see fig. B).
Insert part R (rawlplug) into holes F and screw hook G into part R (fig. C).
Secure the chain to hook G as shown in fig. D position C




GENERAL INFORMATION DESTINED TO THE END USER
ENVIRONMENT PROTECTION
Packing disposal
Sort packing into different materials (cardboard, polystyrene etc.) and dispose of them in accordance with local waste disposal laws.
This appliance complies with the following European Directives:
- 73/23/EEC regarding “Low Voltage”.
- 89/336/EEC regarding “Electromagnetic Disturbances”.
- 90/396/EEC regarding “Gas appliances”
- 89/109/EEC regarding “Materials in contact with food”
- Moreover the above mentioned Directives comply with Directive 93/68/EEC.
- This household appliance has been designed for cooking and it must therefore be used for this purpose only.
DEAR CUSTOMER,
- Carefully read these instructions before using the appliance and keep them for future consultation.
- Keep potentially hazardous packaging (plastic bags, polystyrene etc.) out of the reach of children.
WARRANTY
Your new appliance is covered by a warranty.
The warranty certificate is herewith enclosed. If it is missing, ask the retailer for it indicating purchasing date, model, and data plate number which are printed on the data nameplate identifing the appliance.
Keep the part destined to you, and in case of necessity, show it to the Technical Service together with the receipt bill.
If you do not follow this procedure, the technical service will be compelled to charge you with all the fees of each eventual reparation.
You can find the original spare parts only in our Technical Service and Spare Parts Authorised Centres.
CLIENT ASSISTANCE SERVICE
Before calling Technical Service
In case of malfunction, we advise you to:
- check that the plug is correctly inserted into the electricity supply;
- check that the gas is flowing normally.
If the cause of malfunction is not identified:
turn the apparatus off, do not tamper with it and call Technical Service.
Before leaving the factory, this appliance has been tested and set up by skilled personal, in order to give the best performance results.
Each reparation or set up that could be necessary afterwards, must be carried out with a great care and attention.
For this reason, we reccommend you to keep always in touch with the Sales Centre or with our nearer After Sales Service. Specify always the kind of problem and the model of your appliance.
RECCOMANDATIONS AND PRECAUTIONS
ATTENTION:
- Before using the appliance, do not forget to remove the plastic films protecting some parts of the appliance (facia-panel, parts in stainless steel, etc.)
- Do not use the appliance as a space heater.
- When the appliance is not in use, we recommend to disconnect the current and to close the gas general tap.
IN CASE OF FIRE:
- In case of fire, close immediately the main valve of the gas pipe line, disconnect current and never pour water on firing oil in any case.
- Do not store flammable products or aerosol containers near the burners, and do not vaporize them near lighted burners.
FOR YOUR SAFETY AND THE ONE OF YOUR CHILDREN.
- Do not store items that are attractive to children above or near the appliance.
- Keep children well away from the appliance: do not forget that some parts of the appliance or of the pans become very hot and dangerous during use, and also for all the time necessary to cool down.
- In order to avoid any unintentional fall down, pan handles should be turned to the back of the cooker, not out to the room or over adjacent burners.
- When cooking, do not use clothes with large flaving and flammable sleeves; in case of firing you can suffer very serious harms.
WARNING – OVEN:
When the oven or the grill are in use, accessible parts can become very hot; it is necessary to keep children well away from the appliance.
- Never cook food on the lower wall of the oven.
- In case of careless use, in proximity of the oven door hinges, there is hurt danger.
- Do not let children sit down or play with the oven door. Do not use the drop down door as a stool to reach above cabinets.
WARMING CABINET
You must not place inflammable materials or plastic utensils in the warming cabinet (placed below the oven).
WORK-TOP USE
USING GAS BURNERS
The following symbols are on the control panel next to each knob:
- Black circle
gas off - Large flame
maximum setting - Small flame
minimum setting
The minimum position is at the end of the anti-clockwise rotation of the knob. All operation positions must be chosen between the positions of max. and min., never choose them between max. and off.
The gas burners are equipped with a thermocouple safety device to prevent gas from leaking out. This device ensures that the gas supply is shut off if the flame on the gas burner is extinguished while the burner is in use.
Igniting the gas burners
Proceed as follows to light one of the burners
- Turn the appropriate knob anti-clockwise to the large flame symbol;
- Press in the knob firmly to activate the automatic gas igniter
; - Hold the knob in for around 10 seconds once the flame has ignited to allow the thermocouple to heat up.
- Then release the control knob and ensure that the gas has ignited properly. If it has not, repeat the process.
In case there is no electric current, the burner can also be lighted using a match.
ENERGY SAVING TIPS
- The diameter of the pan bottom should be the same as that of the burner. The burner flame must never come out from the pans diameter.
- Use flat-bottomed pans only.
- Whenever possible, keep a lid on the pan while cooking. You will not need as much heat.
- Cook vegetables, potatoes, etc. with as little water as possible to reduce cooking times.
BURNERS | PANS | |
Ø min. | Ø max | |
RAPIDE | 180 mm | 220 mm |
| SEMIRAPIDE | 120 mm | 200 mm |
AUXILIARY | 80 mm | 160 mm |
| TRIPLE CROWN | 220 mm | 260 mm |
USE OF THE ELECTRIC OVEN
FIRST PART
The first time the oven is used, it may give off acrid smells, caused by the first heating of isolating panels glue surrounding the oven (it is necessary to heat up the oven at the maximum temperature for about 30-40 minutes with closed door). It is something normal, and in case it will occur, wait for the smoke to stop before introducing the food into the oven. The oven is fitted with: a rod shelf for cooking food contained in oven dishes or placed directly on the rod shelf itself, a drip-tray for cooking sweets, biscuits, pizzas, etc., or for collecting juices and fats from food cooked directly on the rod shelf.
Note: The following tables give the main points for cooking some of the most important dishes. The cooking times recommended in these tables are approximate. After a few tries, we are sure that you will be able to adjust the times to get the results you want.
Conventional cooking table TAB.B
Dish | Temp. °C. | Minutes |
| Fish | 180-240 | acc. to size |
Meat | ||
| Roast ox | 250 | 30 per kg. |
Roast veal | 200-220 | 30 per kg. |
| Chicken | 200-240 | 50 about |
Duck and goose | 220 | acc. to weight |
| Leg of mutton | 250 | 30 per kg. |
Roast pork | 250 | 60 per kg. |
| Soufflets | 200 | 60 per kg. |
Sweets (pastries) | ||
| Tea-cake | 160 | 50-60 |
Sponge finger | 160 | 30-50 |
| Shortcrust pastry | 200 | 15 |
Puff pastry | 250 | 15 |
| Fruit flan | 200-220 | 30 |
Meringues | 100 | 60 |
| Quiches, etc. | 220 | 30 |
4 quarters | 120-140 | 60 |
| Buns | 160-180 | 45 |
Fan oven cooking table TAB. C.
Dish | Temp. °C. | Minutes | Weight kg. |
Firs courses | |||
| Lasagne | 200-220 | 20-25 | 0,5 |
Oven pasta | 200-220 | 25-30 | 0,5 |
| Creole rice | 200-230 | 20-25 | 0,5 |
Pizza | 210-230 | 30-45 | 0,5 |
Meat | |||
Roast veal | 160-180 | 65-90 | 1-1,2 |
| Roast pork | 160-170 | 70-100 | 1-1,2 |
Roast ox | 170-190 | 40-60 | 1-1,2 |
| Roast beef joint | 170-180 | 65-90 | 1-1,2 |
Roast fillet beef (rare) | 180-190 | 40-45 | 1-1,5 |
| Roast lamb | 140-160 | 100-130 | 1,5 |
Roast chicken | 180 | 70-90 | 1-1,2 |
| Roast duck | 170-180 | 100-160 | 1,5-2 |
Roast goose | 160-180 | 120-160 | 3-3,5 |
| Roast turkey | 160-170 | 160-240 | 5 approx. |
Roast rabbit | 160-170 | 80-100 | 2 approx. |
| Roast hare | 170-180 | 30-50 | 2 approx. |
Fish | 160-180 | acc. to weight | |
Sweets (pastries) | |||
Fruit flan | 180-200 | 40-50 | |
Plain sandwich cake | 160-180 | 35-45 | |
| Sponge sandwich cake | 200-220 | 40-45 | |
Sponge cake | 200-230 | 25-35 | |
| Currant cake | 230-250 | 30-40 | |
Buns | 170-180 | 40-60 | |
| Strudel | 160 | 25-35 | |
Cream slices | 180-200 | 20-30 | |
| Apple fritters | 180-200 | 18-25 | |
Sponge finger pudding | 170-180 | 30-40 | |
| Sponge finder biscuits | 150-180 | 50-60 | |
Toasted sandwiches | 230-250 | 7 | |
| Bread | 200-220 | 40 |
MULTIFUNCTIONAL OVEN
The oven is fitted with:
- a lower heating element;
- an upper heating element;
- a circular heating element surrounding the fan.
N.B.: Always set the temperature on the thermostat knob before selecting any of the functions.
Oven thermostat knob
To obtain an oven temperature between 60°C and MAX°C, turn the
knob clockwise.
Oven commutator knob
Depending on the type of oven, it is possible to select one of the following functions turning the commutator knob clockwise.
Note:
All the functions mentioned above switch the oven internal light on. A warning light on the control panel will stay lit until the temperature is reached; after it will light up intermittently.
Always use the oven with the oven door closed
Use of the oven
Note: ovens with separate thermostat and commutator. When the functions ![]()
are used, place the thermostat knob between 180 ÷ 200°C as maximum temperature.
ATTENTION:
The temperature shown on the control panel corresponds to the temperature in the oven centre only when the functions selected are
or
.
When you turn the control knob to this position, the light will be on for all the following operations.
Defrosting with fan![]()
The air at ambient temperature is distributed inside the oven for defrosting food very quickly and without proteins adulterations.
Natural convection![]()
Both the lower and upper heating elements operate together. This is the traditional cooking, very good for roasting joints, ideal for biscuits, baked apples and crisping food. You obtain very good results when cooking on a shelf adjusting the temperature between 60 and MAX°C.
Fan oven![]()
Both the fan and the circular heating element operate together.
The hot air adjustable between 60 and MAX°C is evenly distributed inside the oven. This is ideal for cooking several types of food (meat, fish) at the same time without affecting taste and smell. It is indicated for delicate pastries.
Medium grill![]()
It is indicated for grilling and gratinating small quantities of traditional food.
The thermostat knob must be placed on the maximum position.
Total grill![]()
It is indicated for grilling and gratinating traditional food.
Turn the thermostat control knob to the 200°C position.
Fan assisted total grill![]()
The air which is heated by the grill heating element is circulated
by the fan which distributes the heat on the food.
The fan assisted grill replaces perfectly the turnspit. You can obtain very good results also with large quantities of poultry, sausage, red meat. Turn the thermostat control knob to the 200°C position.
Air forced lower heating element![]()
The air which is heated by the lower heating element is circulated by the fan which distributes the heat on the food. This function can be used to sterilize food. This function can be used between 60 and MAX°C
USE OF THE GRILL
Install the grid on the third shelf from the oven bottom, at about 12 cm from the surface.
The user can change the shelves, depending on his personal whishes and on the different food.
Geat the oven 5 minutes before introducing the food.
USE OF THE TURNSPIT
TURNSPIT multilpe
For utilization of the turnspit follow the instructions described.
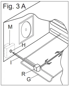
- Thread the chicken or the cubes of meat for roasting on the spit L , ensuring that it is gripped safely between the two forks F and balancing it properly to avoid unnecessary strain on the trasmission R (fig 3).

- Put the spit on the support G, after having introduced its opposite end in the socket P of the transmission R (fig 3).
- Put the support G completely into the oven so that the bar I goes into the socket H of the turnspit motor M (fig 3A).

- Place the drip-tray with some water under the turnspit, on the lowest level.
- when removing the spit, wear oven mitts and pull out support G.
The turnspit can be operated turning the knob on position
.
INSTRUCTIONS FOR USE OF CONTROL DEVICES
“LED” PROGRAMMER (Fig. 4)

Features
24 hours clock with automatic programme and minutes counter.
Functions
Cooking time, cooking end time, manual position, clock, minutes counter, times to be set up to 23 hours 59 minutes.
Display
4-figures, 7-segments diplay for cooking times and time of day.
Cooking time and manual function = saucepan symbol
Automatic function = AUTO
Minutes counter = bell symbol
The symbols light up when the corresponding functions are selected.
Setting
To set, press and release the desired function, and within 5 seconds set the time with and buttons.
and
buttons.
The + and – buttons increase or decrease the time at a speed depending on how long the button is pressed.
Setting the time
Press any two buttons manualat the same time, and or button to set the desired time. This deletes any previously set programme.
The contacts are switched off .
Manual use
By pressing the manual button the relay contacts switch on, the AUTO symbol switches off and the saucepan symbol lights up. Manual operation can only be enabled after the automatic programme is over or it has been cancelled.
Automatic use
Press the cooking time or end time button to switch automatically
from the manual to the automatic function.
Semi-automatic use with cooking time setting
Press the cooking time button and set the desired time with
or ![]()
.
The AUTO and cooking time symbols light up continuously.
The relay switches on immediately. When the cooking end time corresponds to the time of day, the relay and cooking time symbol switch off, the sound signal rings and the AUTO symbol flashes.
Semi-automatic use with end time setting
Press the end time button. The time of day appears on the display. Set the cooking end time with button. The AUTO and cooking time symbols light up continuously. The relay contacts switch on. When the cooking end time corresponds to the time of day, the relay and the cooking time symbol switch off. When the cooking time is up, the AUTO symbol flashes, the sound signal rings and both the relay and the cooking time button switch off.
Automatic use with cooking time and end time setting
Press the cooking time button and select the length of the cooking time with or button. The AUTO and cooking time symbols light up continuously. The relay switches on. By pressing the cooking end time button the next cooking end time appears on the display. Set the cooking end time with button. The relay and the cooking time symbol switch off.
The symbol lights up again when the time of day corresponds to the cooking start time. When the cooking time is up, the AUTO symbol flashes, the sound signal rings, the cooking time symbol and the relay switch off.
Minutes counter
Press the minutes counter button and set the cooking time with or button.
The bell symbol lights up when the minutes counter is operating When the set time is up, the sound signal rings and the bell symbol switches off.
Sound signal
The sound signal starts at the end of a programme or of the minutes counter function and it lasts for 15 minutes.
To stop it, push any one of the functions buttons.
Start programme and check
The programme starts 4 seconds after it has been set.
The programme can be checked at any time by pressing the corresponding button.
Setting error
A setting error is made if the time of day on the clock falls within the cooking start and end times.
To correct the setting error, change the cooking time or cooking end time.
The relays switch off when a setting error is made.
Cancelling a setting
To cancel a setting, press the cooking time button and then press the – button until 00 00 appears on the display.
A set programme will automatically cancel on completion.
CARE AND MAINTENANCE
Before cleaning the appliance, disconnect the gas general tap and unplug the appliance or disconnect power at the main circuit breaker of the electrical system.
Do not clean the appliance surfaces when still hot.
IMPORTANT
Periodically check the external gas connection hole and replace it when it shows any sign of deterioration. Do not attempt to repair the gas hose under any cincumstances.
ENAMELLED SURFACES
Clean with a damp sponge using soap and water.
Grease can be easily removed using hot water or a specific cleansing agent for enamelled surfaces. Do not use abrasive cleansers.
Do not leave any acid or alkaline substances (lemon juice, vinegar, salt, etc.) on the enamel.
Clean the parts in stainless steel with specific cleansers for stainless steel surfaces.
These detergents must be applied using a soft cloth.
GRIDS AND BURNERS
To clean the work-top burners, remove them by pulling upwards and soak them for about 10 minutes in hot water with a little detergent. After having cleaned and washed them, wipe them carefully.
Make sure that no burner hole is clogged.
Clean the burners once a week or more frequently if necessary.
MAKE SURE YOU HAVE ASSEMBLED THE BURNERS IN A RIGHT WAY.
OVEN DOOR
For some models, the oven door can be disassembled in the following way:
hinges A are provided, for this purpose, with two movable jumpers
B; these, once hooked to the hinges slots C, when the door is completely opened, block them. After that lift the door outward carring out the two movements shown in the picture. To do that, operate on the door sides next to the hinges. In order to reassemble the door, introduce the hinges in their relevant slots.
Before closing the door, do not forget to remove the movable jumpers B.
Attention, in proximity of the oven door hinges, there is hurt danger


OVEN
Clean the enamelled parts with a damp sponge using soap and water. Grease can be easily removed using hot water or a specific cleansing agent for enamelled surfaces. Do not use abrasive cleansers.
INSTRUCTIONS DESTINED TO THE USER
OVERALL DIMENSIONS


WARNINGS
The technical data are indicated on the data nameplate placed on the inside of the front appliance drawer .
The adjustment conditions are stated on the label applied on the packaging and on the appliance. Do not use the oven door handle to move the appliance, such as to remove it from the packaging.
The appliance is in class 1 or class 2 subclass 1.
INSTALLATION
IMPORTANT: The coating of the furniture must be able to withstand high temperatures (min. 90°C). If the appliance is to be installed near units, leave the minimum gaps specified in the table below.

The cooker is fitted with 4 legs for an eventual alignment in height with the furniture. To assemble them, it is necessary to raise the cooker and to screw the four legs into the suitable threadings placed on the corners on the bottom of the appliance ( fig 8).
GAS CONNECTING
This appliance shall be installed in accordance whit the regulations in force and only in a well-ventilated space. Read the instructions before installing or using this appliance.
IMPORTANT
This cooker is supplied for use on Natural Gas Only and cannot be used for any other gas without modification. Conversion for use on LPG and other gases must only be undertaken by a qualified person. For information for use on other gases contact your local Service Centre.
The cooker must be installed by a qualified person in accordance with the Gas Safety (Installation and Use) (Amendment) Regulations 1990 and the relevant building/I.E.E. Regulations.
Failure to install the appliance correctly could invalidate any manufacturers warranty and lead to prosecution under the above quoted regulations.
Provision for Ventilation
The room containing the cooker should have an air supply in accordance with BS 5440: Part 2: 1989. The room must have an opening windows or equivalent; some rooms may also require a permanent vent. If the room has a volume between 5 and 10m 3 , it will require an air vent of 50cm2 effective area unless it has a door which opens directly to the outside. If the room has a volume of less than 5m3 , it will require an air vent of 100cm2 effective area. If there are other fuel burning appliances in the same room,
BS 5440: Part 2: 1989 should be consulted to determine air vent requirements. Ensure that the room containing the cooker is well ventilated, keep natural ventilation holes or install a mechanical ventilation device (mechanical cooker hood). Prolonged intensive use of the appliance may call for additional ventilation, for example opening of a window, or more effective ventilation, for example increasing the level of mechanical ventilation where present. This cooker is not fitted with a device for discharging the products of combustion. Ensure that the ventilation rules and regulations are followed. Excess steam from the oven, vents out at the top back edge of the cooker, so make sure that the walls behind and near the cooker are resistant to heat, steam and condensation. Your cooker must stand on a flat surface so that when it is in position the hob is level. When in position check that the cooker is level by using a spirit level and adjust the 2 feet at the rear and the 2 feet at the front if necessary. It is important that the cooker is stable and level for the overall cooking performance. Remember that the quantity of air necessary for combustion must never be less than 2m3 /h for each kW of power (see total power in kW on the appliance data plate placed on the drawer).
Gas Safety (Installation & Use) Regulations
It is the law that all gas appliances are installed by competent persons in accordance with the current edition of the Installation & Use Regulations. It is in your interest and that of safety to ensure compliance with the law.
In the UK, CORGI registered installers work to safe standards of practice.
The cooker must also be installed in accordance with BS 6172: 1990.
Failure to install the cooker correctly could invalidate the warranty liability claims and could lead to prosecution.
Gas Connection
Prior to installation, ensure that the local distribution conditions (nature of the gas and gas pressure) and the adjustment conditions are compatible. The adjustment conditions for this appliance are stated on the rating plate which can be found on the inside of the front appliance drawer .
This appliance is not designed to be connected to a combustion products evacuation device. Particular attention should be given to the relevant requirements regarding ventilation. Connection to the cooker should be made with an approved appliance flexible connection to BS 669. Models for use with LPG should be fitted with a hose suitable for LPG and capable of withstanding 50mbar pressure. A length of 0.9 to 1.25m is recommended. The length of hose chosen should be such that when the cooker is in situ, the hose does not touch the floor. The temperature rise of areas at the rear of the cooker that are likely to come in contact with the flexible hose do not exceed 700C. Gas pressure may be checked on a semi-rapid hob burner. Remove the appropriate injector and attach a test nipple. Light the other burners and observe that the gas pressure complies with the gas standards in force.
Certain types of cookers can be set for sypply both on the right and left hand side. In this case it is sufficient to reverse the position of the cad nipple reducer. At the end make sure than there is no leakage of gas.
ELECTRICAL CONNECTION
This appliance must be installed by a qualified person in accordance with the latest edition of the IEE Regulations and in compliance with the manufacturer instructions. Ensure that the voltage is the same as that stated on the rating plate. The rating plate which can be found on the inside of the front appliance drawer.
WARNING! THIS APPLIANCE MUST BE EARTHED
The power supply must be fitted with a disconnect switch in which the distance between contacts permits total disconnection in accordance with overvoltage category III, as required by installation regulations.
Be sure that the earth wire green/yellow is not interrupted by the switch We recommend that the cooker circuit is rated to 13 amps.
Cable type HO5 RRF 3 X 1.5 mm2
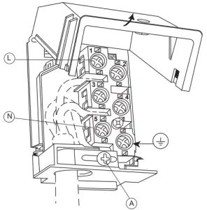
Connecting the mains cable
Open the mains terminal block cover as shown, unscrew screw “A” the cable clamp and unscrew (not fully) the screws in the mains terminal block “L N E” which secure the three wires of the mains cable. Fit the cable and refit screw “A” the cable clamp. Allow sufficient cable length for the cooker to be pulled out for cleaning, but do not let it hang closer than 50mm (2”) to the floor.
The cable can be looped if necessary, but make sure that it is not kinked or trapped when the cooker is in position.
IMPORTANT
The wires in the mains lead are coloured in accordance with the following code:
GREEN AND YELLOW……EARTH
BLUE ……………………………NEUTRAL
BROWN………………………..LIVE
REPLACEMENT OF THE CABLE
In case the cable is damaged, replace it in accordance with the following instructions:
- open the box of the supply board as described on the picture below;
- unscrew screw “A” fixing the cable;
- replace the cable with one of the same lenght and in accordance with the features described on the table; switch the appliance off, and close the gas tap
- the ‘green-yellow” earth wire must be connected to the terminal “ “ and it must be about 10 mm longer thean the live wires;
- the “blue” neutral wire must be connected to the terminal marked with letter “N”;
- the live wire must be connected to the terminal marked with letter “L”.
GAS ADJUSTMENT
Conversion to LPG
Always isolate the cooker from the electricity supply, turn off the gas supply temporarily and proceed as follows.
- change the injectors,
- adjust the minimum flow of the burners.
REPLACEMENT OF WORK-TOP INJECTORS
In order to change the work-top injectors, it is necessary to act as follows: remove the grids, remove burners and flame-spreaders (see fig.A), change the injector (see fig.B) and replace it with another one suitable for the new type of gas (see table D). Reassemble everything in the opposite direction, paying attention to place the flame-spreader in the right way on the burner.
| TAB. D GENERAL INJECTORS TABLE | ||||||
Kind of gas | mbar | Nozzle | Burners | Power Watt | Consum. | |
| mm/100 | Posizione-type | max. | min. | max. | ||
| 115 | -Rapide | 3000 | 750 | 286 I/h | ||
NATURAL | 20 | 97 | -Semi rapide | 1750 | 480 | 167 I/h |
| 72 | -Auxiliary | 1000 | 330 | 95 I/h | ||
| 128 | -Triple crown | 3300 | 1300 | 315 I/h | ||
G.P.L. | 30 | 85 | -Rapide | 3000 | 750 | 219 g/h |
| BUTANE | 28 | 65 | -Semi rapide | 1750 | 480 | 128 g/h |
PROPANE | 37 | 50 | -Auxiliary | 1000 | 330 | 73 g/h |
| 93 | -Triple crown | 3300 | 1300 | 241 g/h | ||
MINIMUM FLOW ADJUSTMENT FOR WORK-TOP TAPS
In order to adjust the minimum, act as follows: switch the burner
on, and turn the knob towards the minimum flow position .
Remove the knob from the tap, introduce a little screwdriver in the
tap rod (fig. 11).
Attention: in taps with security valve, the minimum adjusting screw
“Z” is placed outside the rod tap (fig. 12).
Unscrew the adjusting screw in order to increase the flow or screw it to decrease the flow. The right adjustment is obtained when the flame has a length of about 3 or 4 mm.
For butane/propane gas, the adjusting screw must be tight screwed. Make sure that the flame does not go out passing quickly from the max. flow to the
minimum flow
. Assemble the knob again.
APPLIANCE MAINTENANCE
WARNINGS
Isolate the cooker from the electricity supply before attempting to replace the oven lamp.
The oven lamp used is of a special type withstanding high temperatures. To replace it, act as follows: disassemble the protecting glass (A) and replace the burnt lamp with one of the same type. Reassemble the protecting glass.
DISASSEMBLE OF WORK-TOP
In case it is necessary to repair or replace the inside components, act as follows:remove the glass lid from its position slipping off it upwards.
Remove the grids, remove burners and flame-spreaders (see fig. 13), unscrew the visible screws “V” placed on the work-top (see fig. 14). Disassemble the work-top by unscrewing the 4 rear screws “A” (see fig. 15 ).


To disassemble the control panel, unscrew the 4 internal screws
(B) fixing the control panel to the oven face ( fig 16 ).
GREASING OF TAPS
If a tap becomes hard to be turned, grease it using a specific grease withstanding high temperatures. Act as follows: switch the appliance off, and close the gas tap open the work-top and disassemble also the control panel as described on the previous paragraph. Unscrew the two fixing screws from the burner body (see picture) and remove the cone.
Clean the cone and its slot by means of a cloth soaked with diluent. Slightly grease the cone with the relevant grease, put it in its slot, and turn it some times. Remove the cone again, remove the exceeding grease making sure the gas entries are not obstructed by grease residuals. Assemble everything carefully in the opposite direction check the connection seal by means of soapy water.
TAPS REPLACEMENT
Act as follows: switch the appliance off, and close the general tap
open the work-top and disassemble also the control panel as described on the previous paragraph. Unscrew screw nut D of the gas tube supplying the burner. Unscrew screw V fixing the tap to the bridle and remove it (see picture).
Note: Every time the tap is replaced, it is necessary to replace the seal gasket too check the connection seal by means of soapy water (see picture).
For your safety
The product should only be used for its intended purpose which is for the cooking of domestic foodstuffs. Under no circumstances should any external covers be removed for servicing or maintenance except by suitably qualified personnel.
Do’s and Do Not’s
Do make sure you understand the controls before using the cooker.
Do check that all controls on the cooker are turned off after use.
Do always stand back when opening an oven door to allow heat to disperse.
Do always use dry, good quality oven gloves when removing items from the oven.
Do take care when removing items from the oven, as the contents may be hot.
Do always keep the oven doors closed when the cooker is not in use.
Do always place pans centrally over the hob burners and position
them so that the handles cannot accidentally be caught or knocked or become heated by other burners.
Do keep the cooker clean, as a build up of grease or fat from cooking can cause a fire.
Do always allow the cooker to cool before cleaning.
Do always follow the basic principles of food handling and hygiene to prevent the possibility of bacterial growth.
Do always keep ventilation slots clear of obstructions.
Do always turn off the electricity before cleaning or replacing an oven lamp.
Do not allow children near the cooker when in use as all surfaces will become hot during and after cooking.
Do not allow anyone to sit or stand on any part of the cooker.
Do not heat up unopened food containers as pressure can build up causing the container to burst.
Do not store chemicals , food stuffs, pressurised containers in or on the cooker, or in cabinets immediately above or next to the cooker.
Do not fill a deep fat frying pan more than1/3 full of fat, oil, or use a lid.
DO NOT LEAVE UNATTENDED WHILE COOKING.
Do not place flammable or plastic items on or near the hob burners.
Do not use proprietary spillage collectors on the hob burners.
Do not use the cooker as a room heater.
Do not dry clothes or place other items over or near to the hob burners or oven doors.
Do not wear garments with long flowing sleeves whilst cooking.
Do not place inflammable materials in the oven or the compartment below the oven.
Do not allow fat or oil to build up in the oven trays, grill pan or oven base.
Do not place cooking utensils or plates onto the oven base.
Do not grill food containing fat without using the grid.
Do not cover the grilling grid with aluminium foil.
Do not place hot enamel parts in water, leave them to cool first.
Do not allow vinegar, coffee, milk, saltwater, lemon or tomato juice to remain in contact with enamel parts (inside the oven and oven trays).
Do not use abrasive cleaners or powders that will scratch the surface of the stainless steel and the enamel.





















