HOOVER HDC110IN-1 Kitchen Cooker Hood

SAFETY INSTRUCTIONS
Thismanualexplainstheproperinstallationanduseofyourcookerhood, pleasereaditcarefullybeforeusingevenifyouarefamiliarwiththeproduct. Themanualshouldbekeptinasafeplaceforfuturereference.
Nevertodo:
- Do not try to use the cooker hood without the grease filters or if the filters are excessively greasy!
- Do not install above a cooker with a high level grill.
- Do not leave frying pans unattended during use because overheated fats or oils might catch fire.
- Never leave naked flames under the cooker hood.
- If the cooker hood is damaged, do not attempt to use.
- Do not flambé under the cooker hood.
- CAUTION: Accessible parts may become hot when used with cooking appliances.
- The minimum distance between the supporting surface for the cooking vessels on the hob and the lowest part of the cooker hood. (When the cooker hood is located above a gas appliance, this distance shall be at least 65 cm)
- The air must not be discharged into a flue that is used for exhausting fumes from appliances burning gas or other fuels. Range hoods and other cooking fume extractors may adversely affect the safe operation of appliances burning gas or other fuels (including those in other rooms) due to back flow of combustion gases. These gases can potentially result in carbon monoxide poisoning. After installation of a range hood or other cooking fume extractor, the operation of open flued gas appliances should be tested by a competent person to ensure that back flow of combustion gases does not occur.
Always to do:
- Important! Always switch off the electricity supply at the mains during installation and maintenance such as light bulb replacement.
- The cooker hood must be installed in accordance with the installation instructions and all measurements followed.
- All installation work must be carried out by a competent person or qualified electrician.
- Please dispose of the packing material carefully. Children are vulnerable to it.
- Pay attention to the sharp edges inside the cooker hood especially during installation and cleaning.
- Make sure the ducting has no bends sharper than 90 degrees as this will reduce the efficiency of the cooker hood.
- Warning: Failure to install the screws or fixing device in accordance with these instructions may result in electrical hazards.
- Warning: Before obtaining access to terminals, all supply circuits must be disconnected.
- Always put lids on pots and pans when cooking on a gas cooker.
- When in extraction mode, air in the room is being removed by the cooker hood. Please make sure that proper ventilation measures are being observed. The cooker hood removes odours from room but not steam.
- There shall be adequate ventilation of the room when the cooker hood is used at the same time as appliances burning gas or other fuels.
- Cooker hood is for domestic use only.
- If the supply cord is damaged, it must be replaced by the manufacturer, its service agent or similarly qualified persons in order to avoid a hazard.
- This appliance can be used by children aged from 8 years and above and persons with reduced physical, sensory or mental capabilities or lack of experience and knowledge if they have been given supervision or instruction concerning use of the appliance in a safe way and understand the hazards involved. Children shall not play with the appliance. Cleaning and user maintenance shall not be made by children without supervision.
- Caution: The appliance and its accessible parts can become hot during operation. Be careful to avoid touching the heating elements. Children younger than 8 years old should stay away unless they are under permanent supervision.
- There shall be adequate ventilation of the room when the range hood is used at the same time as appliances burning gas or other fuels.
- There is a fire risk if cleaning is not carried out in accordance with the instructions.
- Regulations concerning the discharge of air have to be fulfilled.
- Clean your appliance periodically by following the method given in the chapter MAINTENANCE.
- For safety reason, please use only the same size of fixing or mounting screw which are recommended in this instruction manual.
- Regarding the details about the method and frequency of cleaning, please refer to maintenance and cleaning section in the instruction manual.
- Cleaning and user maintenance shall not be made by children without supervision.
- When the range hood and appliances supplied with energy other than electricity are simultaneously in operation, the negative pressure in the room must not exceed 4 Pa(4 x 10- 5 bar).
- WARNING: Danger of fire: do not store items on the cooking surfaces.
- A steam cleaner is not to be used.
- NEVER try to extinguish a fire with water, but switch off the appliance and then cover flame e.g. with a lid or a fire blanket.
INSTALLATION (VENT OUTSIDE)
MOUNTING OF THE V-FLAP
If the cooker hood does not have an assembled V-flap 1, you should mount the half-parts to its body.The images only show an example of how to mount the V-flap, because the outlet may vary according to different models and configurations.
To mount the V-flap 1 you should:
- Mount two half-parts 2 into the body 6
- the pin 3 should be top oriented;
- the axis 4 should be inserted into the holes 5 on the body;
- repeat all the operations for the 2nd half-part

INSTALLATION
- Before installation, turn the unit off and unplug it from the outlet.
- The cooker hood should not be placed at a distance of no more than 150cm from the cooking surface for the best performance. See pic 1.
- The ceiling must can bear at least 120kg weight, and the thickness of the ceiling must be ≥30mm.

- According to the size shown on pic 2, drill 14pcs φ 8mm holes on the ceiling once the installation height is determined,14pcs explode screws(or 14 pcs of ST6*40mm big flat screws+14 pcs wall plugs) will be used to fix the two hanging board on the ceiling. See pic 3.

- Calculate the length of the angle iron(see pic 4 & 5),then 32 pcs of M4*10 screws and M4 nut with gasket will be used to connect the angle iron into the adjustable angle iron bracket. (Make sure the overlap length of angle iron cannot less than 36mm)

- As pic 8 shown, choose the direction of the outlet①/②/③/④
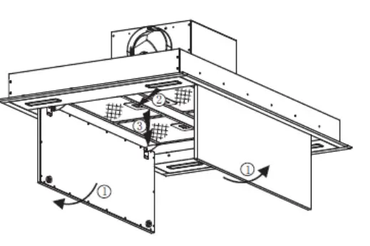
- Refer to pic 6, open the decorative plate in order,and take out the filter.
- Refer to pic 7,unscrew and take away the 4 pcs ST4*8mm screws that on the panel decorative strip.
- Unscrew the 8 pcs machine silk from the bottom of the cabinet housing and rotate it by 90°/180°/270° to choose the direction of the outlet, then screw the 8 pcs machine silk to fix the housing well;
- Install the panel decorative strip and filter well apply to the reverse order of a/b steps above. Meanwhile, install the expansion pipe to the outlet. See pic 9.

- As pic 10 shown, connect the 4 adjustable angle iron bracket with the housing by 8pcs M4*12mm machine silk screw, next refer to pic 11/12, lift up the housing, use 8pcs M4*12mm machine silk screw and M4 nut with gasket to fix the housing onto the 2 hanging board, meanwhile, pull the expansion pipe outside.(Note: The expansion pipe must be fixed on the housing firmly.)

- After installing the housing to the hanging board, use cross screwdriver or straight screwdriver to adjust the screw of the angle iron bracket, direct the housing level position and height till it is suitable. Adjust method: Adjust rang of the angle iron bracket is 0-25mm, clockwise twist the screw of the 4 angle iron bracket, slightly move the housing upwards; meanwhile, anticlockwise twist the screw of the angle iron bracket, slightly move the housing downwards. Use the cross screwdriver to screw the safety screw tightly after the level position and height is suitable. See pic 13.

HINTS FOR EXHAUST DUCT INSTALLATION
The following rules must be strictly followed to obtain optimal air extraction:
- Keep expansion pipe short and straight.
- Do not reduce the size or restrict the expansion pipe.
- When using the expansion pipe always install the pipe pulled taut to minimize pressure loss.
- Failure to observe these basic instructions will reduce the performance and increase noise levels of the cooker hood.
- Any installation work must be carried out by a qualified electrician or competent person.
- Do not connect the ducting system of the hood to any existing ventilation system which is being used for any other appliance ,such as warmer tube, gas tube , hot wind tube.
- The angle of the bend of the expansion pipe should not be less than 120º; you must direct the pipe horizontally, or, alternatively, the pipe should go up from the initial point and should be led to an outer wall.
- After the installation ,make sure that the cooker hood is level to avoid grease collection at on end.
- Ensure the expansion pipe selected for installation complies with relevant standards and is fire retardant.
WARNING:- For safety reason, please use only the same size of fixing or mounting screws which are recommended in this instruction manual.
- Failure to install the screws or fixing device in accordance with these instructions may result in electrical hazards.
Controls
Several button on the controls panel which perform different function separately (refer to photo 1)
When you initially connect your hood to the electrical supply. The LCD display backlight will turn on. The backlight will be turn off after 30 seconds if no buttons are pressed.
Light control ![]()
Press the light button once to turn the cooker hood light on. Press the light button again to turn the cooker hood light off. The lighting button it is controlled separately and will not affect any other functions.
Power control
Press the power button once, power indicator light on and the cooker hood run at Medium 2 speed, with moto speed button and lighting button light on. Press the Power button again, the cooker hood will be power off and the indicator light off together, the cooker hood in standby mode.
Speed increasing selection ![]()
The speed function totally with 4 speed selection. Low, Medium2, Medium1, High speed. The speed symbol will appear from LCD display as: “1”,”2”,”3”,”4”.
- Press
the button, the indicator light on. The motor run at low speed.”1” will appear on LCD display. - When the motor run at low speed, you may press the
button shift motor speed to medium2, “2” speed symbol will appear on LCD display. - When the motor run at medium2 speed, you may press the
button shift motor speed to medium1, “3” speed symbol will appear on LCD display. - When the motor run at medium1 speed, you may press the
button shift motor speed to high, “4” speed symbol will appear on LCD display. - When the motor run at high speed, press the
button, the motor keep working at high speed mode. - When the hood on shift working, the motor speed run at High and Medium1 speed cumulative work for 7 minutes it will automatically shift to speed medium2.
Speed decreasing selection![]()
- Press the
button once, the speed level will be decreased to a lower one, the speed level no. will appear on LCD display. Press there
repeated till the speed level to “0”, the cooker hood will be switch off and the indicator light off together.
Timer control![]()
- When the cooker hood in working mode, included motor speed run and light turn on, you are able to setting the timer.Before setting the timer, keep the hoods at the speed you would like it be, press the timer button. Timer delay for 5 minutes, ”5” appear on LCD display. The no. will be decrease to”4,3,2”in every minute. When “0”appear on the display, the power will be shut off. Motor stop working and the lighting will be turn off at the same time.
- After setting the timer, the timer will recalculate if the motor speed shifted.
Connecting the remote control
- A New remote control has to establish a new connection to the cooker hood when used for first time. One remote control could possibly control several cooker hoods at the same time.
- Connection process between remote control and cooker hood
- Press
for 5 seconds within 15 seconds of cooker hood plug in, the indicators light begin flashing, the cooker hood is in connection mode, press any bottom on remote control to confirm the connection. The connection process finished and the remote control can be used for speed selection, lighting and timer setting. - If you want to connect again, you will need to clear the code that has been set up previously.
- To clear the code, press
for 5 seconds, the indicators light flashing, the cooker is in connection mode. Then, press
again for 5 seconds, the previous connection code is cleared. - When the previous code has been cleared, the cooker hood back to standby mode, press
for 5 seconds, the indicate light flashing from one button to another ,the cooker hood it in connection mode, then, press any bottom on remote control to confirm the connection. - The remote control can set up the turning on/ increasing motor speed, turning off/Decreasing motor speed, timer on/off and light on/off functions.
Remote control 
Lighting 
Press button once, the light is on, press again, the light is off. The lighting button it is controlled separately and will not affect any other functions.
Turning on/ Increasing motor speed
- 1st press, Low speed
- 2nd press, Medium 2 speed
- 3rd press Medium 1 speed
- 4th press High speed
- When the hood on shift working, the motor speed run at High and Medium1 speed cumulative work for 7 minutes it will automatically shift to speed medium2.
Turning off/Decreasing motor speed![]()
Press the button and the motor begins shift to a lower speed and the LCD screen display the speed level. Repeating press the button, it keeps on decreasing the motor speed to till the cooker hood turning off.
Timer![]()
Press the button to set up the timer on/off function.
- When the cooker hood in working mode, included motor speed run and light turn on, you are able to setting the timer. Set timer delay for 5 minutes. After 5 minutes, the power will be shut off. Motor stop working and the lighting will be turn off at the same time.
- After setting the timer, the timer will recalculate if the motor speed shifted.

TROUBLESHOOTING
| Fault | Possible Cause | Solution |
| Light on, but motor does not work | Fan switch turned off | Select a fan switch position. |
| Fan switch failed | Contact service center. | |
| Motor failed | Contact service center. | |
| Light does not work, motor does not work | House fuses blown | Reset/Replace fuses. |
| Mains power cable is loose or disconnected | Refit mains power cable to power outlet. Switch power outlet on. | |
| Oil leakage | One way valve and the outlet are not tightly sealed | Take down the one way valve and seal with sealant. |
| Leakage from the connection of chimney and cover | Take chimney down and seal. | |
| Lights not working | Broken or faulty bulbs | Replace bulbs as per this instruction. |
| Insufficient suction | The distance between the cooker hood and the gas top is too far | Refit the cooker hood to the correct distance. |
| The Cooker hood inclines | The fixing screw is not tight enough | Tighten the hanging screw and make it horizontal. |
NOTE:
Any electrical repairs to this appliance must conform to your local, state and federal laws. Please contact the service centre if in any doubt before undertaking any of the above. Always disconnect the unit from the power source when opening the unit.
MAINTENANCE AND CLEANING
Caution:
- Before maintenance or cleaning is carried out, the cooker hood should be disconnected from the mains power supply. Ensure that the cooker hood is switched off at the wall socket and the plug removed.
- External surfaces are susceptible to scratches and abrasions, so follow the cleaning instructions to ensure the best possible result is achieved without damage.
GENERAL
Cleaning and maintenance should be carried out with the appliance cold especially when cleaning. Avoid leaving alkaline or acid substances (lemon juice, vinegar etc.) on the surfaces.
STAINLESS STEEL
The stainless steel must be cleaned regularly (e.g.weekly) to ensure a long life expectancy.Dry with a clean soft cloth. A specialized stainless steel cleaning fluid may be used.
NOTE:
Ensure that wiping is done along with the grain of the stainless steel to prevent any unsightly crisscross scratching patterns from appearing.
CONTROL PANEL SURFACE
The inlay control panel can be cleaned using warm soapy water. Ensure the cloth is clean and well wrung before cleaning. Use a dry soft cloth to remove any excess moisture left after cleaning.
Important
Using neutral detergents and avoid using harsh cleaning chemicals, strong household detergents or products containing abrasives,as this will affect the appearance of the appliance and potentially remove any printing of artwork on the control panel and will void manufactures warrantee.
GREASE MESH FILTERS
The mesh filters can be cleaned by hand.Soak them for about 3 minutes in water with a mild detergent and then brush it gently with a soft brush. Do not apply too much pressure so as to avoid any damage to it . (Leave to dry naturally out of direct sun light) Filters should be washed separately to crockery and kitchen utensils. It is advisable not to use rinse aid.
INSTALLING GREASE MESH FILTERS
To install filters for the following four steps:
- Angle the filter into the slots at the back of the hood.
- Push the button on the handle of the filter.
- Release the handle once the filter fits into a resting position.
- Repeat to install all filters.
CARBON FILTER- not supplied
Activated carbon filter can be used to trap odors. Normally the activated carbon filter should be changed every 3 to 6 months according to your cooking habits. The installation procedure of activated carbon filter is as below:
Attention for outdoor ventilation of cooker hood: If you choose②or④ air direction, you need to remove the filter and panel decorative strip according to steps “a” and “b” in step 6 of INSTALLATION to install and remove carbon filters.
- Before installing or replacing the carbon filters, disconnect the mains power to the unit.
- Press the filter lock and remove the mesh filter.
- Turn the carbon filter on both sides of the motor anti-clockwise. Replace the carbon filters with the new carbon filters.
- Replace the mesh filter.
- Connect the power supply to the wall socket.

NOTE:
- Make sure the filter is securely locked. Otherwise, it would loosen and cause danger.
- When activated carbon filter attached, the suction power will be lowered.
BULB REPLACEMENT
Important :
- The bulb must be replaced by the manufacturer, its service agent or similarly qualified persons.
- Always switch off the electricity supply before carrying out any operations on the appliance. When handling bulb, make sure it has completely cooled down before any direct contact with hands.
- When handling bulbs hold with a cloth or gloves to ensure perspiration does not come in contact with the bulb as this can reduce the life of the bulb.
Note:
- Before changing the lights, make sure that the appliance is turned off and unplugged.
- Protect against danger when changing lights, such as wearing gloves.
Changing the light
Use a screwdriver to carefully pry the lamp along the edge to remove it. Then slowly pull out the lamp wire for replacement.
- ILCOS D code for this lamp is: DSS-1.5/65-S-120/33
- LED modules –rectangle lamp
- Max wattage: 4×1.5 W
- Voltage range: DC 12V
Dimensions:
ENVIRONMENTALPROTECTION:
This appliance is labelled in accordance with European Directive 2012/19/EU on Waste Electrical and Electronic Equipment Regulations 2013 regarding electric and electronic appliances (WEEE). The WEEE contain both polluting substances (that can have a negative effect on the environment) and base elements (that can be reused). It is important that the WEEE undergo specific treatments to correctly remove and dispose of the pollutants and recover all the materials. Individuals can play an important role in ensuring that the WEEE do not become an environmental problem; it is essential to follow a few basic rules:
- the WEEE should not be treated as domestic waste;
- the WEEE should be taken to dedicated collection areas managed by the town council or a registered company.
ln many countries, domestic collections may be available for large WEEEs. When you buy a new appliance, the old one can be returned to the vendor who must accept it free of charge as a one-off, as long as the appliance is of an equivalent type and has the same functions as the purchased appliance.
NOTE: The following shows how to reduce total environmental impact (e.g. energy use) of the cooking process).
- Install the cooker hood in a proper place where there is efficient ventilation.
- Clean the cooker hood regularly so as not to block the airway.
- Remember to switch off the cooker hood light after cooking.
- Remember to switch off the cooker hood after cooking.
INFORMATION FOR DISMANTLING
Do not dismantle the appliance in a way which is not shown in the user manual. The appliance could not be dismantled by user. At the end of life, the appliance should not be disposed of with household waste. Check with you Local Authority or retainer for recycling advice.



















