
Master Kitchen MKHD V608-ED Cooker Hood Instruction Manual

MODEL: MK HD V608-ED Touch BK
RECOMMENDATIONS AND SUGGESTIONS
The instructions for Use apply to several versions of this appliance. Accordingly, you may find descriptions of individual features that do not apply to your specific appliance.
INSTALLATION

- The manufacturer will not be held liable for any damages resulting from incorrect or improper installation.
- The minimum safety distance between the cooker top and the extractor hood is 650 mm (some models can be installed at a lower height, please refer to the paragraphs on working dimensions and installation).
- Check that the mains voltage corresponds to that indicated on the rating plate fixed to the inside of the hood.
- For Class I appliances, check that the domestic power supply guarantees adequate earthing.
- Connect the extractor to the exhaust flue through a pipe of minimum diameter 120mm.
The route of the flue must be as short as possible. - Do not connect the extractor hood to exhaust ducts carrying combustion flumes (boilers, fireplaces, etc.).
- If the extractor is used in conjunction with non-electrical appliances (e.g. gas burning appliances),a sufficient degree of aeration must be guaranteed in the room in order to prevent the backflow of exhaust gas. The kitchen must have an opening communicating directly with the open air in order to guarantee the entry of clean air. When the cooker hood is used in conjunction with appliances supplied with energy other than electric, the negative pressure in the room must not exceed 0,04 mbar to prevent fumes being drawn back into the room by the cooker hood.
- In the event of damage to the power cable, it must be replaced by the manufacturer or by the technical service department, in order to prevent any risks.
- If the instructions for installation for the gas hob specify a greater distance specified above, this has to be taken into account. Regulations concerning the discharge of air have to be fulfilled.
USE

- The extractor hood has been designed exclusively for domestic use to eliminate kitchen smells.
- Never use the hood for purposes other than for which it has been designed.
- Never leave high naked flames under the hood when it is in operation.
- Adjust the flame intensity to direct it onto the bottom of the pan only, making sure that it does not engulf the sides.
- Deep fat fryers must be continuously monitored during use: overheated oil can burst into flames.
- Do not flame under the range hood; risk of fire.
- This appliance can be used by children aged from 8 years and above and persons with reduced physical, sensory or mental capabilities or lack of experience and knowledge if they have been given supervision or instruction concerning use of the appliance in a safe way and understand the hazards involved.
- Children should be supervised to ensure that they do not play with the appliance.
- Cleaning and user maintenance shall not be made by children without supervision.
- “CAUTION: Accessible parts may become hot when used with cooking appliances”.
MAINTENANCE

- Switch off or unplug the appliance from the mains supply before carrying out any maintenance work.
- Clean and/or replace the Filters after the specified lime period (Fire hazard).
- Clean the hood using a damp cloth and a neutral liquid detergent.
- The appliance uses 4 hob elements at most.
The symbol
is packaging indicates that this product may not be treated as household waste. Instead it shall be handed over to the applicable collection point for the recycling of electrical and electronic equipment. By ensuring this product is disposed of correctly, you will help prevent potential negative consequences for the environment and human health, which could otherwise be caused by inappropriate waste handling of this product. For more detailed information about recycling of this product, please contact your local city office, your household waste disposal service or the shop where you purchased the product.
COMPONENTS


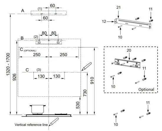
DIMENSIONS


INSTALLATION
WALL DRILLING AND BRACKET FIXING

As a first step, proceed with the following drawings:
- A vertical line up to the ceiling or up to the upper limit, at the center of the area in which the hood is to be fitted.
- A horizontal line A at 1320 – 1700 mm above the cooker top.
- A horizontal line B at a minimum 926 mm above the cooker top.
- A horizontal line C at a minimum 730 (910 optional) mm above the cooker top.
Mark Points:
- Mark a point (1) on the horizontal line A, 60 mm to the vertical reference line.
- Repeat this operation on the other side, checking that the two marks are leveled.
- Mark a point (2) on the horizontal line B, 80 mm to the vertical reference line.
- Repeat this operation on the other side and on the vertical reference line, checking that the three marks are leveled.
- Mark a point (3) on the horizontal line C, 130 (250 optional) mm to the vertical reference line.
- Repeat this operation on the other side, checking that the two marks are on the same horizontal line.
Fix the brackets (Optional):
- Drill holes at the marked points with a ɸ10 mm drill bit.
- Insert the Wall Plugs 11 into the holes.
- Fix the hood fixing bracket 20 with 3 screws 10 (5 x 50) supplied with the hood.
- Fix a Chimney fixing bracket 21 with 2 screws 10 (5 x 50) supplied with the hood.
Hook the hood body:
- Open the panel.
- Remove the Metal grease filter using the handles provided.
- Hook the hood body to the bracket 20.
- Level the hood body itself.

- From the inside of the hood body, fix the screws 10 to Wall Plugs 11 at the points (3).
- Fit the filter into the hood.
- Close the panel.
CONNECTIONS
DUCTED VERSION AIR EXHAUST SYSTEM
When installing the ducted version, connect the hood to the chimney using either a flexible or rigid pipe ɸ 150 or ɸ 120 mm, the choice of which is left to the installer.

- To install a ɸ 120 mm air exhaust connection, insert the reducer flange 3 on the hood body outlet.
- Fix the pipe 4 in position using sufficient pipe clamps (not supplied).
- Remove possible charcoal filters.
CHIMNEY ASSEMBLY
The chimney can only be installed with exhausting hood.


Upper Decorative Chimney
- Slightly widen the two sides of the upper chimney and hook them between the wall and the bracket 21 which is fixed on the Lower Decorative Chimney.
- Fix the upper chimney onto the bracket 21 with 2 screws 12 (4.2 x 9.5) supplied with the hood.

USE
CONTROL PANEL


MAINTENANCE
GREASE FILTERS
CLEANING METAL SELF-SUPPORTING GREASE FILTERS

- The filters must be cleaned every 2 months of operation, or more frequently for particularly heavy usage, and can be washed in a dishwasher.
- Pull the comfort panels to open them.
- Remove the filters one by one pushing them towards the back side of the hood unit and simultaneously pulling downwards.
- Any kind of bending of the filters has to be avoided when washing them. Before fitting them again into the hood make sure that they are completely dry. (The color of the filter surface may change throughout the time but this has no influence to the filter efficiency).
- When fitting the filters into the hood pay attention that they are mounted in correct position the handle facing outwards. Close the comfort panel.
ACTIVATED CHARCOAL FILTER (RECIRCULATION VERSION)
These filters are not washable and cannot be regenerated, and must be replaced approximately every 4 months of operation, or more frequently with heavy usage.
REPLACING THE ACTIVATED CHARCOAL FILTER

- Open the comfort panels pulling them downwards.
- Remove the metal grease filters
- Remove the saturated activated charcoal filter.
- Fit the new filters.
- Replace the metal grease filters.
- Close the comfort panel
LIGHTING
LIGHT REPLACEMENT
1.5W LED light.
- Switch off the extractor hood and isolate the extractor hood by pulling out the mains plug or switching off the fuse.
- Remove the grease filter.
- Remove the light by levering its fitting from the hood body(this may require pressure or force to be applied).

- Disconnect the connector of the light.
- Replace the light with a new one of the same type,making sure that you connect the light with the light cable correctly.
- Reinstall the light back to the hood body.

DISPOSAL OF OLD ELECTRICAL APPLIANCES
The European directive 2012/19/EU on Waste Electrical and Electronic Equipment (WEEE), requires that old household electrical appliances must not be disposed of in the normal unsorted municipal waste stream. Old appliances must be collected separately in order to optimize the recovery and recycling of the materials they contain, and reduce the impact on human health and the environment.
The crossed out “wheeled bin” symbol on the product reminds you of your obligation, that when you dispose of the appliance, it must be separately collected.
Consumers should contact their local authority or retailer for information concerning the correct disposal of their old appliance.
TROUBLE SHOOTING


Read More About This Manual & Download PDF:













