
AMC-400L Aluminum Folding Motorcycle Carrier
Instruction Manual
AMC-400L Aluminum Folding Motorcycle Carrier
Aluminum Folding Motorcycle Carrier
Instructions for Part # AMC-400L
GENERAL GUIDELINES 
- It is the user’s responsibility to read and follow all instructions
- Keep these instructions with the product at all times and review before each use
- It is the responsibility of this product’s owner to furnish the instructions to any person that borrows or purchases the product
- Inspect the product before use to ensure it is assembled properly and all parts are in safe working order and free of defects
- Never modify this product in any way
- All circumstances cannot be addressed in these instructions. Please use common sense and practice general safety measures when using this product
- Parts and/or instructions are subject to change without notice
SAFETY 
- Never exceed vehicle trailer hitch tongue weight capacity or carrying capacity of your vehicle
- Some vehicles may require air shocks of modifications to the vehicle’s suspension
- Please check your owner’s manual for vehicle hauling capabilities and weight ratings
- Never exceed 400 lb. max rated weight capacity of carrier
- Not recommended for tow-behind trailers, including 5th wheel and camping trailers, motorhomes or RVs
- Not recommend for use with hitch adapters or extensions
- Will not work with Class II or smaller receivers
- Push the motorcycle up the carrier with a helper; never ride a motorcycle onto the carrier
- Prior to transport, make sure the ramp of the carrier and the motorcycle are properly secured to the carrier
- When not in use, store the carrier in a secure place out of the reach of children
- Carrier must be level in hitch receiver and on level ground while loading and unloading
PARTS

| Part | Description | Quantity | Part | Description | Quantity |
| A | Motorcycle Rack | 1 | H | M8 Lock Nuts | 12 |
| B | Ramp | 1 | I | M10 8-1/2” Bolt | 1 |
| C | Hitch Bar | 1 | J | M10 Nut | 1 |
| D | Support Bracket | 2 | K | M6 Bolt, Nut & Wing Nut Assembly | 2 |
| E | M8x40 Bolts | 4 | L | Anti-Tilt Bracket Assembly | 1 |
| F | M8x20 Bolts | 8 | M | Hitch Pin | 1 |
| G | M8 Washer | 4 |
TOOLS REQUIRED
- 10mm wrench
- 13mm wrench
- 17mm wrench
ASSEMBLY
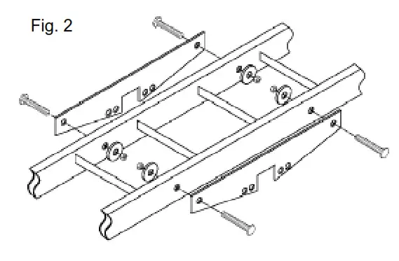
Step 1. Install the support brackets (D) onto the hitch bar (C) on the outside of the welded brackets using the eight M8x20 bolts (F). Leave the bolts handtight.
Step 2. Place the motorcycle rack between the support brackets, noting the ramp mounting holes on the rack are on the side where you will be storing the ramp. Install the four M8x40 bolts (E), washers (G), and nuts (H). Securely tighten all twelve support bracket bolts. 
Step 3. Slide the anti-tilt bracket (L) over the hitch bar with the flat side of the bracket toward the vehicle. Slide the rack into the trailer hitch, install the hitch pin (M), then tighten the four anti-tilt bolts evenly. They will pinch the bracket on the collar of the hitch, preventing excessive movement of the rack.
Step 4. The ramp (B) stores on the motorcycle rack with the two supplied bolt, nut, and wing nut assemblies (K).

Step 5. The optional small wheel adapter bolt (M10 bolt – part I) can be inserted into the front of the motorcycle rack to make the front wheel gap smaller.
Step 6. Secure the motorcycle to the rack with tie down straps (sold separately). Use two ratchet straps attached to the handlebars, two straps attached to the rear frame of the ike, and two wheel ties.
FOLDING HITCH ADAPTER (SOLD SEPARATELY)
Save yourself the hassle of repeated removals and installations with this innovative Folding Hitch Adapter, exclusive to DiscountRamps.com! The Folding Hitch Adapter allows you to easily fold up your Aluminum Motorcycle Carrier when it is not in use.
PRODUCT WARRANTY & LIABILITY
GENERAL PRODUCT WARRANTY: Products purchased from the Authorized Dealer (original place of purchase) or Merchant (“Dealer”) will be free of defects in material and workmanship at the time of receipt, and will meet the specifications stated at the place of purchase transaction or online at the Dealer’s website, under normal use and service when correctly installed, operated and maintained. This product warranty is effective for the period of time stated below, unless otherwise stated in the product instructions or depicted in the product advertisement. All Authorized Dealer warranties are NON-TRANSFERABLE and cover only the original end purchaser. This limited warranty does not cover products purchased through non-authorized dealers. Non-authorized dealer receipts are not accepted for warranty verification.
***WARRANTY CLAIMS MUST BE MADE DIRECTLY TO THE ORIGINAL PLACE OF PURCHASE.***
WARRANTY PERIOD: This warranty remains in force for one year from the date of the product’s accepted delivery. The Authorized Dealer offers a one year manufacturer’s warranty for most products unless otherwise specified on the product advertisement.
WARRANTY SERVICE: The Authorized Dealer will replace any defective or malfunctioning part at no charge, including payment of the shipping costs of parts or replacement product to and from the manufacturer. The purchaser is responsible for labor charges. If the product does not meet specifications as depicted in the advertisement, the Authorized Dealer will refund the full purchase price of the product.
Questions regarding the warranty on a specific product and warranty claims should be directed to the Authorized Dealer with whom the purchase transaction was made.
WARRANTY LIMITATIONS: The above warranty does not apply to products that are repaired, modified or altered by any party other than the Authorized Dealer; are subjected to unusual physical stress or conditions (such as overloaded ramps or corrosion), natural disaster, governmental actions, wars, strikes, labor disputes, riots, theft, vandalism, terrorism or any reason beyond reasonable control; are damaged due to improper installation, misuse, abuse, accident or negligence in use, storage, transportation or handling, or tampering; or to products that are considered consumable items or items requiring repair or replacement due to normal wear and tear.
Product should be inspected prior to signing for delivery. Product damage incurred during shipping, unless noted on the Bill of Lading at the time of delivery, renders this warranty void.
LIMITED LIABILITY: In no event shall THE AUTHORIZED DEALER be liable to the purchaser or any third party for any indirect, incidental, consequential, special, exemplary or punitive damages arising out of the use of the product, including, without limitation, property damage, loss of value of the product or any third party products that are used in or with the product, or loss of use of the product or any third party products that are used in or with the product.
0 81121
1-888-651-3431



















