BLACK WIDOW Part RV-MC-CARRIER RV Motorcycle Carrier Instructions
GENERAL GUIDELINES
It is the user’s responsibility to read and follow all instructions- Keep these instructions with the product at all times and review before each use
- It is the responsibility of this product’s owner to furnish the instructions to any person that borrowsor purchases the product
- Inspect the product before use to ensure it is assembled properly and all parts are in safe working order and free of defects
- Never modify this product in any way
- All circumstances cannot be addressed in these instructions; please use common sense and practice General safety measures when using this product
- Parts and/or instructions are subject to change without notice
- Before use, check for misalignment, loose or damaged parts, or anything that may affect safe operation
- Have a qualified service technician make any necessary repairs
- Before use, make sure dirt, debris, oil, grease, etc. is cleaned off the carrier
- Clean with a clean, moist cloth; do not use solvents
- Periodically check all hardware for tightness
SAFETY
Never exceed vehicle trailer hitch tongue weight capacity or carrying capacity of your vehicle- Some vehicles may require air shocks of modifications to the vehicle’s suspension
- Please check your owner’s manual for vehicle hauling capabilities and weight ratings
- Never exceed 400 lb. max rated weight capacity of carrier if used on a 2” hitch receiver
- Never exceed 600 lb. max rated weight capacity if used on a 2.5” hitch receiver
- Not recommended for use with hitch adapters or extensions
- Will not work with Class II or smaller receivers
- Push the motorcycle up the carrier with a helper; never ride a motorcycle onto the carrier
- Prior to transport, make sure the ramp of the carrier and the motorcycle are properly secured to the carrier
- When not in use, store the carrier in a secure place out of the reach of children
- Carrier must be level in hitch receiver and on level ground while loading and unloading
PARTS


NOTE: Only one of the anti-tilt pieces and one of the hitch tubes will be used depending on your hitch receiver size
TOOLS NEEDED (NOT INCLUDED)
Box Wrenches (2pcs)

Allen Wrench (1pc) Size: 6mm

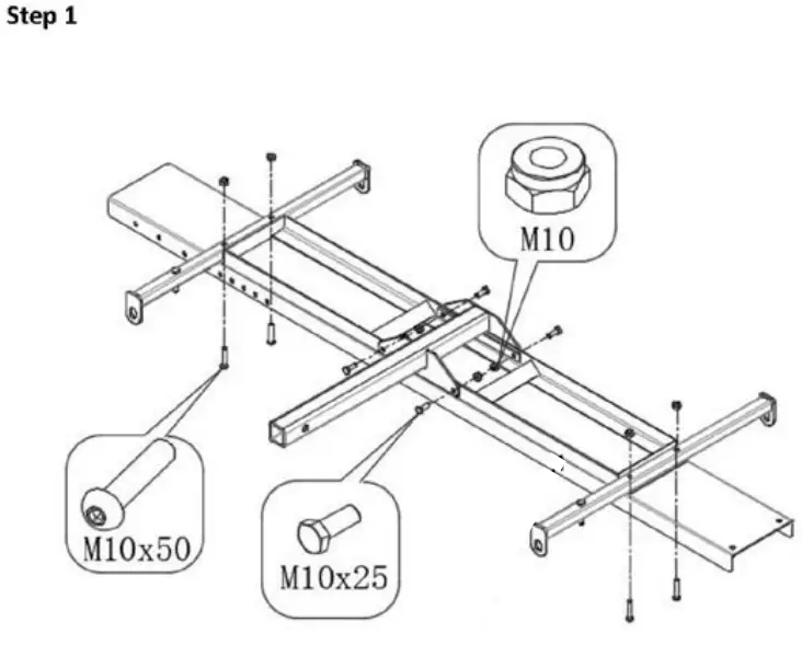
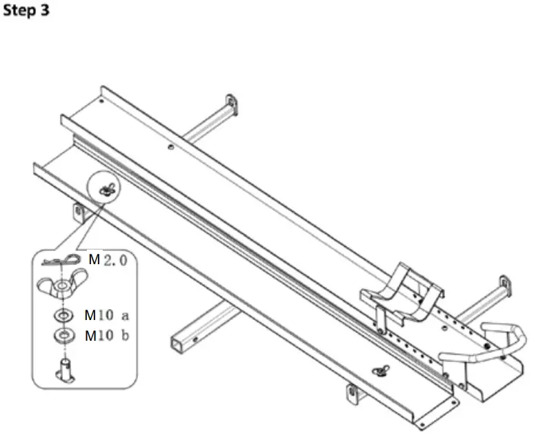
Installation Instruction




PRODUCT WARRANTY & LIABILITY
GENERAL PRODUCT WARRANTY:
Products purchased from the Authorized Dealer (original place of purchase) or Merchant (“Dealer”) will be free of defects in material and workmanship at the time of receipt, and will meet the specifications stated at the place of purchase transaction or online at the
Dealer’s website, under normal use and service when correctly installed, operated and maintained.
This product warranty is effective for the period of time stated below, unless otherwise stated in the product instructions or depicted in the product advertisement. All Authorized Dealer warranties are
NON-TRANSFERABLE and cover only the original end purchaser. This limited warranty does not cover products purchased through non-authorized dealers. Non-authorized dealer receipts are not
accepted for warranty verification.
***WARRANTY CLAIMS MUST BE MADE DIRECTLY TO THE ORIGINAL PLACE OF PURCHASE.***
WARRANTY PERIOD:
This warranty remains in force for one year from the date of the product’s accepted delivery. The Authorized Dealer offers a one year manufacturer’s warranty for most products unless otherwise specified on the product advertisement.
WARRANTY SERVICE:
The Authorized Dealer will replace any defective or malfunctioning part at no charge, including payment of the shipping costs of parts or replacement product to and from the manufacturer. The purchaser is responsible for labor charges. If the product does not meet specifications as depicted in the advertisement, the Authorized Dealer will refund the full purchase price of the product.
Questions regarding the warranty on a specific product and warranty claims should be directed to the Authorized Dealer with whom the purchase transaction was made.
WARRANTY LIMITATIONS:
The above warranty does not apply to products that are repaired, modified or altered by any party other than the Authorized Dealer; are subjected to unusual physical stress or conditions (such as overloaded ramps or corrosion), natural disaster, governmental actions, wars, strikes, labor disputes, riots, theft, vandalism, terrorism or any reason beyond reasonable control; are damaged due to improper installation, misuse, abuse, accident or negligence in use, storage, transportation or handling, or tampering; or to products that are considered consumable items or items requiring repair or replacement due to normal wear and tear. Product should be inspected prior to signing for delivery. Product damage incurred during shipping,unless noted on the Bill of Lading at the time of delivery, renders this warranty void.
LIMITED LIABILITY:
In no event shall THE AUTHORIZED DEALER be liable to the purchaser or any third party for any indirect, incidental, consequential, special, exemplary or punitive damages arising out of the use of the product, including, without limitation, property damage, loss of value of the product or any third party products that are used in or with the product, or loss of use of the product or any third party products that are used in or with the product.



















