DOMETIC RTX 2000 12V Air Conditioning Unit

- By using the product, you hereby confirm that you have read all instructions, guidelines, and warnings carefully and that you understand and agree to abide by the terms and conditions as set forth herein. Find the installation manual online on documents.dometic.com/?object_id=85475

WARNING

OVERVIEW

DEMENSION

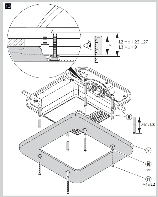
INSTALLATION







- YOUR LOCAL DEALER
dometic.com/dealer - YOUR LOCAL SUPPORT
dometic.com/contact - YOUR LOCAL SALES OFFICE
dometic.com/sales-offices
A complete list of Dometic companies, which comprise the Dometic Group, can be found in the public filings of: DOMETIC GROUP AB Hemvärnsgatan 15 SE-17154 Solna Sweden

















