MATTEO C57017 Candor 7-lt 63 Inch Island Pendant

START FROM HERE
- Make sure power is completely off at the fuse box.
- Have your fixture installed by a qualified licensed electrician
- Prepare everything in clear area.
- Wear gloves at all times during this installation.
- Read instructions carefully before you start assembly.
- Keep this instruction sheet for future reference.
Technical Support:1-844-628-8368
Please Note
- All Matteo Lighting fixtures come with pre-wired module(s).
- Unless instructed to do so, please do not touch any part of the module(s) as any unnecessary contact with the module could cause permanent damage.
THIS LUMINAIRE MUST BE MOUNTED OR SUPPORTED IN A JUNCTION BOX
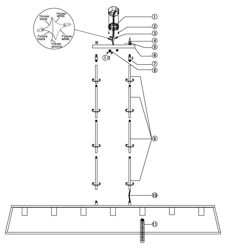
INSTALLATION INSTRUCTIONS

- Ensure main supply is switched off.
- Fit the mounting bracket(1) onto junction box with machine screw(2).
- Make wire(10) across rods(9), metal(7), canopy(6) in order, and fix internal tooth washers(5) with nut(4).
- Connect wires(3) according to color (White to White, Black to Black). Connect all earth plug together onto the crossbar with green screw to tight.
- Hold the fixture and aim the hole on canopy at the screw on mounting bracket, and fit the canopy onto bracket with finials(8).
- Install the lamps(11) firmly into lampholder.
- Reconnect power.
Corporate Head Office: 101-2365 192nd St. Surrey BC Canada V3Z 3Xx2
USA Distribution Centre: 3035 E. Lone Mountain Road Las Vegas NV USA 89081
Toll Free. 1.844.628.8368 Email. [email protected]













