TAURUS TB-5000 Speedball Platform

GENERAL SAFETY INSTRUCTIONS
Personal Safety
DANGER
- Before you start using the equipment, you should consult your physician that this type of exercise is suitable for you from a health perspective. Particularly affected are persons who: have a hereditary disposition to high blood pressure or heart disease, are over the age of 45, smoke, have high cholesterol values, are overweight and/or have not exercised regularly in the past year. If you are under medical treatment that affects your heart rate, medical advice is absolutely essential.
- Note that excessive training can seriously endanger your health. Please also note that heart rate monitoring systems can be inaccurate. If you notice any signs of weakness, nausea, dizziness, pain, shortness of breath, or other abnormal symptoms, stop exercising immediately and seek advice from your doctor if necessary.
WARNING
- This equipment may not be used by children under the age of 14.
- Children should not be allowed unsupervised access to the equipment.
- People with disabilities must have a medical license and must be under strict observation when using the equipment.
- The equipment is strictly for use by one person at a time
- Keep your hands, feet and other body parts, hair, clothing, jewellery and other objects well clear of moving parts.
CAUTION
- Make sure that nobody is within the range of motion of the equipment during training so as not to endanger you or other persons.
ATTENTION
- Do not insert any objects of any kind into the openings of the device.
- Do not wear jewellery like rings while using the punching ball.
Set-Up Place
WARNING
- Do not place the equipment in main corridors or escape routes.
- To prevent fire, do not place the device near or in areas with high heat (e.g. near a heater).
CAUTION
- Choose the set-up place so that there is sufficient space around the product. Please note that the product requires sufficient space to the rear when in the reclined position.
ATTENTION
- The device may only be used in one building, in sufficiently tempered and dry rooms (ambient temperatures between 10°C and 35°C). The equipment should not be used outdoors or in rooms with high humidity (over 70%) like swimming pools
- To avoid fading or faster wear of the cover, do not place the product in places with direct sunlight and/or high heat.
TECHNICAL DATA
- Setup dimensions (LxWxH): 60 cm x 50 cm
- Height: adjustable to 15 cm
- Article weight (incl. packaging): 12.02 kg
- Packaging dimensions (LxWxH) approx. 65 cm x 65 cm x 9 cm
SCOPE OF DELIVERY

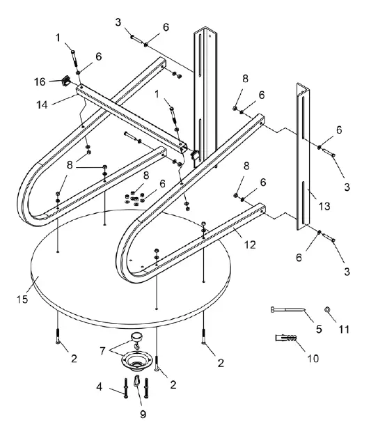
ASSEMBLY
- Attach the hook (9) to the metal bowl (7).
- Assemble the metal bowl (7) to the speedball board (15) with four bolts (4), four washers (6) and four nuts (8).
- Assemble both main frames (12) to the speedball board (15) with four bolts (2), four washers (6) and four nuts (8).
- Attach both square tubes (16) to the connect tube (14).
- Assemble the connect tube (14) to both main frames (12) with two bolts (1), four washers (6) and two nuts (8).
- Assemble both frame supports (13) to the main frames (12) with four bolts (3), eight washers (6) and four nuts (8)..
ATTENTION
The supplied assembly material for wall mounting is not suitable for every wall. Pay attention to the condition of your wall to determine which assembly material is suitable for your wall.
The contractual partner accepts no liability for any damage to the wall. Make sure that there are no cables or wires running in the wall where you attach the training equipment.
NOTICE
The supplied assembly material is not suitable for every wall, so you may need to get assembly material that is suitable for your wall.
- Assemble the training equipment on the wall with four screws (5), four expanders (10) and four washers (11).

PARTS LIST
| No. | Name | Qty. |
| 1 | BOLT M6*60 | 2 |
| 2 | CROSS HEAD BOLT M6*50 | 4 |
| 3 | BOLT M6*40 | 4 |
| 4 | CROSS HEAD BOLT M6*30 | 4 |
| 5 | SCREW M8*60 | 4 |
| 6 | WASHER 6 | 20 |
| 7 | METAL BOWL | 1 |
| 8 | NUT M6 | 14 |
| 9 | HOOK | 1 |
| 10 | NYLON EXPANDER | 4 |
| 11 | WASHER 8 | 4 |
| 12 | MAIN FRAME | 2 |
| 13 | FRAME SUPPORT | 2 |
| 14 | CONNECT TUBE | 1 |
| 15 | SPEEDBALL BOARD | 1 |
| 16 | SQUARE TUBE | 2 |
CARE, MAINTENANCE, AND STORAGE
WARNING
The storage location should be chosen so that improper use by third parties or children can be prevented.
- Clean the device with a dry soft cloth.
- Store the device in the supplied carton in a dry environment.
WARRANTY INFORMATION
Training equipment from Taurus® is subject to strict quality control. However, if fitness equipment purchased from us does not work perfectly, we take it very seriously and ask you to contact our customer service as indicated. We are happy to help you by phone via our service hotline.
Warranty period
The warranty periods, shown on our webshop, begin on delivery of the fitness equipment. The respective warranty periods for your equipment can be found on its product website.Please refer to the website of your Taurus® device for the exact warranty conditions.
UK
Technical Support
+44 141 876 3986
[email protected]

















