JOOM EW-071 Multifunctional Electric Rechargeable Mixer User Manual

Washing & Protection Guidance:
- The main body of the mixer is not waterproof, so please do not immerse it in water.
- Please disassemble the whisk from the mixer before washing.
- Please use cleaning fluid to wash the whisk and then clean it under running water.
- Please use soft dry cloth to wipe the main body of the mixer to keep it dry and clean.
- Then insert the whisk into the main body of the mixer and put it on the charging base.
Please keep the whole mixer in the dry environment and avoid sunlight.
Warm Note:
- The operating time needs to be less than 25 minutes, or it may damage the motor and battery.
- The operating temperature needs to be less than 60°C*
Technical Parameters:
- Battery Type: 1200m.Ah rechargeable 18650 lithium battery
- Charging Voltage: USB 4.5V-5.5V
- Charging Current: 0.5A
- Operating Time: Idle State: high speed: 48 hours; low or medium speed: 72 hours
- Charging Time: 6H
- Motor Power: 2. 5W
Solve the problem of the wobble for whisk:
- Please hold the whisk and make it vertically inserted into the connection port to prevent the whisk from bending.
- Only turn on the mixer after the whisk is vertically inserted into the main body of mixer.
- Please check and test whether the mixer can function well before use.
- Note: The curve of the whisk is the root of wobble, so please press and adjust the whisk to be a vertical angel when it is bent.
Charging:
- The mixer has dual charging mode, only suitable for micro USB cable. There is USB charging port on the bottom, so you can charge the mixer directly by it. Also, you can put the mixer on the charging base to get it charged.
- Support mobile phone charger and USB charging port with output voltage ofDC4.5V-DC5.5V and current less than 0.5A.
- The power light flashes when the mixer is running low on battery. Red light is on when charging; green light is on when fully charged.
- For safety reasons, the product has multiple protections, such as overcharge, over discharge overload, and so on.

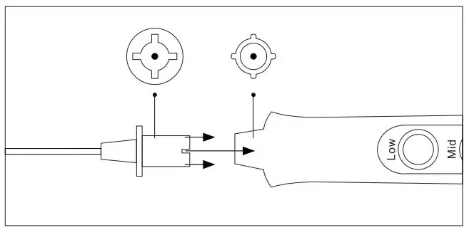
How to install the whisk ?
- Choose the proper whisk according to what you want to stir.
- Please make sure the groove of the whisk and the connection port of the mixer are one the same line.
- Insert the whisk into the connection port.

How to disassemble the whisk?
- One hand holds the main body of mixer and the other hand holds part of the whisk; do not hold the whole whisk
- Pull the whisk out vigorously in the opposite direction.
Use & Function:
- Press the button of high/medium/low speed, the respective indicator light will be on, and the mixer starts to work.
- The mixer has 3 whisking speeds: high/medium/low speed. You can turn on/off the mixer and choose different speeds according to your needs.
- For liquids with different temperature, please choose proper whisk head and speed to achieve ideal frothing effect. (Warm Note: please turn off the mixer, and then get it out of the container to avoid potential splashing)



















