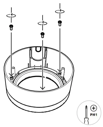
BOSCH NDA-5070-CBLI In Ceiling Plenum Kit 148mm Installation Guide
Installation Instructions
Bubble, clear, FD 5100 IR
NDA‑5070‑CBLI | NDA‑5070‑TBLI
Bosch Security Systems B.V.
Torenallee 49
5617 BA Eindhoven
Netherlands
www.boschsecurity.com
© Bosch Security Systems B.V., 2021





























