
80cm Single Bridge Hob
User Manual

CDE84543FB

FOR PERFECT RESULTS
Thank you for choosing this AEG product. We have created it to give you impeccable performance for many years, with innovative technologies that help make life simpler –
features you might not find on ordinary appliances. Please spend a few minutes reading to get the very best from it.
Visit our website to:
![]() | Get usage advice, brochures, trouble shooter, service and repair information: www.aeg.com/support |
![]() | Register your product for better service: www.registeraeg.com |
![]() | Buy Accessories, Consumables and Original spare parts for your appliance: www.aeg.com/shop |
CUSTOMER CARE AND SERVICE
Always use original spare parts.
When contacting our Authorised Service Centre, ensure that you have the following data available: Model, PNC, Serial Number.
The information can be found on the rating plate.
Warning / Caution-Safety information
General information and tips
Environmental information
Subject to change without notice.
SAFETY INFORMATION
Before the installation and use of the appliance, carefully read the supplied instructions. The manufacturer is not responsible for any injuries or damage that are the result of incorrect installation or usage. Always keep the instructions in a safe and accessible location for future reference.
1.1 Children and vulnerable people safety
- This appliance can be used by children aged from 8 years and above and persons with reduced physical, sensory or mental capabilities or lack of experience and knowledge if they have been given supervision or instruction concerning the use of the appliance in a safe way and understand the hazards involved. Children of less than 8 years of age and persons with very extensive and complex disabilities shall be kept away from the appliance unless continuously supervised.
- Children should be supervised to ensure that they do not play with the appliance.
- Keep all packaging away from children and dispose of it appropriately.
- WARNING: The appliance and its accessible parts become hot during use. Keep children and pets away from the appliance when in use and when cooling down.
- If the appliance has a child safety device, it should be activated.
- Children shall not carry out cleaning and user maintenance of the appliance without supervision.
1.2 General Safety
- This appliance is for cooking purposes only.
- This appliance is designed for single household domestic use in an indoor environment.
- This appliance may be used in, offices, hotel guest rooms, bed & breakfast guest rooms, farm guest houses and other similar accommodation where such use does not exceed (average) domestic usage levels.
- WARNING: The appliance and its accessible parts become hot during use. Care should be taken to avoid touching heating elements.
- WARNING: Unattended cooking on a hob with fat or oil can be dangerous and may result in fire.
- Never use water to extinguish the cooking fire. Switch off the appliance and cover flames with e.g. a fire blanket or lid.
- WARNING: The appliance must not be supplied through an external switching device, such as a timer, or connected toa circuit that is regularly switched on and off by a utility.
- CAUTION: The cooking process has to be supervised. Ashort term cooking process has to be supervised continuously.
- WARNING: Danger of fire: Do not store items on the cooking surfaces.
- Metallic objects such as knives, forks, spoons and lids should not be placed on the hob surface since they can get hot.
- Do not use the appliance before installing it in the built-in structure.
- Do not use a steam cleaner to clean the appliance.
- After use, switch off the hob element by its control and do not rely on the pan detector.
- If the glass ceramic surface / glass surface is cracked, switch off the appliance and unplug it from the mains. In case the appliance is connected to the mains directly sing junction box, remove the fuse to disconnect the appliance from power supply. In either case contact the AuthorisedService Centre.
- Ensure good air ventilation in the room where the appliance is installed to avoid the backflow of gases into the room from appliances burning gas or other fuels, ncluding open fires.
- Make sure that the ventilation openings are not blocked and the air collected by the appliance is not conveyed into a duct used to exhaust smoke and steam from other appliances (central heating systems, thermosiphons, waterheaters,etc.)
- When the appliance operates with other appliances the maximum vacuum generated in the room should not exceed 0.04 mbar.
- Clean the hood filter regularly and remove grease deposits from the appliance to prevent the risk of fire.
- If the supply cord is damaged, it must be replaced by the manufacturer, an authorized Service or similarly qualifiedpersons in order to avoid a hazard.
- If the appliance is connected directly to the power supply, the electrical installation must be equipped with an isolating device that allows to disconnect the appliance rom the mains at all poles. Complete disconnection must comply with conditions specified in the overvoltage category III.The means for disconnection must be ncorporated in the fixedwiring in accordance with the wiring rules.
- WARNING: Use only hob guards designed by the manufacturer of the cooking appliance or indicated by the manufacturer of the appliance in the instructions for use as suitable or hob guards incorporated in the appliance. The use of inappropriate guards can cause accidents.
SAFETY INSTRUCTIONS
2.1 Installation
WARNING!
Only a qualified person must install this appliance.
WARNING!
Risk of injury or damage to the appliance.
- Remove all the packaging.
- Do not install or use a damaged appliance.
- Follow the installation instructions supplied with the appliance.
- Keep the minimum distance from other appliances and units.
- Always take care when moving the appliance as it is heavy. Always use safety gloves and enclosed footwear.
- Seal the cut surfaces of the cabinet with a sealant to prevent moisture from causing swelling.
- Protect the bottom of the appliance from steam and moisture.
- Do not install the appliance next to a door or under a window. This prevents hot cookware from falling from the appliance when the door or the window is opened.
Do not install in a manner that exhausts air into a wall cavity, unless the cavity is designed for that purpose. - For ductless installation, the fan outlet must be positioned directly against the wall or must be separated by an additional cabinet wall, in order to prevent access to the fan blades.
- Each appliance has cooling fans on the bottom.
- If the appliance is installed above a drawer:
– Do not store any small pieces or sheets of paper that could be pulled in, as they can damage the cooling fans or impair the cooling system.
– Keep a distance of minimum 2 cm between the bottom of the appliance and parts stored in the drawer. - Remove any separator panels installed in the cabinet below the appliance.
2.2 Electrical Connection
WARNING!
Risk of fire and electric shock.
- All electrical connections should be made by a qualified electrician according to the connection diagram or installation booklet.
- In case of exhaust installation, and where the accessories are present or mandatory (wall valve, window switch and/or window opener) electrical connections should be made by a qualified electrician, according to the connection diagram or installation booklet.
- The appliance must be earthed.
- Before carrying out any operation make sure that the appliance is disconnected from the power supply.
- Make sure that the parameters on the rating plate are compatible with the electrical ratings of the mains power supply.
- Make sure the appliance is installed correctly. Loose and incorrect electricity mains cable or plug (if applicable) can make the terminal become too hot.
- Use the correct electricity mains cable.
- Do not let the electricity mains cable tangle.
- Make sure that a shock protection is installed.
- Use the strain relief clamp on the cable.
- Make sure the mains cable or plug (if applicable) does not touch the hot appliance or hot cookware, when you connect the appliance to a socket.
- Do not use multi-plug adapters and extension cables.
- Make sure not to cause damage to the mains plug (if applicable) or to the mains cable. Contact our Authorised Service Centre or an electrician to change a damaged mains cable.
- The shock protection of live and insulated parts must be fastened in such a way that it cannot be removed without tools.
- Connect the mains plug to the mains socket only at the end of the installation. Make sure that there is access to the mains plug after the installation.
- If the mains socket is loose, do not connect the mains plug.
- Do not pull the mains cable to disconnect the appliance. Always pull the mains plug.
- Use only correct isolation devices: line protecting cut-outs, fuses (screw type fuses removed from the holder), earth leakage trips and contactors.
- The electrical installation must have an isolation device which lets you disconnect the appliance from the mains at all poles. The isolation device must have a contact opening width of minimum 3 mm.
2.3 Use
WARNING!
Risk of injury, burns and electric shock.
- Do not change the specification of this appliance.
- Remove all the packaging, labelling and protective film (if applicable) before first use.
- Make sure that the ventilation openings are not blocked. The ventilation must be checked periodically by a qualified person.
- Do not let the appliance stay unattended during operation.
- Set the cooking zone to “off” after each use.
- Do not put cutlery or saucepan lids on the cooking zones. They can become hot.
- Do not operate the appliance with wet hands or when it has contact with water.
- Do not use the appliance as a work surface or as a storage surface.
- If the surface of the appliance is cracked, disconnect immediately the appliance from the power supply. This to prevent an electrical shock.
- Users with a pacemaker must keep a distance of minimum 30 cm from the induction cooking zones when the appliance is in operation.
- When you place food into hot oil, it may splash.
- Never use an open flame when the integrated hood operates.
WARNING!
Risk of fire and explosion
- Fats and oil when heated can release flammable vapours. Keep flames or heated objects away from fats and oils when you cook with them.
- The vapours that very hot oil releases can cause spontaneous combustion.
- Used oil, that can contain food remnants, can cause fire at a lower temperature than oil used for the first time.
- Do not put flammable products or items that are wet with flammable products in, near or on the appliance.
WARNING!
Risk of damage to the appliance.
- Do not keep hot cookware on the control panel.
- Do not put a hot pan cover on the glass surface of the hob.
- Do not let cookware boil dry.
- Be careful not to let objects or cookware fall on the appliance. The surface can be damaged.
- Do not activate the cooking zones with empty cookware or without cookware.
- Do not put aluminium foil on the appliance.
- Never remove the grid or the hood filter when the integrated hood or the appliance operates.
- Never use the integrated hood without the hood filter.
- Do not cover the inlet of the integrated hood with cookware.
- Do not open the bottom lid when the integrated hood or the appliance operates.
- Do not place small or light objects near the integrated hood to avoid the risk of being trapped.
- Cookware made of cast iron or with a damaged bottom can cause scratches on the glass / glass ceramic. Always lift these objects up when you have to move them on the cooking surface.
2.4 Care and cleaning
- Clean the appliance regularly to prevent the deterioration of the surface material.
- Switch off the appliance and let it cool down before cleaning.
- Do not use water spray and steam to clean the appliance.
- Clean the appliance with a moist soft cloth. Use only neutral detergents. Do not use abrasive products, abrasive cleaning pads, solvents or metal objects.
2.5 Service
- To repair the appliance contact the Authorised Service Centre. Use original spare parts only.
- Concerning the lamp(s) inside this product and spare part lamps sold separately: These lamps are intended to withstand extreme physical conditions in household appliances, such as temperature, vibration, humidity, or are intended to signal information about the operational status of the appliance. They are not intended to be used in other applications and are not suitable for household room illumination.
2.6 Disposal
WARNING!
Risk of injury or suffocation.
- Contact your local authority for information on how to dispose of the appliance.
- Disconnect the appliance from the mains supply.
- Cut off the mains electrical cable close to the appliance and dispose of it.
INSTALLATION
WARNING!
Refer to Safety chapters.
3.1 Before the installation
Before you install the hob, write down the information below from the rating plate. The rating plate is on the bottom of the hob. Serial number ………………………
3.2 Built-in hobs
Only use the built-in hobs after you assemble the hob into correct built-in units and work surfaces that align to the standards.
3.3 Attaching the seal

On-top installation
- Clean the worktop around the cut out area.
- Attach the supplied 2×6 mm seal stripe to the lower edge of the hob, along the outer edge of the glass ceramic. Do not stretch it. Make sure that the ends of the seal stripe are located in the middle of one side of the hob.
- Add some millimetres to the length when you cut the seal stripe.
- Join the two ends of the seal stripe together.
3.4 Assembly
Refer to the installation booklet for detailed information on how to assemble your hob.
Follow the hob connection diagram and the window switch connection diagram (if applicable) presented in the installation booklet and / or the labels under the hob.
Only for selected countries
In case of exhaust installation a window switch might be required (consult an authorised technician). You need to buy it separately as it is not supplied with the hob. The window switch has to be installed by an authorised technician.
Refer to the installation booklet.
If the appliance is installed above a drawer, the hob ventilation can warm up the items stored in the drawer during the cooking process.

Find the video tutorial “How to install your AEG Extractor Hob 80 cm” by typing out the full name indicated in the graphic below.

www.youtube.com/electrolux
www.youtube.com/aeg
| How to install your AEG Extractor Hob 80 cm | ![]() |
Filter housing assembly
Before first use make sure to insert the filter inside the housing. Refer to “Cleaning the hood filter”. Once the filter housing is assembled, put it inside the hood cavity and
place the grid on the hood.
3.5 Connection cable
- The hob is supplied with a connection cable.
- To replace the damaged mains cable, use the cable type: H05BB-F or H03V2V2-F which withstands a temperature of 90 °C or higher. The single wire must have a diameter of minimum 1,5 mm². Speak to your local Service Centre. The connection cable may only be replaced by a qualified electrician.
WARNING!
All electrical connections must be made by a qualified electrician.
CAUTION!
Connections via contact plugs are forbidden.
CAUTION!
Do not drill or solder the wire ends. It is forbidden.
CAUTION!
Do not connect the cable without cable end sleeve.
One-phase connection
- Remove the cable end sleeve from black and brown wires.
- Remove an insulation of the brown and black cable ends.
- Merge the black and brown cable ends.
- Apply a new wire end sleeve on the common cable end (special tool required).
Cable cross section 2×1,5 mm²

One-phase connection – 220 – 240 V~
| Green – yellow | |
| N | Blue and blue |
| L | Black and brown |
Two-phase connection – 400 V 2 ~ N
| Green – yellow | |
| N | Blue and blue |
| L1 | Black |
| L2 | Brown |
PRODUCT DESCRIPTION
4.1 Product overview

| 1 | Grid |
| 2 | Filter |
| 3 | Filter housing |
| 4 | Hob |
| 5 | Connector |
| 6 | Cabinet back wall fitting |
| 7 | Tube |
| 8 | Adapter |
4.2 Cooking surface layout

- Induction cooking zone
- Control panel
- Hood
4.3 Control panel layout

Use the sensor fields to operate the appliance. The displays, indicators and sounds tell which functions operate.
| Sensor field | Function | Description | |
| 1 | On / Off | To activate and deactivate the appliance. | |
| 2 | Pause | To activate and deactivate the function. | |
| 3 | Timer | To set the function. | |
| 4 | – | To increase or decrease the time. | |
| 5 | – | Timer display | To show the time in minutes. |
| 6 | Bridge | To activate and deactivate the function. | |
| 7 | AUTO | Automatic mode of the hood | To activate and deactivate the function. |
| 8 | Manual mode of the hood | To activate / deactivate the function and to switch between 3 fan speed levels. | |
| 9 | Boost | To activate and deactivate the function. | |
| 10 | – | Control bar | To set a heat setting. |
| 11 | PowerBoost | To activate the function. | |
| 12 | Lock / Child Safety Device | To lock / unlock the control panel. |
4.4 Display indicators
| Indicator | Description |
| There is a malfunction. | |
| The hood filter needs cleaning. | |
| OptiHeat Control (3 step Residual heat indicator): continue cooking / keep warm / residual heat. |
BEFORE FIRST USE
WARNING!
Refer to Safety chapters.
5.1 Power limitation
Power limitation defines how much power is used by the hob in total, within the limits of the house installation fuses.
The hob is set to its highest possible power level by default.
To decrease or increase the power level:
- Enter the menu: press and hold
for 3 seconds. Then, press and hold
. - Press
on the front timer until
appears. - Press
on the front timer to set the power level. - Press
to exit.
Power levels
Refer to “Technical data” chapter.
CAUTION!
Make sure that the selected power fits the house installation fuses.
- P73 — 7350 W
- P15 — 1500 W
- P20 — 2000 W
- P25 — 2500 W
- P30 — 3000 W
- P35 — 3500 W
- P40 — 4000 W
- P45 — 4500 W
- P50 — 5000 W
- P60 — 6000 W
DAILY USE
WARNING!
Refer to Safety chapters.
6.1 Activating and deactivating
Press and hold to activate or deactivate the hob.
6.2 Pot detection
This feature indicates the presence of cookware on the hob and deactivates the cooking zones if no cookware is detected during a cooking session.
If you put cookware on a cooking zone before you select a heat setting, the indicator above 0 on the control bar appears.
If you remove cookware from an activated cooking zone and set it aside temporarily, the indicators above the corresponding control bar will start blinking. If you do not place the cookware back on the activated cooking zone within 120 seconds, the cooking zone will automatically deactivate.
To resume cooking, make sure to put the cookware back on the cooking zones within the indicated timeout.
6.3 Using the cooking zones
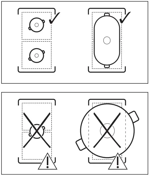
Place the cookware in the centre of the selected zone. Induction cooking zones adapt to the dimension of the bottom of the cookware automatically.
You can cook with large cookware placed on two cooking zones at the same time. The cookware must cover the centres of both zones but not go beyond the area marking. If
the cookware is located between the two centres, Bridge function will not be activated.

6.4 Heat setting

- Press the desired heat setting on the control bar.
The indicators above the control bar appear up to the selected heat setting level. - To deactivate a cooking zone, press 0.
6.5 PowerBoost
This function makes more power available to the induction cooking zones. The function can be activated for the induction cooking zone only for a limited period of time. After this time the induction cooking zone automatically sets back to the highest heat setting.
Refer to “Technical data” chapter.
To activate the function for a cooking zone: touch
.
To deactivate the function: change the heat setting.
6.6 OptiHeat Control (3 step Residual heat indicator)
WARNING!
As long as the indicator is on, there is a risk of burns from residual heat.
The induction cooking zones produce the heat necessary for the cooking process directly in the bottom of the cookware. The glass ceramic is heated by the heat of the cookware.
The indicators appear when a cooking zone is hot. They show the level of the residual heat for the cooking zones you are currently using:
– continue cooking,
– keep warm,
– residual heat.
The indicator may also appear:
- for the neighbouring cooking zones even if you are not using them,
- when hot cookware is placed on cold cooking zone,
- when the hob is deactivated but the cooking zone is still hot.
The indicator disappears when the cooking zone has cooled down.
6.7 Timer
Count Down Timer
Use this function to specify how long a cooking zone should operate during a single cooking session.
Set the heat setting for the selected cooking zone and then set the function.
- Press
. 00 appears on the timer display. - Press
to set the time (00-99 minutes). - Press
to start the timer or wait 3 seconds. The timer begins to count down.
To change the time: select the cooking zone with
and press
.
To deactivate the function: select the cooking zone with
and press
. The remaining time counts back to 00.
The timer finishes counting down, a signal sounds and 00 blinks. The cooking zone deactivates. Press any symbol to stop the signal and blinking.
Minute Minder
You can use this function when the hob is activated but the cooking zones do not operate. The heat setting shows 00.
1. Press
.
2. Press
to set the time.
The timer finishes counting down, a signal sounds and 00 blinks. Press any symbol to stop the signal and blinking.
To deactivate the function: press
and
. The remaining time counts back to 00.
6.8 Power management
If multiple zones are active and the consumed power exceeds the limitation of the power supply, this function divides the available power between all cooking zones.
The hob controls heat settings to protect the fuses of the house installation.
- If the hob reaches the limit of maximum available power (refer to the rating plate), the power of the cooking zones will be automatically reduced.
- The heat setting of the cooking zone selected first is always prioritised. The remaining power will be divided between the previously activated cooking zones according to the order of selection.
- For cooking zones that have a reduced power, the control bar blinks and shows the maximum possible heat settings.
- Wait until the display stops flashing or reduce the heat setting of the cooking zone selected last. The cooking zones will continue operating with the reduced heat setting. Change the heat settings of the cooking zones manually, if necessary.
- The hood extractor is always available as an electrical load.
6.9 Hood functions
WARNING!
Refer to Safety chapters.
Activating and deactivating the hood
The hood can operate alongside the hob during the cooking session, as well as while the hob is switched off.
1. Press
to activate the hood.
A signal sounds and indicators above the symbol appear.
2. Adjust the fan speed setting as needed by pressing the symbol. The indicators change to reflect the current fan speed.
3. To deactivate the hood, press
repeatedly until the indicators above the symbol disappear.
AUTO
The function automatically adjusts the fan speed level based on the selected heat setting level of the hob.
When you use the hob for the first time, the function is usually activated by default.
You can activate the function while the hob is on and none of the cooking zones are active, or at any point during the cooking session.
If you activate the function while the hob is off, none of the cooking zones operate and there is no residual heat visible on the control panel, the function will switch off by itself after a few seconds.
- Press and hold
to activate the hob. - Press AUTO to activate the function.
A signal sounds and an indicator above the symbol appears. - Place cookware on the hob and select a heat setting level. Increase or decrease the heat setting level as needed.
The hood will react to the heat setting level, increasing or decreasing the fan speed level accordingly. The indicators above the hood symbol appear. - Press 0 on the hob control bar to deactivate a cooking zone or
to deactivate the hob.
If the residual heat indicator appears, AUTO will continue to adjust the fan speed. - To deactivate the function during cooking and switch to the manual mode of the hood, press AUTO.
A signal sounds and the indicator above the symbol disappears.
Automatic modes – fan speed levels
| Hood mode | Residual heat level (hob is off) | Residual heat level (hob is on) Boiling Frying | ||||||
| 0 | ||||||||
| H1 | – | – | – | – | – | – | – | 1 |
| H2 | – | – | – | – | – | 1 | 1 | 1 |
| H3 | – | – | – | – | 1 | 1 | 1 | 2 |
| H4 | – | – | – | 1 | 1 | 2 | 2 | 3 |
If you deactivate the hob while AUTO is running, the function will be remembered for the next cooking session.
Boost
The function activates the hood fan at its maximum speed level.
- Press
to activate the function.
A signal sounds and an indicator above the symbol appears. - Press
again to deactivate the function, if needed.
The function can operate uninterrupted for a maximum of 10 minutes. After that time the fan speed setting automatically changes to 3.
You can activate the function again, if needed.
Auto Breeze
The function automatically sets the hood fan to continue running after you finish cooking and switch off the hob. The fan runs at a minimum speed level for maximum 20
minutes. The function removes any lingering smells after cooking.
When you use the hob for the first time, the function is activated by default.
When the function operates, the indicator above AUTO appears. Once the cycle is over, the fan switches off automatically.
To deactivate the function while it is running:
Press AUTO or
.
The hood fan deactivates.
To disable the function completely:
- Enter the menu: press and hold
for 3 seconds. Then, press and hold
. - Press
on the front timer until dF appears on the display. - Press
on the front timer until Off (–) appears. - Press
to exit.
It is recommended not to disable the function and to let it run uninterrupted for the full duration of the cycle.
6.10 Menu structure
The table shows the basic menu structure.
User settings
| Symbol | Setting | Possible options |
| b | Sound | On / Off (–) |
| P | Power limitation | 15 – 73 |
| H | Hood mode | 4-Jan |
| dF | Auto Breeze | On / Off (–) |
| E | Alarm / error history | The list of recent alarms / errors. |
To enter user settings: press and hold
for 3 seconds. Then, press and hold
. The settings appear on the timer of the left cooking zones.
Navigating the menu: the menu consists of the setting symbol and a value. The symbol appears on the rear timer and the value appears on the front timer. To navigate between the settings press
on the front timer. To change the setting value press
on the front timer.
To exit the menu: press
.
OffSound Control
You can activate / deactivate the sounds in the Menu > User settings.
Refer to “Menu structure”.
When the sounds are off you can still hear the sound when:
- you touch
, - the timer comes down,
- you press an inactive symbol.
ADDITIONAL FUNCTIONS
7.1 Automatic Switch Off
The function deactivates the hob automatically if:
- all of the cooking zones, as well as the hood, are deactivated,
- you do not set any heat setting or fan speed setting after the activation of the hob,
- you spill something or put something on the control panel for more than 10 seconds (a pan, a cloth, etc.). A signal sounds and the hob deactivates. Remove the object or clean the control panel.
- the appliance gets too hot (e.g. when a saucepan boils dry). Let the cooking zone cool down before you use the hob again.
- you do not deactivate a cooking zone or change the heat setting. After some time, the hob deactivates.
The relation between the heat setting / fan speed setting and the time after which the appliance deactivates:
| Heat setting | The hob deactivates after |
| 1-2 | 6 hours |
| 3-4 | 5 hours |
| 5 | 4 hours |
| 6.9 | 1.5 hours |
| Fan speed setting | The hood deactivates after |
| 10 hours |
7.2 Pause
This function sets all cooking zones that operate to the lowest heat setting. The speed of the hood fan decreases to 1. When you activate the function while the hood operates
in the automatic mode, the speed of the hood fan will not be reduced.
When the function operates,
and
can be used. All other symbols on the control panels are locked.
The function does not stop the timer functions.
- To activate the function: press.

The heat setting is lowered to 1. The speed of the hood fan decreases to 1. - To deactivate the function: press.
The previous heat setting / fan speed setting comes on.
7.3 Lock
You can lock the control panel while the hob operates. It prevents an accidental change of the heat setting / hood speed setting.
Set the heat setting / hood speed setting first.
To activate the function: press
.
To deactivate the function: press
again.
The function deactivates as you deactivate the hob.
7.4 Child Safety Device
This function prevents an accidental operation of the hob and the hood.
To activate the function: press
. Do not set any heat setting / hood setting. Press and hold
for 3 seconds, until the indicator above the symbol appears. Deactivate the
hob with
.
The function stays active when you deactivate the hob. The indicator above
is on.
To deactivate the function: press
. Do not set any heat setting / hood setting. Press and hold
for 3 seconds, until the indicator above the symbol disappears. Deactivate the hob with
.
Cooking with the function activated: press
, then press
for 3 seconds, until the indicator above the symbol disappears. You can operate the hob. When you deactivate the hob with
the function operates again.
7.5 Bridge
The function operates when the pot covers the centres of the two zones. For more information on the correct placement of cookware refer to “Using the cooking zones”.
This function connects two left side cooking zones and they operate as one.
First set the heat setting for one of the left side cooking zones.
To activate the function: touch .
To set or change the heat setting touch one of the control sensors.
To deactivate the function: touch
. The cooking zones operate independently.
HINTS AND TIPS
WARNING!
Refer to Safety chapters.
8.1 Cookware
For induction cooking zones a strong electro-magnetic field creates the heat in the cookware very quickly.
Use the induction cooking zones with suitable cookware.
- The bottom of the cookware must be as thick and flat as possible.
- Ensure pan bases are clean and dry before placing on the hob surface.
- In order to avoid scratches, do not slide or rub the pot across the ceramic glass.
Cookware material - correct: cast iron, steel, enamelled steel, stainless steel, multi-layer bottom (with a correct marking from a manufacturer).
- not correct: aluminium, copper, brass, glass, ceramic, porcelain. Cookware is suitable for an induction hob if:
- water boils very quickly on a zone set to the highest heat setting.
- a magnet pulls on to the bottom of the cookware.
Cookware dimensions
- Induction cooking zones adapt to the dimension of the bottom of the cookware automatically.
- The cooking zone efficiency is related to the diameter of the cookware. The cookware with a diameter smaller than the minimum receives only a part of the power generated by the cooking zone.
- For both safety reasons and optimal cooking results, do not use cookware larger than indicated in “Cooking zones specification”. Avoid keeping cookware close to the control panel during the cooking session. This might impact the functioning of the control panel or accidentally activate hob functions.
Refer to “Technical data”.
Steam Vented Lids
To further optimize the cooking sessions alongside the hood you can use the special Steam Vented Lids with your cookware. The lids are designed to direct the steam produced inside the pot towards the hood, minimizing unwanted cooking smells and excessive humidity in the kitchen. The lids are available to buy separately in several sizes to fit most common cookware types. For more information visit our website.
8.2 The noises during operation
If you can hear:
- crack noise: cookware is made of different materials (a sandwich construction).
- whistle sound: you use a cooking zone with a high power level and the cookware is made of different materials (a sandwich construction).
- humming: you use a high power level.
- clicking: electric switching occurs.
- hissing, buzzing: the fan operates.
The noises are normal and do not indicate any malfunction.
8.3 Öko Timer (Eco Timer)
To save energy, the heater of the cooking zone deactivates before the count down timer sounds. The difference in the operation time depends on the heat setting level and the
length of the cooking operation.
8.4 Examples of cooking applications
The correlation between the heat setting of a zone and its consumption of power is not linear. When you increase the heat setting, it is not proportional to the increase of the
consumption of power. It means that a cooking zone with the medium heat setting uses less than a half of its power.
The data in the table is for guidance only.
| Heat setting | Use to: | Time (min) | Hints |
| 1 | Keep cooked food warm. | as neces- saw | Put a lid on the cookware. |
| 1 – 2 | Hollandaise sauce, melt: butter, choco- late, gelatine. | 5 – 25 | Mix from time to time. |
| 2 | Solidify: fluffy omelettes, baked eggs. | 10 – 40 | Cook with a lid on. |
| 2 – 3 | Simmer rice and milkbased dishes, heat up ready-cooked meals. | 25 – 50 | Add at least twice as much liquid as rice, mix milk dishes halfway through the procedure. |
| 3 – 4 | Stew vegetables, fish, meat. | 20 – 45 | Add a few tablespoons of water. Check the water amount during the process. |
| 4 – 5 | Steam potatoes and other vegetables. | 20 – 60 | Cover the bottom of the pot with 1-2 cm of water. Check the water level during the process. Keep the lid on the pot. |
| 4 – 5 | Cook larger quantities of food, stews and soups. | 60 – 150 | Up to 3 I of liquid plus ingredients. |
| 6 – 7 | Gentle fry: escalope, veal cordon bleu, cutlets, rissoles, sausages, liver, roux, eggs, pancakes, doughnuts. | as neces- sary | Turn over when needed. |
| 7 – 8 | Heavy fry, hash browns, loin steaks, steaks. | 5 – 15 | Turn over when needed. |
| 9 | Boil water, cook pasta, sear meat (goulash, | ||
| P | large quantities of water. PowerBoost is activated. | ||
8.5 Hints and Tips for the hood
- The grid covering the hood is made of cast iron. You can put pots on it while the hood is not operating. It will not cause any damage.
- When AUTO mode operates, the fan starts at a low speed at the beginning of each cooking session. The speed increases gradually. You can also adjust the speed of the fan manually.
CARE AND CLEANING
WARNING!
Refer to Safety chapters.
9.1 General information
- Clean the hob after each use.
- Always use cookware with a clean base.
- Scratches or dark stains on the surface have no effect on how the hob operates.
- Use a special cleaner suitable for the surface of the hob.
- Use a special scraper for the glass.
9.2 Cleaning the hob
- Remove immediately: melted plastic, plastic foil, salt, sugar and food with sugar, otherwise, the dirt can cause damage to the hob. Take care to avoid burns. Use a special hob scraper on the glass surface at an acute angle and move the blade on the surface.
- Remove when the hob is sufficiently cool: limescale rings, water rings, fat stains, shiny metallic discoloration. Clean the hob with a moist cloth and a nonabrasive detergent. After cleaning, wipe the hob dry with a soft cloth.
- Remove shiny metallic discoloration: use a solution of water with vinegar and clean the glass surface with a cloth.
9.3 Cleaning the hood
Grid
The grid guides the air into the hood. Additionally, it protects the hood system and prevents foreign objects from falling inside by accident. You can wash the grid manually or
in a dishwasher. Wipe the grid with a soft cloth.
Water tank
There is a water tank located under the hood. It collects the condensation created during each cooking process. Remember to empty the water tank regularly.
Before you open the water tank, place a container or a tray under it to collect water.
To open the water tank, slide the latches out and open them one by one.
WARNING!
Make sure you do not let water get inside the hood.
If water or other liquids spill inside the hood system:
- switch off the hood in the first place,
- lift the grid and clean the hood area carefully with a moist cloth or sponge and a mild cleaning agent,
- wipe away the excess liquid gathered on the bottom of the hood cavity using a sponge or a dry cloth,
- clean the filter, if needed (refer to “Cleaning the hood filter”),
- switch on the hood, set the fan speed level to 2 or higher and let it run for some time to get rid of the remaining moisture.
9.4 Cleaning the hood filter
The hood filter prevents grease particles from getting into the hood system. The filter consists of two elements located on the left and right side of the filter housing.
- Clean the filter as soon as the built-up grease is visible. The cleaning frequency depends on the amount of fat and oil used in cooking. It is recommended to clean the filter every 10-20 hours, or more frequently, if needed.
- The hob has a built-in counter with a notification that reminds you about cleaning the filter. The counter for the notification starts automatically when you turn on the hood for the first time. After 100 hours of use the filter indicator starts blinking to signal that it is time to clean the filter. The notification stays on for 30 seconds after you deactivate the hood and the hob. The notification does not block the use of the hob.
WARNING!
An oversaturated filter can pose a risk of fire.
Disassembling / reassembling the filter
The filter and filter housing are located right under the grid in the centre of the hob.
Remove them carefully as they might be slippery due to accumulated grease.
- Remove the grid.

- Take out the filter housing.

- Gently push the two elements from the outside in and fold them together. Then take out the filter from the filter housing.


- Reassemble the filtering unit after cleaning:
a. Slide the filter elements inside the filter housing along the built-in runners.
b. Place the filter housing back inside the hood cavity.
Cleaning the filter housing
Wash the filter housing manually using a mild detergent and a soft cloth. You can also wash it in the dishwasher.
Cleaning the filter
- Wash the filter in warm water using a mild cleaning agent. You can use a soft sponge, a soft cloth, or a non-abrasive cleaning brush to remove food remains, if necessary. You can also wash the filter in a dishwasher at 65-70 °C (using a program longer than 90 min), without dishes in the same load.
- Dry the filter in the oven for 20-30 min at 70 °C. Place the filter on the middle wire shelf. Make sure to use a non-fan oven function. Alternatively, you can leave the
filter to dry overnight at room temperature. The filter needs to be fully dried before reassembly. - Reassemble the filtering unit and put it back inside the hood cavity.
- If the notification
is on, press
briefly to reset the counter.
The counter restarts.
TROUBLESHOOTING
WARNING!
Refer to Safety chapters.
10.1 What to do if…
| Problem | Possible cause | Remedy |
| You cannot activate or operate the hob. | The hob is not connected to an elec- trical supply or it is connected incor- rectly. | Check if the hob is correctly connected to the electrical supply. |
| The fuse is blown. | Make sure that the fuse is the cause of the malfunction. If the fuse is blown again and again, contact a qualified electrician. | |
| You did not set the heat setting for 60 seconds. | Activate the hob again and set the heat setting in less than 60 seconds. | |
| You touched 2 or more sensor fields at the same time. | Touch only one sensor field. | |
| Pause operates. | Refer to “Pause”. | |
| There is water or fat stains on the control panel. | Clean the control panel. | |
| You can hear a constant beep noise. | The electrical connection is incor- rect. | Disconnect the hob from the electrical supply. Ask a qualified electrician to check the installation. |
| You cannot select the maximum heat setting for one of the cook- ing zones. | The other zones consume the maxi- mum available power. Your hob works properly. | Reduce the heat setting of the other cooking zones connected to the same phase. Refer to “Power management”. |
| An acoustic signal sounds and the hob deactivates. An acoustic signal sounds when the hob is deactivated. | You put something on one or more sensor fields. | Remove the object from the sensor fields. |
| The hob deactivates. | You put something on the sensor field | Remove the object from the sensor field. |
| Residual heat indicator does not come on. | The zone is not hot because it oper- ated only for a short time or the sen- sor is damaged. | If the zone operated sufficiently long to be hot, speak to an Authorised Service Centre. |
| The control panel becomes hot to the touch. | The cookware is too large or you put it too close to the control panel. | Put large cookware on the rear zones, if possible. |
| There is no sound when you touch the panel sensor fields. | The sounds are deactivated. | Activate the sounds. Refer to “Daily use”. |
| The indicator above the symbol | Child Safety Device or Lock oper- ates. | Refer to “Child Safety Device” and “Lock”. |
| Problem | Possible cause | Remedy |
| The control bar blinks. | There is no cookware on the zone or the zone is not fully covered. | Put cookware on the zone so that it fully covers the cooking zone. |
| The cookware is unsuitable. | Use cookware suitable for induction hobs. Refer to “Hints and tips”. | |
| The diameter of the bottom of the cookware is too small for the zone. | Use cookware with correct dimensions. Refer to “Technical data”. | |
| The hood does not start or turns off. The indicators above the hood control symbols might also blink. | The fan may turn off by itself in cer- tain conditions, e.g. when the room is not properly ventilated. | Open the window. You may need to in-stall the window switch. Refer to “As-sembly”. If the window switch is al-ready present, make sure it was correctly installed. Refer to the installation booklet. Press any symbol. The hood operates again. |
| The hood fan does not work properly when the hood functions are activated. | The ambient temperature surround- ing the hood is too high. There is insufficient air circulation in- side and around the hood. | Deactivate the hob and unplug it from the main power supply. Wait at least 10 seconds, then plug it in again. Other suggestions: Try to cool down the temperature of the surrounding area. Take out the hood filter and remove the residual moisture from the inside of the hood. Refer to “Care and cleaning”. Leave the hood system to dry for one day, then activate the hood again. |
| The steam produced during cooking is not sufficiently absor- bed by the hood. | The lids on the cookware are not properly placed. | If your cookware does not have vented lids, make sure to tilt the lids so that the released steam is directed towards the hood. Refer to “Hints and Tips” for information on the special Steam Vented Lids recommended to be used with the integrated hood. |
| The hood filter is oversaturated. | Clean the hood filter and reset the notification. Refer to “Care and cleaning”. | |
| There is an error in the hob. | Deactivate the hob and activate it again after 30 seconds. If |
10.2 If you cannot find a solution…
If you cannot find a solution to the problem yourself, contact your dealer or an Authorised Service Centre. Give the data from the rating plate. Make sure, you operated the hob correctly. If not the servicing by a service technician or dealer will not be free of charge, also during the warranty period. The information about guarantee period and
Authorised Service Centres are in the guarantee booklet.
TECHNICAL DATA
11.1 Rating plate
| Model CDE84543FB Typ 66 D4A 01 AA Induction 7.35 kW Ser.Nr. …………….. AEG | PNC 949 597 894 00 220 – 240 V / 400 V 2N, 50 Hz Made in: Germany 7.35 kW ![]() |
11.2 Cooking zones specification
| Cooking zone | Nominal power (maximum heat setting) [W] | PowerBoost [W] | PowerBoost maximum duration [min] | Cookware diameter [mm] |
| Left front | 2300 | 3200 | 10 | 125 – 210 |
| Left rear | 2300 | 3200 | 10 | 125 – 210 |
| Right front | 1400 | 2500 | 4 | 125 – 145 |
| Right rear | 1800 | 2800 | 10 | 145 – 180 |
The power of the cooking zones can be different in some small range from the data in the table. It changes with the material and dimensions of the cookware. For optimal cooking results use cookware no larger than the diameter in the table.
ENERGY EFFICIENCY
12.1 Product Information for hob according to EU and UK Ecodesign Regulations
| Model identification | CDE84543FB | |
| Type of hob | Built-In Hob | |
| Number of cooking zones | 4 | |
| Heating technology | Induction | |
| Diameter of circular cooking zones (Ø) | Right front Right rear | 14.5 cm 18.0 cm |
| Length (L) and width (W) of non circular cooking zone | Left front | L 22.09 cm W 21.8 cm |
| Length (L) and width (W) of non circular cooking zone | Left rear | L 22.09 cm W 21.8 cm |
| Energy consumption per cooking zone (EC electric cooking) | Left front Left rear Right front Right rear | 188.9 Wh/kg 188.9 Wh/kg 180.8 Wh/kg 176.9 Wh/kg |
| Energy consumption of the hob (EC electric hob) | 183.9 Wh/kg |
IEC / EN 60350-2, BS EN 60350-2 Household electric cooking appliances -Part 2: Hobs – Methods for measuring performance.
The energy measurements referring to the cooking area are identified by the markings of the respective cooking zones.
12.2 Hob – Energy saving
You can save energy during everyday cooking if you follow the hints below.
- When you heat up water, use only the amount you need.
- If it is possible, always put the lids on the cookware.
- Put the cookware directly in the centre of the cooking zone.
- Use the residual heat to keep the food warm or to melt it.
12.3 Product Information and Product Information Sheet for hood according to EU and UK Ecodesign and Energy Labelling Regulations
| Product Information Sheet | ||
| Suppliers name or trade mark | AEG | |
| Model identifier | CDE84543FB | |
| Annual Energy Consumption – AEChood | 30.9 | kWh/a |
| Energy Efficiency Class | A + | |
| Fluid Dynamic Efficiency – FDEhood | 33.1 | |
| Fluid Dynamic Efficiency class | A | |
| Lighting Efficiency – LEhood | – | luxiW |
| Lighting Efficiency Class | – | |
| Grease Filtering Efficiency – GFEhood | 85.1 | % |
| Grease Filtering Efficiency class | B | |
| Minimum Air Flow in normal use | 260.0 | m3/h |
| Maximum Air Flow in normal use | 500.0 | m3/h |
| Air Flow at intensive/boost setting | 630.0 | m3/h |
| A-weighted Sound Power Emissions at minimum speed | 48 | db(A) re 1 pW |
| A-weighted Sound Power Emissions at maximum speed | 64 | db(A) re 1 pW |
| A-weighted Sound Power Emissions at intensive or boost speed | 69 | db(A) re 1 pW |
| Measured power consumption off mode – Po | 0.49 | W |
| Measured power consumption in standby mode – Ps | – | W |
| Additional Information | ||
| Time increase factor – f | 0.8 | |
| Energy Efficiency Index – EElhood | 42.0 | |
| Measured air flow rate at best efficiency point – QBEP | 268.5 | m3/h |
| Measured air pressure at best efficiency point – PBEP | 469 | Pa |
| Maximum air flow – Qmax | 630.0 | m3/h |
| Measured electric power input at best efficiency point – WBEP | 105.8 | W |
| Nominal power of the lighting system – WL | – | W |
| Average illumination of the lighting system on the cooking surface – Emiddle – | lux | |
Appliance tested according to: IEC / EN 61591, BS EN 61591, IEC / EN 60704-1, BS EN 60704-1, IEC / EN 60704-2-13, BS EN 60704-2-13, IEC / EN 50564, BS EN 50564.
12.4 Hood – Energy saving
You can save energy during everyday cooking if you follow the hints below.
- When you start cooking, set the hood fan at a low speed level. Once the cooking is finished, keep the hood running for a few minutes.
- Increase the fan speed only to get rid of large amounts of steam or smoke. It is recommended to use the Boost function only in extreme situations.
- Clean the hood filter regularly and replace it when necessary to maintain its efficiency.
- Use the maximum diameter of the ducting system to optimize efficiency and minimize noise.
ENVIRONMENTAL CONCERNS
Recycle materials with the symbol
. Put the packaging in relevant containers to recycle it.
Help protect the environment and human health by recycling waste of electrical and electronic appliances. Do not dispose of appliances marked with the symbol
with
the household waste. Return the product to your local recycling facility or contact your municipal office.

867378088-B-092023
























