Magnetic Lens Ring
User Manual
Magnetic Lens Ring

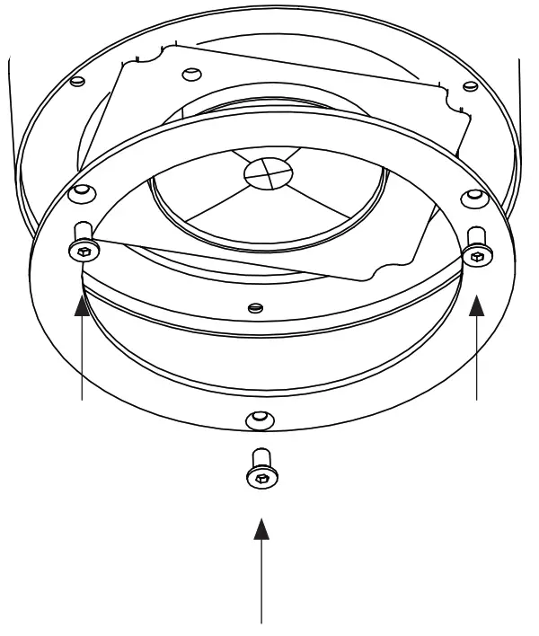
Unmount the current ring placed under the camera head by unassembling the three screws using the supplied tool.

This step only applies to TAGARNO TREND + PRESTIGE systems.
For TAGARNO MOVE, ZAP and FRONT, please continue to the next step.
Mount the provided steel ring, using the three supplied screws and tool.
Assemble each lens to a magnetic lens ring by combining the threads from the lens and the ring.
The magnetic lens rings are compatible with all TAGARNO lenses. However, for FRONT, there’s certain limitations. For more info, we refer to the product manual.
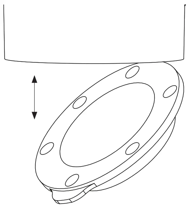
Position the lens and lens ring under the camera head so that the magnetic lens ring and the steel ring are connected correctly.
Since the lens ring is magnetic, it clicks right into place. The pin makes it easy to unmount the lens ring and switch to another one.
TAGARNO A/S
Finlandsvej 2
8700 Horsens
Denmark
+45 76251111
[email protected]
tagarno.com
VERSION: 1.4 | 2022-09-30


















