BRAS ATLAS UL Slush Machine Instruction Manual

SPARE PARTS LIST – Available on the Internet at : http://www.brasspa.com/download
This dispenser is manufactured under one or more of the following U.S. patents and/or other pending patents: US 2013,0263747 – US 2013,0152620 – US 2013,0098098 – US 2012,0234035 – US 6467,944 – US 5713,214 – US 6546,843 – DE 6010,0684 WO 2012,085692 – WO 2012,032425 – WO 2012,004687 – WO 2013,011078 – EP 2478,774 – EP 1155,622 – EP 0799,575 – EP 1162,168
1 TECHNICAL CHARACTERISTICS

IMPORTANT
Read electrical ratings written on the data plate of the individual units; the data plate is adhered on the dispensing side panel of the unit, just behind the drip tray (the right side drip tray in multiple bowl models). The serial number of the unit (preceded by the symbol #) is adhered inside the left switch box. Data plate specifications will always supersede the information in this manual.
The electric diagram of the dispenser is located in the inner part of the dispensing side panel.
Specifications are subject to change without notice.
2 INTRODUCTION
Please read all sections of this manual thoroughly to familiarize yourself with all aspects of the unit. Like all mechanical products, this machine will require cleaning and maintenance. Besides, dispenser working can be compromised by operator’s mistakes during disassembly and cleaning. It is strongly recommended that personnel responsible for the equipment’s daily operations, disassembly, cleaning, sanitizing and assembly, go through these procedures in order to be properly trained and to make sure that no misunderstandings exist.
3 INSTALLATION
- Remove the corrugate container and packing materials and keep them for possible future use.
IMPORTANT
When handling the machine never grasp it by the bowls or by the evaporator cylinders. The manufacturer refuses all responsibilities for possible damages which may occur through incorrect handling. - Inspect the uncarted unit for any possible damage. If damage is found, call the delivering carrier immediately to file a claim.
- Install the unit on a counter top that will support the combined weight of dispenser and product bearing in mind what is stated in the preceding point 1 IMPORTANT warning.
- A minimum of 15 cm (6″) of free air space all around the unit should be allowed to guarantee adequate ventilation.
- Ensure that the legs are screwed tightly into the base of the machine. Replace the standard legs originally installed with the 100 mm (4″) legs whenever they are provided with the unit.
- Before plugging the unit in, check if the voltage is the same as that indicated on the data plate. Plug the unit into a grounded, protected single phase electrical supply according to the applicable electrical codes and the specifications of your machine. When the unit has no plug, install a proper grounded plug, in compliance with electrical codes in force in your area, suitable to at least 10 Amp 250 Volt (220-230 Volts 50-60 Hz areas) and 20 Amp 250 Volt (100-115 Volts 50-60 Hz areas) applications. Should you prefer to connect the unit directly to the mains, connect the supply cord to a 2-pole wall breaker, whose contact opening is at least 3 mm. Do not use extension cords.
ATTENTION
Failure to provide proper electrical ground according to applicable electrical codes could result in serious shock hazard. - The unit doesn’t come presanitized from the factory. Before serving products, the dispenser must be disassembled, cleaned and sanitized according to this handbook instructions (chapter 5.3 CLEANING AND SANITAZING PROCEDURES).
IMPORTANT
Install the dispenser so that the plug is easily accessible.
4 TO OPERATE SAFELY
- Do not operate the dispenser without reading this operator’s manual.
- Do not operate the dispenser unless it is properly grounded.
- Do not use extension cords to connect the dispenser.
- Do not operate the dispenser unless all panels are restrained with screws.
- Do not obstruct air intake and discharge openings: 15 cm (6″) minimum air space all around the dispenser.
- Do not put objects or fingers in panels louvers and faucet outlet.
- Do not remove bowls, augers and panels for cleaning or routine maintenance unless the dispenser is disconnected from its power source.
- Do not pour food product inside the dispenser at a temperature higher than 40°C.
5 OPERATING PROCEDURES
ATTENTION
In case of damages, the power cord must be replaced by qualified personnel only in order to prevent any shock hazard.
- Clean and sanitize the unit according to the instructions in this manual. See chapter 5.3 CLEANING AND SANITIZING PROCEDURES.
- Fill the bowls with product to the maximum level mark. Do not overfill. The exact quantity of product (expressed as litters and gallons) is shown by marks on the bowl.
- In case of products to be diluted with water, potable water, pour water into bowl first, then add correct quantity of product. In case of natural squashes, it is advisable to strain them, in order to prevent pulps from obstructing the faucet outlet.
- To obtain the best performance and result, use bases designed to be run in Granita freezers. Such bases have a sugar content of 34 degrees Baumé corresponding to 64 degrees Brix. For soft drinks the bases are to be diluted with more water, on a 1 plus 5/5.5 basis. In any case follow the syrup manufacturer’s instructions for both Granita and soft drink recipes. If natural juices (e.g. lemon, orange) as well as sugarless products (e.g. coffee) are used, dissolve 150 – 200 grams of sugar per litter.
IMPORTANT
However Granita mix may be done, its Brix (sugar percent content) must be at least 13.
IMPORTANT
Operate the dispenser with food products only. - Install the covers and check that they are correctly placed over the bowls. There must be a correct electrical connection between the bowl and the cover.
IMPORTANT
For LS models only: if the covers are not correctly installed the unit does not run, the mixer does not rotate and the refrigerator is switched off. - Set the control switches as shown in chapter 5.1 DESCRIPTION OF CONTROLS.
- Always leave the dispenser on, as the refrigeration stops automatically when Granita reaches the proper thickness. The mixers will continue to turn.
- To remove the cover push any of the two fixing buttons and lift it. (see figure 1)

- It is possible to lock the cover by rotating the two keys located on its lower part. (see figure 2)

- To release a locked top cover it is necessary to insert a sharpened object in the hole located in the middle of the fixing button, push it and lift the cover. (see figure 3)

- If you use the dispenser with milk-based products, never switch it off. When not in use activate the storage function.
5. 1 DESCRIPTION OF CONTROLS
The dispenser is equipped with a power switch and a light switch. In addition each bowl is individually operated by a mixer/ refrigeration switch. In fact it is possible to dispense both soft drinks and Granita. When a bowl is in Soft Drink mode the beverage temperature is controlled by the corresponding thermostat. When a bowl is in Granita mode the mix viscosity is controlled by the corresponding adjustment screw located in the rear wall of each container (for temperature and viscosity setting make reference to chapter 5.2 OPERATION HELPFUL HINTS). All the switches are located on the faucet side of the dispenser in switch panels protected by switch covers (see figure 4).

In addition all the models except MT 1 are equipped with an automatic safety pressure switch to prevent damages to the compressor. The lighting of the warning light at the left of the switch covers means insufficient ventilation of the unit. In this case check that all around the dispenser there is sufficient space for ventilation, at least 15 cm (6″) on each side and that condenser filter is free from dust or other obstructions. In case the warning light is still ON even after these operations have been carried out, Service call is required. With reference to figure 5 dispenser controls functions are as follows:


To operate the unit:
- Set the power switch to I position.
- Set the mixer/refrigeration switches as follows:
– to the I position to get soft drink.
– to the II position to get Granita. - Set the light switch to I position.
5. 2 OPERATION HELPFUL HINTS
- Granita viscosity adjustment: proper Granita viscosity is factory preset. To change the viscosity, if needed, use a standard screwdriver to turn the adjustment screw located in the rear wall of each container as follows (see figure 6):
– towards right (clockwise) to obtain a thicker product (the indicator F will go down in opening G).
– towards left (counter clockwise) to obtain a thinner product (the indicator F will go up in opening G).
- Beverage temperature adjustment: proper beverage temperature is factory preset. To reset, turn the knob located in each switch box as follows: – towards right (clockwise) to decrease temperature. – towards left (counter clockwise) to increase temperature.
Note: beverage temperature is controlled by the thermostat only when the mixer/refrigeration switch(es) are in I position, Soft Drink mode. - The length of time for freeze down of Granita is governed by many variables, such as ambient temperature, mix initial temperature, sugar content (Brix level) and viscosity setting.
- To shorten Granita recovery time and increase productivity, it is advisable to pre-chill the product to be used in the dispenser.
- To shorten Granita recovery time and increase productivity, the bowl should be refilled after the product level drops lower than half of the evaporator cylinder and at the start of each day.
- For good product conservation the dispenser must run overnight, at least in Soft Drink mode. If this is not possible and product is left in the bowls overnight, the mixer/refrigeration switches must be set to the I position at least one hour before the unit is switched off. This eliminates any block of iced product forming overnight, which could result in damage to mixers or to their motor when the unit is switched back on. In any case, before the unit is restarted, make sure that no blocks of ice have been formed; if so, they are to be removed before the unit is switched on. Overnight operation in drink mode also eliminates possible ice accumulation from condensation all around the bowls.
- Mixers must not be turned off when frozen product is in the bowl: if not agitated, the product may freeze to a solid block of ice. If the mixers are turned back on in this situation, damage to the mixers and their motor may result. Therefore, mixers may be restarted only after product is melted.
- The dispenser is equipped with a magnetic coupling by which the gear motor (located outside the bowl) drives the mixers (inside the bowl). The magnetic drive operates as an “intelligent clutch” able to automatically disconnect the mixers in case they are seized by ice or other causes. This inconvenience can be soon noticed since an intermittent dull noise warns that mixers are still. In this case it is necessary to unplug immediately the dispenser, empty the bowl and eliminate the cause of seizing.
- The dispenser must be able to emit heat. In case it seems excessive, check that no heating source is close to the unit and air flow through the slotted panels is not obstructed by wall or boxes. Allow at least 15 cm (6″) of free clearance all around the dispenser. In any case if the product in the bowls is frozen the unit is running properly.
5. 3 CLEANING AND SANITIZING PROCEDURES
- Cleaning and sanitizing of the dispenser are recommended to guarantee the conservation of the best product taste and the highest unit efficiency. This section is a procedural guideline only and is subject to the requirements of the local Health Authorities.
- Prior to the disassembly and cleaning, the machine must be emptied of product. To do this proceed as follows:
– set the power switch to I position
– set mixer/refrigeration switch(es) to I position (Soft Drink mode)
– place a pail under each faucet and drain all product from bowls
– set all control switches to the 0 position
IMPORTANT
Cleaning, washing and sanitizing, as described in the following chapters, should be performed on a daily basis.
5. 3. 1 DISASSEMBLY
ATTENTION
Before any disassembly and/or cleaning procedure make sure that the dispenser is disconnected from its power source by unplugging it or switching off the 2-pole wall breaker.
- Remove cover from the bowl.
- Remove the bowl by lifting its faucet side up and off the fastening hooks (see figure 7) and slide it out (see figure 8).

- Slide the outer spiral out (see figure 9) and then the inside auger (see figure 10).

- Remove the bowl gasket from its seat (see figure 11).

- Remove the faucet assembly sliding the pin and pulling up the handle. (see figure 12).

- Slide the drip tray out and empty it.
5. 3. 2 CLEANING
IMPORTANT
Do not attempt to wash any machine components in a dishwasher.
ATTENTION
Before any disassembly and/or cleaning procedure make sure that the dispenser is disconnected from its power source.
- Prepare at least two gallons of a mild cleaning solution of warm (45-60 °C 120-140 °F) potable water and dishwashing detergent. Do not use abrasive detergent. Important: if present, follow label directions, as too strong a solution can cause parts damage, while too mild a solution will not provide adequate cleaning.
IMPORTANT
In order to prevent any damages to the dispenser use only a detergent suitable with plastic parts. - Using a brush, suitable for the purpose, thoroughly clean all disassembled parts in the cleaning solution.
ATTENTION
When cleaning the machine, do not allow excessive amounts of water around the electrically operated components of the unit. Electrical shock or damage to the machine may result. - Do not immerse the lighted top covers in liquid. Wash them apart with the cleaning solution. Carefully clean their undersides.
- In the same manner clean the evaporator cylinder(s) using a soft bristle brush.
- Rinse all cleaned parts with cool clean water. the rear wall (see figure 15).
5. 3. 3 SANITIZING
Sanitizing should be performed immediately prior to starting the machine. Do not allow the unit to sit for extended periods of time after sanitization. Sanitization must be performed whenever the distributor is put back into operation with a new product.
- Wash hands with a suitable antibacterial soap.
- Prepare at least two gallons of a warm (45-60 °C 120140 °F) sanitizing solution (100 PPM available chlorine concentration or 1 spoon of sodium hypoclorite diluted with 2 litres of water) according to your local Health Codes and manufacturer’s specifications.
- Place the parts in the sanitizing solution for five minutes.
- Do not immerse the lighted top covers in liquid. Carefully wash their undersides with the sanitizing solution.
- Place the sanitized parts on a clean dry surface to air dry.
- Wipe clean all exterior surfaces of the unit. Do not use abrasive cleaner.
5. 3. 4 ASSEMBLY
1 – Slide the drip tray into place.
- Lubricate faucet piston, inside auger and outer spiral (see points A, B and C of figure 13) only with the grease supplied by the manufacturer or other food grade approved lubricant.

- Assemble the faucet by reversing the disassembly steps (see figure 12)
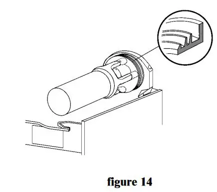
- Fit bowl gasket around its seat. Note: the largest brim of gasket must face against the rear wall (see figure 14).

- Insert the auger into the evaporator taking care to accompany it to the end so as to prevent it from hitting against the rear wall (see figure 15).

- Install the outer spiral. Slide it over the evaporator until its front notch engages with the exposed end of the auger shaft (see figure 16).

- Push the bowl towards the rear wall of the unit until it fits snugly around the gasket and its front fastening hooks are properly engaged (see figure 17).

- Use fresh product to chase any remaining sanitizer from the bottom of the bowl(s). Drain this solution. Do not rinse out the machine.
5. 4 IN-PLACE SANITIZATION
The In-Place Sanitization prior to starting the machine may be performed, if needed, only as further precaution, in addition to the Disassembled Parts Sanitization described before, but never in lieu of it.
- Prepare two gallons of a warm (45-60°C, 120-140 °F) sanitizing solution (100 PPM available chlorine concentration or 1 spoon of sodium hypoclorite diluted with 2 litters of water) according to your local Health Codes and manufacturer’s specifications.
- Pour the solution into the bowl(s).
- Using a brush suitable for the purpose, wipe the solution on all surfaces protruding above the solution-level and on the underside of the top cover(s).
- Install the top cover(s) and operate the unit. Allow the solution to agitate for about two minutes. Drain the solution out of the bowl(s).
- Use fresh product to chase any remaining sanitizer from the bottom of the bowl(s). Drain this solution. Do not rinse out the machine.
6 ROUTINE MAINTENANCE
- Daily: inspect the machine for signs of product leaks past seals and gaskets. If proper assembly does not stop leaks around seals or gaskets, check for improper lubrication, worn or damaged parts. Replace parts as needed.
ATTENTION
Before any disassembly and/or cleaning procedure make sure that the dispenser is disconnected from its power source by unplugging it or switching off the 2-pole wall breaker. - Monthly: remove the dust from the condenser filter. A blocked filter will reduce performance and could cause compressor failure. Remove the only left panel (from faucet side) unscrewing the two plastic coated screws (see figure 18).

ATTENTION
Condenser fins are very sharp. Use extreme caution when cleaning. - Replacement of lighted top cover bulbs: remove the fixing screw located in the upper part of the cover, lift the socket and replace the bulbs. Reassembly the support and the fixing screw. (see figure 19)

6. 1 MAINTENANCE (TO BE CARRIED OUT BY QUALIFIED SERVICE PERSONNEL ONLY)
- Annually: remove the panels and clean the inside of the machine including the base, side panels, condenser, etc.
- Annually: Check if the auger bushings are worn out or ovalized. If they are, replace them with new ones.
- When installed, the anti-splash filters inside the slotted panels must not be removed.
- Never remove the insulating jacket from around the suction tubing of the evaporator (the copper tubing located on the right side of gear motor). In case the insulating jacket is missing replace the entire parts with original spare parts from the supplier.
- In order to prevent any damages to the dispenser, all plastics parts must be lubricated only with grease supplied by the manufacturer or with another lubricating product suitable for polycarbonate.
7 DEFROST TIMER
The Defrost Timer, located on the right side of the unit, automatically switches the dispenser from Granita mode to Soft Drink mode and the opposite. This means that during defrost periods frozen Granita will melt to thermostat setting temperature and once defrost period has expired, the product automatically freezes down again to Granita setting viscosity.
To operate the defrost timer proceed as follows (see figure 20).
- Set the time of the day by rotating the dial clockwise (arrow A). Never rotate the timer counter clockwise as this would damage the internal mechanism. Align the current time of day with the arrow B on the timer face. This is a 24 hour timer showing both A.M. and P.M.
- Program the defrost timer by pushing out on the tabs C that correspond to the hours desired to defrost. Each tab represents 15 minutes. A minimum of four to eight hours are required to defrost frozen beverage (depending on ambient conditions).
Note: when all the tabs are pushed in the defrost function is OFF (the machine operates as if it were not equipped with Defrost Timer).
NOTES
________________________________________________________________________________________________________________________________________________________________________________________________________________________________________________________________________________________________________________________________________________________________________________________________________________________________________________________________________________________________________________________________________________________________________________________________________________________________________________________________________________________

02466-00029 R4.7 21M13




























