Milano FBM1P Cream Machine
Instruction Manual
OPERATOR’S MANUAL
SPARE PARTS LIST – Available on the Internet at : http://www.brasspa.com/download
TECHNICAL CHARACTERISTICS
| FBM1P | FBM2 | FBM3 | ||
| Transparent removable bowls | n | 1 | 2 | 3 |
| Capacity of each bowl, approx. | l | 10 | 10 | 10 |
| Dimensions: | ||||
| width | cm | 28 | 36 | 54 |
| depth | cm | 48 | 48 | 48 |
| height | cm | 70 | 70 | 70 |
| Net weight, approx. | kg | 26 | 39 | 53 |
| Gross weight, approx. | kg | 28 | 42 | 56 |
| Adjustable thermostats | n | 1 | 2 | 3 |
| Hermetic compressor | ||||
| Air-cooled condenser | ||||
| Overload protector | ||||
| Noise level lower than 70 dB (A) | ||||
IMPORTANT
Read electrical ratings written on the data plate of the individual units; the data plate is adhered on the dispensing side panel of the unit, just behind the drip tray (the right side drip tray in multiple bowl models). The serial number of the unit (preceded by the symbol #) is adhered inside the left switch box. Data plate specifications will always supersede the information in this manual.
The electric diagram of the dispenser is located in the inner part of the dispensing side panel.
Specifications are subject to change without notice.
INTRODUCTION
Please read all sections of this manual thoroughly to familiarize yourself with all aspects of the unit.
Like all mechanical products, this machine will require cleaning and maintenance. Besides, dispenser working can be compromised by operator’s mistakes during disassembly and cleaning. It is strongly recommended that personnel responsible for the equipment’s daily operations, disassembly, cleaning, sanitizing and assembly, go through these procedures in order to be properly trained and to make sure that no misunderstandings exist.
INSTALLATION
- Remove the corrugate container and packing materials and keep them for possible future use.
IMPORTANT
When handling the machine never grasp it by the bowls or by the evaporator cylinders. The manufacturer refuses all responsibilities for possible damages which may occur through incorrect handling. - Inspect the uncrated unit for any possible damage. If damage is found, call the delivering carrier immediately to file a claim.
- Install the unit on a counter top that will support the combined weight of dispenser and product bearing in mind what is stated in the preceding point 1 IMPORTANT warning.
- A minimum of 15 cm (6”) of free air space all around the unit should be allowed to guarantee adequate ventilation.
- Ensure that the legs are screwed tightly into the base of the machine.
Replace the standard legs originally installed with the 100 mm (4”) legs whenever they are provided with the unit. - Before plugging the unit in, check if the voltage is the same as that indicated on the data plate. Plug the unit into a grounded, protected single phase electrical supply according to the applicable electrical codes and the specifications of your machine. When the unit has no plug, install a proper grounded plug, in compliance with electrical codes in force in your area, suitable to at least 10 Amp 250 Volt (220-230 Volts 50-60 Hz areas) and 20 Amp 250 Volt (100-115 Volts 50-60 Hz areas) applications. Should you prefer to connect the unit directly to the mains, connect the supply cord to a 2-pole wall breaker, whose contact opening is at least 3 mm. Do not use extension cords.
ATTENTION
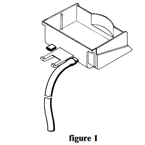
Failure to provide proper electrical ground according to applicable electrical codes could result in serious shock hazard. - Each drip tray has two diaphragm plugs: if a continuous drain is needed, perforate one of the drain plugs and connect it to a flexible drain line (see figure 1).

- The unit doesn’t come presanitized from the factory. Before serving products, the dispenser must be disassembled, cleaned and sanitized according to this handbook instructions (chapter 5.3 CLEANING AND SANITAZING PROCEDURES).
IMPORTANT
Install the dispenser so that the plug is easily accessible.
TO OPERATE SAFELY
- Do not operate the dispenser without reading this operator’s manual.
- Do not operate the dispenser unless it is properly grounded.
- Do not use extension cords to connect the dispenser.
- Do not operate the dispenser unless all panels are restrained with screws.
- Do not obstruct air intake and discharge openings: 15 cm (6”) minimum air space all around the dispenser.
- Do not put objects or fingers in panels louvers and faucet
- Do not remove bowls, augers and panels for cleaning or routine maintenance unless the dispenser is disconnected from its power source.
- Do not pour food product inside the dispenser at a temperature higher than 40°C.
OPERATING PROCEDURES
- Clean and sanitize the unit according to the instructions in this manual. See chapter 5.3 CLEANING AND SANITIZING PROCEDURES.
- Fill the bowls with product to the maximum level mark. Do not overfill.
The exact quantity of product (expressed as liters and gallons) is shown by marks on the bowl. - In case of products to be diluted with water, pour water into bowl first, then add correct quantity of product. In case of natural squashes, it is advisable to strain them, in order to prevent pulps from obstructing the faucet outlet.
- To obtain the best performance and result, use bases designed to be run in Granita freezers. Such bases have a sugar content of 34 degrees Baumé corresponding to 64 degrees Brix.
For soft drinks the bases are to be diluted with more water, on a 1 plus 5/5.5 basis.
In any case follow the syrup manufacturer’s instructions for both Granita and soft drink recipes.
If natural juices (e.g. lemon, orange) as well as sugarless products (e.g. coffee) are used, dissolve 150 – 200 grams of sugar per liter.
IMPORTANT
Operate the dispenser with food products only.
IMPORTANT
However Granita mix may be done, its Brix (sugar percent content) must be at least 13. - Set the control switches as shown in chapter 5.1 DESCRIPTION OF CONTROLS.
- Always leave the dispenser on, as the refrigeration stops automatically when Granita reaches the proper thickness. The mixers will continue to turn.
- If you use the dispenser with milk-based products, never switch it off. When not in use activate the storage function.
5. 1 DESCRIPTION OF CONTROLS
The dispenser is equipped with a power switch and a light switch. In addition each bowl is individually operated by a mixer/refrigeration switch. In fact it is possible to dispense both soft drinks and Granita.
When a bowl is in Soft Drink mode the beverage temperature is controlled by the corresponding thermostat.
When a bowl is in Granita mode the mix viscosity is controlled by the corresponding adjustment screw located in the rear wall of each container (for temperature and viscosity setting make reference to chapter 5.2 OPERATION HELPFUL HINTS).
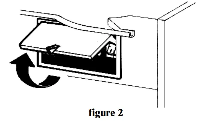
All the switches are located on the faucet side of the dispenser in switch panels protected by switch covers (see figure 2).
With reference to figure 3 dispenser controls functions are as follows:

Power switch (A)
| Power switch (A) | |
| 0 position | : power is turned OFF to all functions. |
| I position | : power is turned ON to all functions and the other switches are enabled. The fan otor runs. |
| Light switch (E) | |
| 0 position | : all top cover lights are OFF. |
| I position | : all top cover lights are ON, provided that power switch (A) is set to I. |
| Mixer/refrigeration switch (B) | |
| I position | : mixer and refrigeration ON. SOFT DRINK mode. |
| 0 position | : OFF. |
| II position | : mixer and refrigeration ON. GRANITA mode. |
| Thermostat (D) | |
| Turn clockwise | : to decrease temperature |
| Turn counterclockwise | : to increase temperature |
To operate the unit:
- Set the power switch to I position.
- Set the mixer/refrigeration switches as follows:
– to the I position to get soft drink.
– to the II position to get Granita. - Set the light switch to I position.
5. 2 OPERATION HELPFUL HINTS
- Granita viscosity adjustment: proper Granita viscosity is factory preset. To change the viscosity, if needed, use a standard screwdriver to turn the adjustment screw located in the rear wall of each container as follows (see figure 4): – towards right (clockwise) to obtain a thicker product (the indicator F will go down in opening G).
– towards left (counterclockwise) to obtain a thinner product (the indicator F will go up in opening G).
- Beverage temperature adjustment: proper beverage temperature is factory preset. To reset, turn the knob located in each switch box as follows:
– towards right (clockwise) to decrease temperature.
– towards left (counterclockwise) to increase temperature.
Note: beverage temperature is controlled by the thermostat only when the mixer/refrigeration switch(es) are in I position, Soft Drink mode. - The length of time for freeze down of Granita is governed by many variables, such as ambient temperature, mix initial temperature, sugar content (Brix level) and viscosity setting.
- To shorten Granita recovery time and increase productivity, it is advisable to pre-chill the product to be used in the dispenser.
- To shorten Granita recovery time and increase productivity, the bowl should be refilled after the product level drops lower than half of the evaporator cylinder and at the start of each day.
- For good product conservation the dispenser must run overnight, at least in Soft Drink mode.
If this is not possible and product is left in the bowls overnight, the mixer/refrigeration switches must be set to the I position at least one hour before the unit is switched off. This eliminates any block of iced product forming overnight, which could result in damage to mixers or to their motor when the unit is switched back on. In any case, before the unit is restarted, make sure that no blocks of ice have been formed; if so, they are to be removed before the unit is switched on. Overnight operation in drink mode also eliminates possible ice accumulation from condensation all around the bowls. - Mixers must not be turned off when frozen product is in the bowl: if not agitated, the product may freeze to a solid block of ice. If the mixers are turned back on in this situation, damage to the mixers and their motor may result. Therefore, mixers may be restarted only after product is melted.
- The dispenser is equipped with a magnetic coupling by which the gear motor (located outside the bowl) drives the mixers (inside the bowl).
The magnetic drive operates as an “intelligent clutch” able to automatically disconnect the mixers in case they are seized by ice or other causes.
This inconvenience can be soon noticed since an intermittent dull noise warns that mixers are still.
In this case it is necessary to unplug immediately the dispenser, empty the bowl and eliminate the cause of seizing. - The dispenser must be able to emit heat.
In case it seems excessive, check that no heating source is close to the unit and air flow through the slotted panels is not obstructed by wall or boxes. Allow at least 15 cm (6”) of free clearance all around the dispenser.
5. 3 CLEANING AND SANITIZING PROCEDURES
- Cleaning and sanitizing of the dispenser are recommended to guarantee the conservation of the best product taste and the highest unit efficiency. This section is a procedural guideline only and is subject to the requirements of the local Health Authorities.
- Prior to the disassembly and cleaning, the machine must be emptied of product. To do this proceed as follows:
– set the power switch to I position
– set mixer/refrigeration switch(es) to I position (Soft Drink mode)
– place a pail under each faucet and drain all product from bowls
– set all control switches to the 0 position
5. 3. 1 DISASSEMBLY
ATTENTION
Before any disassembly and/or cleaning procedure make sure that the dispenser is disconnected from its power source by unplugging it or switching off the 2-pole wall breaker.
- Remove cover from the bowl.
- Remove the bowl by lifting its faucet side up and off the fastening hooks (see figure 5) and slide it out (see figure 6).

- Slide the outer spiral out (see 3) and then the inside auger

- Remove the bowl gasket from its seat (see figure 9).

- Dismantle the faucet assembly (see figure 10).

- Slide the drip tray out and empty it.
5. 3. 2 CLEANING
IMPORTANT
Do not attempt to wash any machine components in a dishwasher.
ATTENTION
Before any disassembly and/or cleaning procedure make sure that the dispenser is disconnected from its power source.
- Prepare at least two gallons of a mild cleaning solution of warm (45-60 °C 120-140 °F) potable water and dishwashing detergent. Do not use abrasive detergent.
Important: if present, follow label directions, as too strong a solution can cause parts damage, while too mild a solution will not provide adequate cleaning. - Using a brush, suitable for the purpose, thoroughly clean all disassembled parts in the cleaning solution.
ATTENTION
When cleaning the machine, do not allow excessive amounts of water around the electrically operated components of the unit. Electrical shock or damage to the machine may result. - Do not immerse the lighted top covers in liquid. Wash them apart with the cleaning solution. Carefully clean their undersides.
- In the same manner clean the evaporator cylinder(s) using a soft bristle brush.
- Rinse all cleaned parts with cool clean water.
5. 3. 3 SANITIZING
Sanitizing should be performed immediately prior to starting the machine. Do not allow the unit to sit for extended periods of time after sanitization.
Sanitization must be performed whenever the distributor is put back into operation with a new product.
- Wash hands with a suitable antibacterial soap.
- Prepare at least two gallons of a warm (45-60 °C 120140 °F) sanitizing solution (100 PPM available chlorine concentration or 1 spoon of sodium hypoclorite diluted with two litres of water) according to your local Health Codes and manufacturer’s specifications.
- Place the parts in the sanitizing solution for five minutes.
- Do not immerse the lighted top covers in liquid. Carefully wash their undersides with the sanitizing solution.
- Place the sanitized parts on a clean dry surface to air dry.
- Wipe clean all exterior surfaces of the unit. Do not use abrasive cleaner.
5. 3. 4 ASSEMBLY
- Slide the drip tray into place.
- Lubricate faucet piston, inside auger and outer spiral (see points A, B and C of figure 11) only with the grease supplied by the manufacturer or other food grade approved lubricant.

- Assemble the faucet by reversing the disassembly step(see figure 10)
- Fit bowl gasket around its seat.
Note: the largest brim of gasket must face against the rear wall (see figure 12).
- Insert the auger into the evaporator taking care to accompany it to the end so as to prevent it from hitting against the rear wall (see figure 13).

- Install the outer spiral. Slide it over the evaporator until its front notch engages with the exposed end of the auger shaft (see figure 14).

- Push the bowl towards the rear wall of the unit until it fits snugly around the gasket and its front fastening hooks are properly engaged (see figure 15).

- Use fresh product to chase any remaining sanitizer from the bottom of the bowl(s). Drain this solution. Do not rinse out the machine.
5. 4 IN-PLACE SANITIZATION
The In-Place Sanitization prior to starting the machine may be performed, if needed, only as further precaution, in addition to the Disassembled Parts Sanitization described
before, but never in lieu of it.
- Prepare two gallons of a warm (45-60°C, 120-140 °F) sanitizing solution (100 PPM chlorine residual) according to your local Health Codes and manufacturer’s specifications.
- Pour the solution into the bowl(s).
- Using a brush suitable for the purpose, wipe the solution on all surfaces protruding above the solution-level and on the underside of the top cover(s).
- Install the top cover(s) and operate the unit. Allow the solution to agitate for about two minutes. Drain the solution out of the bowl(s).
- Use fresh product to chase any remaining sanitizer from the bottom of the bowl(s). Drain this solution. Do not rinse out the machine.
ROUTINE MAINTENANCE
ATTENTION
In case of damages, the power cord must be replaced by qualified personnel only in order to prevent any shock hazard.
- Daily: inspect the machine for signs of product leaks past seals and gaskets. If proper assembly does not stop leaks around seals or gaskets, check for improper lubrication, worn or damaged parts. Replace parts as needed.
ATTENTION
Before any disassembly and/or cleaning procedure make sure that the dispenser is disconnected from its power source by unplugging it or switching off the 2-pole wall
breaker. - Monthly on FBM 1P, FBM 2 and FBM 3 models: remove the dust from the condenser filter. A blocked filter will reduce performance and could cause compressor failure.
Remove the only left panel (from faucet side) unscrewing the two plastic coated screws (see figure 16).
ATTENTION
Condenser fins are very sharp. Use extreme caution when cleaning. - Replacement of lighted top cover bulb: remove the fixing screw placed in the upper part of the top cover, remove the lower part and replace the bulb (using a 24-28V 21W max bulb). Reassemble the top cover and replace the fixing screw.(see figure 17)

6. 1 MAINTENANCE (TO BE CARRIED OUT BY QUALIFIED SERVICE PERSONNEL ONLY)
- Annually: remove the panels and clean the inside of the machine including the base, side panels, condenser, etc.
- Annually: Check if the auger bushings are worn out or ovalized. If they are, replace them with new ones.
- Never remove the insulating jacket from around the suction tubing of the evaporator (the copper tubing located on the right side of gear motor). In case the insulating jacket is missing replace the entire parts with original spare parts from the supplier.
- In order to prevent any damages to the dispenser, all plastics parts must be lubricated only with grease supplied by the manufacturer or with another lubricating product suitable for polycarbonate.
DEFROST TIMER (OPTIONAL)
The Defrost Timer, located on the right side of the unit, automatically switches the dispenser from Granita/Day mode to Drink/Night mode and the opposite. This means that during defrost periods frozen Granita will melt to thermostat setting temperature and once defrost period has expired, the product automatically freezes down again to Granita setting viscosity.
The Defrost Timer is equipped with a four digit display, some signal dots and three keys whose functions are the following:
A Confirmation key
B Increase key
C Decrease key
D Seconds dots
E Granita/Day Mode dot
F PM dot
G Drink/Night Mode dot
H Defrost Timer ON/OFF dot
To operate the Defrost Timer proceed as follows:
- SET THE TIME OF THE DAY
Press keys A and B simultaneously to enter the Current
Time Setting Mode. Press keys B and C to set the individual values and press key A to confirm and move on to the next selection. The following values must be set:
a. European or American Time Mode: the value “24” or “12” will flash on the display.
b. Setting of current hour: the first two digits will flash on the display.
c. Setting of current minutes: the second two digits will flash on the display.
Once finished the current time will be shown on the display and the two dots (D) will flash.
If American Time Mode is selected dot F will be on during post meridiem hours. - PROGRAM THE DEFROST TIMER
Press keys A and C simultaneously to enter the Defrost Intervals Setting Mode. The setting will always start from time 00:00 and Granita/Day Mode indicated by dot E.
Press keys B and C to increase or decrease the time by intervals of 15 minutes and press key A to modify the operating mode from Granita/Day, indicated by dot E, to Soft Drink/Night, indicated by dot G, and vice versa.
To adjust the intervals, you must select whether the machine should be in Granita/Day or Drink/Night mode at time 00:00 by pressing key A and then press key B until you reach the time you want to change the operating mode.
Now press key A again to switch the mode and the dots E or Gwill come on to indicate the selected mode.
It is possible to scroll backwards and forwards using keys B and C to check the defrost time intervals. It is possible to commute the operating mode every 15 minutes.
In order to exit the Defrost Intervals Setting Mode it is necessary to set time 23:45 (11:45 PM), press key B and message “end” will be shown on the display and then press key A to confirm the exit. - TIMER ON/OFF
Once finished the programming, the Defrost Timer is still deactivated and “—-” is shown on the display. Press key A for 3 seconds to activate the Defrost Timer and vice versa. Dot H will indicate the state of the timer.
Note: when the Defrost Timer is deactivated the defrost function is OFF (the machine operates as if it were not equipped with Defrost Timer).
02471-00029
R5.9 21M14











ATTENTION



















