BRAS SCIROCCO UL Hot Chocolate Dispenser Instruction Manual

SPARE PARTS LIST – Available on the Internet at : http://www.brasspa.com/download
1 TECHNICAL CHARACTERISTICS

IMPORTANT
Electric specifications: read the information on the data plate of each single dispenser, situated on the underside. The serial number of the units is preceded by #
The manufacturer reserves the right to make changes without any prior notification.
2 INTRODUCTION
Read this instruction manual carefully to know the specifications of the dispenser. As all mechanical products, this unit requires cleaning and maintenance. Its working order can be compromised by possible errors made by the operator during disassembly and cleaning. For this reason it is important that the staff in charge of the dispenser is qualified to carry out the day to day operations, which are dismantling, cleaning, sterilisation and reassembly.
3 INSTALLATION
- Remove the dispenser from the packaging. (This should be kept for any future requirement)
- Check the dispenser has not been damaged during transport. The forwarding agent must be notified immediately of any claim.
- Install the dispenser on a counter top that will support its weight, even with a full load.
- Before connecting the dispenser electrically check that the voltage (in the network) is as shown on the data plate. Plug the unit into a grounded, protected single phase electrical supply according to the applicable electrical codes and the specifications of your machine. If you want to make a fixed connection to the network, connect the cord to a bipolar wall breaker with a contact gap of at least 3mm. not use extension cords to connect the unit electrically.
ATTENTION
Ensure that the unit is grounded correctly; if not it may cause electric shock to persons or damage the dispenser. - The dispenser does not leave the factory presanitized and sanitized. Prior to use it must be disassembled, cleaned and sanitized according to the instructions in chapter 7 CLEANING AND SANITIZING PROCEDURES.
4 TO OPERATE SAFELY
- Read the instruction booklet before using the dispenser.
- Use the dispenser only if it is grounded correctly.
- Do not use extension cords to connect the dispenser electrically.
- Do not operate the dispenser if it is not closed and blocked with screws.
- Do not place fingers or objects in the cooling fissures and faucet outlet panels louvers.
- Do not remove the container when the unit is in operation.
- This unit is not meant to be used outside.
- This unit is not to be installed in areas subject to water-spouts.
- Do not use water-jets to clean the unit.
- This unit can work in a room temperature range between +5° and +50°C.
![]()
5 OPERATING PROCEDURES
- Clean and sanitized the dispenser prior to use following the instructions in chapter 7 CLEANING AND SANITIZING PROCEDURES.
- Fill the bowl with the product, prepared according to the instructions of the manufacturer.
- Install the cover above the container making sure that it is placed correctly.
- Set the control switch (see charter 5.1. COMMAND DESCRIPTIONS)
- The dispenser should always operate with the cover installed in order to prevent possible contamination of the product.
- The dispenser must run uninterruptedly; heating will stop automatically when the product is ready for dispensing. The mixing device will continue to operate.
- The dispenser is supplied with a container with a closed removable bottom to facilitate cleaning and sterilisation.
5. 1 DESCRIPTION OF CONTROLS
The dispenser is equipped with a general switch whose functions are:
Position 0 : power is turned off
Position I : mixer and heating device in working order
The dispenser is equipped with a general switch whose functions are: Position 0 : power is turned off.
(ELECTRONIC VERSION)

The dispenser is equipped with a general switch whose functions are:
Position 0 : power is turned off.
Position I : mixing and hating on
The dispenser is also equipped with an electronic device, located on the right side, to control the temperature of the product. This device has one display, to show the set temperature and two keys
whose functions are the following:
Key A : to decrease the desired temperature one degree by one; by keeping it pressed for more than two seconds it is possible to quickly decrease the temperature.
Key B : to increase the desired temperature one degree by one; by keeping it pressed for more than two seconds it is possible to quickly increase the temperature.
On the display, the symbols °C or °F indicates the current temperature unit and the symbol indicates the turning on of the heating element. When the dispenser is turned on, both the mixing and the heating are turned on and on the display the set temperature is shown. The set temperature value blinks until when the product has reached the desired temperature.
When the dispenser is turned OFF all the current settings are saved into memory to be effective at the following power on.
6 OPERATION HELPFUL HINTS
hot chocolate: preparation following the traditional artisan method, mix the cocoa with milk or water well in a pan before pouring it into the bowl. Follow the instructions of the manufacturer if using packaged instantaneous products. It is possible to mix these directly in the container. Activate the dispenser turning the switch to position 1. Turn the thermostat knob to 90°C to obtain the cooking temperature of the product. When the hot chocolate is ready lower the temperature to the value required for dispensing turning the thermostat knob.
IMPORTANT
Before switching off the dispenser completely (switch at position 0), bring the thermostat to the lowest temperature and wait for the product to cool down. This stops the product (if not agitated) from sticking to the hot plate
AUTOMATING COOKING CYCLE electronic version
By pressing together key A and B the dispenser performs an Automatic Cooking Cycle. This means that the product is heated up to 95 °C and maintained at this temperature for 15 minutes. After the expiration of the Automatic Cooking Cycle the product is maintained at the desired temperature set before the cycle. The temperature and the length of the Automatic Cooking Cycle are factory preset. To reset them turn the dispenser off and then turn it on keeping key A pressed. On the display the Cooking Temperature is shown and it is possible to decease or increase it using keys A or B and to confirm it pressing both keys together. Then the length of the Cooking Cycle is shown and it is possible to decease or increase it using keys A or B and to confirm it pressing both keys together.
7 CLEANING AND SANITIZING PROCEDURES
Cleaning and sanitizing are essential to maintain perfect taste and maximum efficiency from your dispenser. The procedures described below are general and can vary due to the sanitary regulations of the local health authorized. The product must be taken out of the dispenser before it is disassembled for cleaning.
7. 1 DISASSEMBLY
ATTENTION
Before proceeding to disassemble any component always disconnect the unit from the electricity removing the plug or switching off the 2 pole wall breaker.
- Empty the bowl and remove the lid
- Remove the mixer from the central shaft
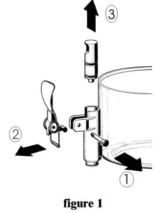
- Dismantle the faucet following the sequence shown (see fig. 1)

- Remove the container, lifting it upwards.
- Remove the drip-tray and empty it.
7. 2 CLEANING
IMPORTANT
Before cleaning disconnect the dispenser from the electricity taking out the plug or turning off the outside switch on the wall.
ATTENTION
Do not wash any component of the machine in the dishwasher.
- Prepare approx. four litres (2 gallons) of hot water (45-60° C) and specific detergent in a bowl according to the instructions of the manufacturer; a solution, which is too concentrated, may cause damage to the parts to be washed, one that is too diluted will not clean adequately. Do not use abrasive detergents.
IMPORTANT
Use detergents compatible with the plastic parts to avoid damaging the dispenser. - Use a suitable brush and carefully clean all the parts in contact with the drink
ATTENTION
Do not use excessive amounts of water near the electric components of the dispenser when washing it as this can cause electric shock or damage the dispenser. - Rinse all the washed parts in running water.
7. 2. 1 SANITIZING
The dispenser must be sanitized prior to starting the machine. Do not allow the unit to sit for extended periods of the time after sanitization. Sanitization must be performed whenever the distributor is put back into operation with a new product.
- Before starting the procedure described below wash hands with an anti-bacterial soap.
- Prepare at least. four litres of hot water (45-60°C) and sterilising product legally approved in your Country, following the instructions of the manufacturer. If there is no specific sterilising product prepare a solution of water and bleach in the following ratio: 1 tbsp: 2 litres of water.
- Immerse all the parts to be sterilised in the solution for time indicated by the manufacturer.
- Allow the sterilised parts to air dry on a clean surface.
- Use non-abrasive cloths to dry the external parts.
7. 3 ASSEMBLY
- Put the drip-tray and grill in place
- Lubricate the faucet piston (in the area A shown in fig. 2) using food grade approved lubricant.

- Reassemble the faucet assembly on the container in the opposite way to which it was dismantled (see fig. 1).
- Install the container putting the central shaft in place.
- Insert the mixer in the central shaft
- Position the cover on the container.
8 MAINTENANCE
- Daily: check the dispenser for any loss of product from the gaskets. If there is, first check the dispenser is assembled correctly making sure that the gaskets need no lubricating and they are not faulty or worn. In this case they must be replaced with original parts.
- To avoid damage to the dispenser the plastic parts must be lubricated only with the grease supplied by the manufacturer or other grease compatible with polycarbonate.
9 TROUBLESHOOTING



02453-00029 R3.4 21M13


















