REGIN EPRW Wireless Optical Pulse Reader

Note: More information about the product can be found in the manual, which is available for download from www.regincontrols.com
Caution
- Read and understand the instruction before using the product.
- Ensure that the installation complies with local safety regulations.
- Before installation or maintenance, the power supply should first be disconnected. Installation or maintenance of this unit should only be carried out by qualified personnel. The manufacturer is not responsible for any eventual damage or injury caused by inadequate skills during installation, or through removal of or deactivation of any security devices.
Function
EPRW is a sensor that measures and monitors the output from an electricity meter, using the electricity meter’s built in LED. It reports the power consumption (W) and the electric energy (kWh) to the receiver RCW-M32. The optical eye is placed on an electricity meter marked with a meter constant in imp/kWh. The optical eye sensor counts the light pulses from the meter, and sends a signal to the Modbus receiver. The energy and power consumption can be followed up with a Modbus controller. If the electricity meter uses a meter constant in kWh/imp, the reported value from the EPRW must be recalculated.
Commissioning
- The sensor must be paired with the receiver RCW-M32 before it can be used.
- For best performance, the optical eye is used in a room with no, or very low, ambient light.
Technical Data
| Supply voltage | Battery AA 1.5V L91 Lithium x 2 |
| Battery life | 6 years (calculated on activation every 5 minutes) |
| Frequency | 868 MHz |
| Operating temperature | -10…+50°C |
| Operating humidity | Max. 85 % RH |
| Protection class | IP30 |
| Dimensions external (WxHxD) | 86 x 86 x 30 mm |
| Dimensions, optical eye (WxHxD) | 27 x 19 x 17 mm |
| Cable length | 1 m |
Installation
Installation of batteries
- Open the cover by pressing the locking tab carefully with a screwdriver.
- Insert two 1.5 V L91 lithium batteries.

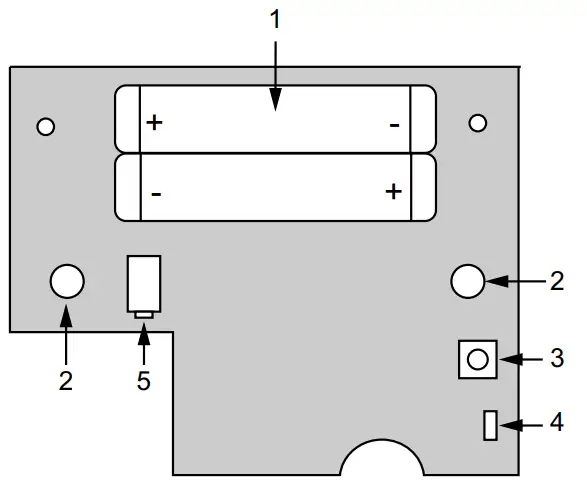
| Number | Description |
| 1 | Battery compartments |
| 2 | Mounting holes |
| 3 | Test button |
| 4 | LED light |
| 5 | PCB connector for optical eye |
Pairing the sensor with the receiver
Look in the receiver instruction (RCW-M32) for information on how to pair the sensor with the receiver.
Pairing/connection test
The connection to the receiver must be tested before mounting the sensor:
- Place the receiver and the sensor at the desired locations.
- Put the receiver into Programming mode (refer to the RCW-M32 instruction).
- Perform a Walk test: Press the Test button on the sensor to see if the sensor location is within signal range of the receiver. The LED light will indicate if the sensor is paired with the receiver or not. There will also be a long beep from the receiver when the sensor is paired successfully.
LED indications
- 3 flashes (when Test button is pressed): The sensor is not paired with the receiver.
- Flashing (when Test button is pressed): The sensor is paired with the receiver.
- Flash every 4 seconds: Batteries need to be replaced.
Optical eye
The optical eye is magnetic and comes with a magnet for easy mounting on the electricity meter.
Mounting the sensor
- Use the mounting holes to mount the sensor on the wall.
- Plug in the optical eye into the PCB connector. Use the punch outs in the casing if necessary to have room for the cable.
- Snap on the cover.
- Centre the magnet for the optical eye as accurately as possible over the LED light (imp/kWh) on the electrical meter.
- Place the optical eye on the magnet over the LED light. The default value is 1000 impulses/kWh (adjustable with the Modbus tool).
Other functions
Pulse reading
Once the sensor is attached to the electricity meter, it will start reading the pulse count from the meter. The pulse count reading will be reported to the receiver in two separate formats:
- The sensor will report the number of pulses received within a set interval. The interval time is programmable from the receiver, and can be from 5 seconds to 1270 seconds. The default interval is 300 seconds (5 minutes). Every time the sensor makes a report, it will report the pulse count received during the set interval. This value is used by the receiver to calculate the electrical power (W).
- The sensor will report the pulse count received every minute. If no pulse count was detected in the last minute, the sensor will not report anything. This value is used by the receiver to calculate the total power consumption (kWh).
Self-test
The sensor will automatically send a supervisory signal to the receiver at an interval of 95 to 110 minutes to test the signal. The receiver will indicate “out of signal” if it has not received the signal at a preset interval. This product carries the CE mark. More information is available at www.regincontrols.com.
Contact
- AB Regin, Box 116, 428 22 Kållered, Sweden
- Tel: +46 31 720 02 00,
- Fax: +46 31 720 02 50
- www.regincontrols.com
- [email protected]
IN20027 REV. C, 2022-04-04




















