Ermenrich Zing WT20 Voltage Tester
User Manual

Levenhuk Inc. (USA): 928 E 124th Ave. Ste D, Tampa, FL 33612,
USA, +1-813-468-3001, [email protected]
Levenhuk Optics s.r.o. (Europe): V Chotejně 700/7, 102 00 Prague 102,
Czech Republic, +420 737-004-919, [email protected]
Levenhuk®, Ermenrich® are registered trademarks of Levenhuk, Inc.
© 2006–2023 Levenhuk, Inc. All rights reserved.
www.levenhuk.com
20230403
ERMENRICH ZING
by levenhuk

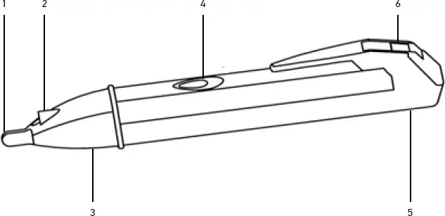
- Sensor
- Flashlight
- LED indicator
- Flashlight button
- Battery compartment
- Battery compartment button
Ermenrich Zing WT20 Voltage Tester
Getting started
Press (6) to open the battery compartment and insert 2 AAA batteries according to the correct polarity. Close the cover.
Testing
Put the sensor (1) up to a known AC power source to test the device. If it emits a sound and the LED indicator (3) flashes, the device can be
used.
Using
Put the sensor (1) up to a cable, wire, or socket. A sound will be emitted and the LED indicator (3) will flash when the device detects AC voltage.
Random beeps and flashes may occur due to the detection of static charges.
Flashlight
Press (4) and hold for 3 seconds to turn the flashlight on/off.
If the light is dim, please replace the batteries.
Specifications
Type non-contact
Voltage measurement range (AC) 60–1000V
Frequency range 50/60Hz
Sound signal +
Light signal +
Overvoltage class category IV
Operating temperature range −10…+50°C / +14…+122°F (operating/storage)
Power supply 2pcs AAA batteries
The manufacturer reserves the right to make changes to the product range and specifications without prior notice.
Care and maintenance
Always test the device prior to using it. Never assume neutral or ground wires are de-energized. Do not use the device if it is not working
properly. Do not use the device in an intense electric field environment. Do not use the device to detect AC voltage on any shielded
conductor. Do not touch any bare conductor with your hand or skin. Do not try to disassemble the device on your own for any reason. For
repairs and cleaning of any kind, please contact your local specialized service center. Protect the device from sudden impact and excessive
mechanical force. Store the device in a dry cool place. Only use accessories and spare parts for this device that comply with the technical
specifications. Never attempt to operate a damaged device or a device with damaged electrical parts! If a part of the device or battery is
swallowed, seek medical attention immediately. Keep away from children.
Battery safety instructions
Always purchase the correct size and grade of battery most suitable for the intended use. Always replace the whole set of batteries at one
time; taking care not to mix old and new ones, or batteries of different types. Clean the battery contacts and also those of the device prior
to battery installation. Make sure the batteries are installed correctly with regard to polarity (+ and –). Remove batteries from equipment
that is not to be used for an extended period of time. Remove used batteries promptly. Never short-circuit batteries as this may lead to high
temperatures, leakage, or explosion. Never heat batteries in order to revive them. Do not disassemble batteries. Remember to switch off
devices after use. Keep batteries out of the reach of children, to avoid risk of ingestion, suffocation, or poisoning. Utilize used batteries as
prescribed by your country’s laws.
Levenhuk International Lifetime Warranty
All Levenhuk telescopes, microscopes, binoculars, and other optical products, except for their accessories, carry a lifetime warranty
against defects in materials and workmanship. A lifetime warranty is a guarantee on the lifetime of the product on the market. All Levenhuk
accessories are warranted to be free of defects in materials and workmanship for six months from the purchase date. The warranty entitles
you to the free repair or replacement of the Levenhuk product in any country where a Levenhuk office is located if all the warranty conditions
are met.
For further details, please visit: www.levenhuk.com/warranty
If warranty problems arise, or if you need assistance in using your product, contact the local Levenhuk branch.
References
Доживотна гаранция на Levenhuk – Официален уебсайт на Levenhuk в България
Levenhuk’s official website in USA
Doživotní záruka společnosti Levenhuk – Oficiální webové stránky Levenhuk pro Českou republiku
Levenhuk Lebenslange Garantie – Die offizielle Website von Levenhuk in Deutschland
Garantía internacional de por vida Levenhuk – Web oficial de Levenhuk en España
Levenhuk Lifetime Warranty – Levenhuk’s official website in USA
A Levenhuk élettartamra szóló szavatossága – A Levenhuk hivatalos magyarországi weboldala
Gwarancja bezterminowa Levenhuk – Oficjalna witryna internetowa Levenhuk w Polsce
Поддержка - Гарантийное обслуживание Левенгук - Levenhuk Russia















