BOSCH VG295150F 200 Series Gas Cooktop 90 cm

Scope of delivery
After unpacking all parts, check for any damage in transit and completeness of the delivery.
Safety clearances
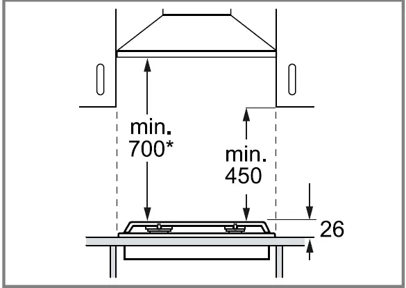
Comply with the safety clearances for the appliance.
The clearance of 700 mm applies for installation un-der an extractor hood. For installation under a cab-inet made from combustible material, the minimum clearance is 760 mm.
Appliance dimensions
You will find the dimensions of the appliance here
- 16.5 mm at the ventilation slots
General information
- Read this instruction manual carefully.
- Keep the instruction manual and the product information safe for future refer-ence or for the next owner.
- Only a licensed expert may connect the appliance.
- Switch off the power supply before carrying out any work.
- Never use this appliance in boats or in vehicles.
- Follow the worktop manufacturer’s recommendations.
Safe installation
Follow these safety instructions when installing the appliance. The appliance can only be used safely if it is correctly installed according to the safety instructions. The installer is responsible for ensuring that the appliance works perfectly at its installation location.
WARNING ‒ Risk of injury!
Parts that are accessible during installation may have sharp edges and may lead to cutting injuries.
- Wear protective gloves
WARNING ‒ Risk of explosion!
Escaping gas may cause an explosion.
- Only a licensed expert may connect the appliance.
- Before any work is carried out on the appliance, switch off the power supply and the gas supply.
- For the installation, observe the currently applicable building regulations and the regulations of the local electricity and gas suppliers.
- Always check for leaks after working on the gas connection. The manufacturer assumes no responsibility for the gas leak at a gas connection that has previously been handled.
Escaping gas may cause an explosion.
- All Installation, connection, regulating and conversion work to a different gas type must be carried out by an authorised professional while taking into account the respective applicable regulations and legal requirements as well as the regulations re-garding the local electricity and gas suppliers. Special attention must be paid to the provisions and guidelines that are applicable for the ventila-tion. For conversion work to a different gas type, we recommend that you call the after-sales service.
Escaping gas may cause an explosion or poisoning.
- Ensure that the room in which installation is to take place is sufficiently ventilated.
- Ensure that there is a door leading outdoors or a window that can be opened.
- For up to 11 kW total power: Ensure that the minimum volume of the installation area is 20 m³.
- For up to 18 kW total power: Ensure that the minimum volume of the installation area is 2 m³ per kW of the total power of the gas hob and that there is an extractor hood that leads outside with a minimum extraction rate of 15 m³/h per kW total power of the gas hob.
Escaping gas may cause an explosion or poison-ings.
- This appliance is not connected to a waste gas main.
- Install and connect this appliance in accordance with the applicable installation conditions.
- Comply with all ventilation regulations.
- Do not connect this appliance to a waste gas main.
WARNING ‒ Risk of suffocation!
Children may put packaging material over their heads or wrap themselves up in it and suffocate.
- Keep packaging material away from children.
- Do not let children play with packaging material.
Information about the installation room
For safe operation, observe the following information regarding the installation area.
- Install the appliance in a kitchen unit in accordance with the installation diagram.
- Ensure that the wall behind the appliance is made of non-combustible material.
Information about the gas connection
To safely connect the appliance, observe this information.
- For the installation, observe the currently applicable building regulations and the regulations of the local gas suppliers.
- Ensure that the information on the rating plate regarding the gas type and gas pressure complies with the local connection conditions.
- The gas connection must be arranged so that the shut-off valve is accessible.
The appliance comes with two connection elbows (appliance-side G½”).
Select the right version according to the country:
- ISO 228 G 1/2 cylindrical
- EN 10226 R 1/2 conical
Use one of the supplied connection elbows and the corresponding seal to connect the appliance to a fixed power cable or a gas safety hose. The gas safety hose should have a length of at least 1 m up to a maximum of 3 m. Observe the information about the gas safety hose: ¡ If the gas safety hose is made of metal, the permissible ambient temperature is 115 °C. If the gas safety hose is not made of metal or is only partially made of metal, the ambient temperature must not exceed 90 °C.
- The gas safety hose must not come into contact with moving parts of the fitted unit (e.g. drawers) or be routed in areas where it could become trapped or damaged.
- The gas safety hose must not come into contact with a hob, oven, dishwasher, refrigerator, washing machine, hot water pipes, radiator or any other appliance installed next to or below the gas hob.
- The gas safety hose must not be subject to rubbing, vibrations, kinking or any other kind of de-formation. It should be checked along its entire length with the hob in the installation position.
Information about the electrical connection
In order to safely connect the appliance electrically, observe this information.
WARNING ‒ Risk of electric shock!
It must always be possible to disconnect the appliance from the electricity supply. The appliance must only be connected to a protective contact socket that has been correctly installed.
The mains plug of the mains power cable must be easily accessible after installation of the appliance. If this is not possible, an all-pole isolating switch must be integrated into the permanent electrical installation according to the conditions of over-voltage category III and according to the installation regulations. The permanent electrical installation must only be wired by a professional electrician. We recommend installing a residual-current circuit breaker (RCCB) in the appliance’s power supply circuit. Sharp-edged or hot components inside the appliance may damage the connection cable.
- Do not kink or trap the connection cable.
- Do not route the connection cable along hot sur-faces.
Incorrect repairs are dangerous.
- Repairs to the appliance should only be carried out by trained specialist staff.
- Only use genuine spare parts when repairing the appliance.
- If the power cord of this appliance is damaged, it must be replaced with a special connection cable, which is available from the manufacturer or his Customer Service.
- Ensure that the information on the rating plate regarding the output and voltage complies with the local connection conditions.
- The appliance corresponds to protection class 1. You should therefore only use the appliance with a protective earth connection.
- Do not connect the appliance to the power supply during installation.
- Ensure that the protection against contact is guar- anteed during installation.
- Only a qualified electrician may connect appli-ances without a plug. They are subject to the re-quirements of the local electricity provider.
- Do not use the appliance with an external timer or a remote control.
- The appliance must only be connected using the power cable provided.
Information on fitted units
Observe the cut-out dimensions and the installation instructions when installing in a worktop. The fitted units must be heat-resistant to at least 90 °C. Ensure that the stability of the fitted unit is guaran-teed after the cut-outs have been made. The cut-out edges at the sides must be at least 20 mm thick and flat to ensure that the retaining springs sit correctly on the appliance. For multi-layer worktops, affix appropriate strips to the side in the unit cut-out, if required. Use suitable substructures to ensure the load-bear-ing capacity and stability of the unit. Take the appliance weight, including additional load, into consideration. Ensure that the reinforcing material is heat-and moisture-resistant.
To improve flame stability, install an intermediate floor underneath the appliance in the installation cabinet.
Observe the position of the gas connection
- Observe the position of the gas connection when installing the appliance.

Preparing the appliance
- Screw the corresponding connection elbow with the seal onto the appliance.

Preparing the unit
Requirement: The fitted units must be heat-resistant up to 90 °C.
- Ensure that the stability of the fitted unit is guaran-teed after the cut-outs have been made.
- Mark the unit cut-out in accordance with the installation diagram.

- Drill four holes with a diameter of 6 mm.

- Ensure that the angle of the cut surface to the worktop is 90°.
- Ensure that the cut-out edges at the sides are at least 20 mm thick and flat to ensure that the retaining springs sit correctly on the appliance.

- For multi-layer worktops, affix appropriate strips to the side in the unit cut-out, if required.
- After making the cut-outs, remove any shavings.
- Seal the cut surfaces so that they are heat-resist- ant and waterproof.
- Observe the minimum clearance of 10 mm between the bottom of the appliance and unit parts.
- Use suitable substructures to ensure the load-bearing capacity and stability of the unit, particularly in the case of thin worktops.
- Take the appliance weight, including additional load, into consideration.
- Use heat-resistant and moisture-resistant reinforcement material.
Installing the appliance
- Keeping the appliance level, insert it into the unit cut-out.

- Using both hands, push the appliance into the unit cut-out from above.
- Ensure that the appliance is firmly positioned in the unit cut-out and does not move.
- If necessary, if the width of the cut-out is at the up-per tolerance limit, secure a bar at the sides of the cut-out in each case.
Fitting burner parts
- Fit the burner parts and position them correctly.

Fitting the pan supports
- Fit the pan supports and position them correctly.

Removing the appliance
ATTENTION!
Tools may damage the appliance.
- Do not prise out the appliance from above.
- Disconnect the appliance from the mains power supply.
- Close the main gas tap.
- Push out the appliance from below.
Technical specifications
You can find an overview of the total connected loads for various types of gas and product variants here.
VG295150F
- Total connected load, butane/propane:
17,8 kW(1295 g/h) - Total connected load, electric: 10,0 W
VG295250/250DE
- Total connected load, natural gas: 18 kW
- Total connected load, electric: 10,0 W
Changing the gas type
WARNING ‒ Risk of explosion!
Escaping gas may cause an explosion.
- Never remove the gas valve shaft.
- In the event of damage or an unusual gas conversion, replace the entire gas valve. In this case, call customer service.
Requirement: The appliance must only be converted to a different type of gas by a licensed expert.
- Switch off the power supply and the gas supply.
- The appliance can be converted to another type of gas listed on the rating plate using a conversion kit.
- Replace the main control nozzles.
- Adjust the gas valves using bypass screws.
- The correct combination for the relevant gas type
can be found in the overview.
Removing appliance components
- Remove the pan supports and all burner parts.
- Remove the control knobs.

- Undo the fastening screws in the hob.

- Carefully lift up and remove the hob and disconnect the connection cable on the back of the control panel.
First lift up the hob slightly, then remove the connection cable on the control panel before removing the hob completely. - Remove the securing clips from the burner pipes.
- Pull out the burner pipes.
The electrode can remain connected.
Replacing the main control nozzles on the stand-ard output burners and high output burners
- Unscrew the burners (Torx T20) and pull out the burner pipes.

- Pull the nozzles off the burner pipes by hand.
- Pull off the O-ring.
- Check that the O-ring is seated correctly in the new main control nozzles.
- Fit the nozzles to the burner pipes. Take care not to bend the burner pipes when doing so.
- Fit the burners onto the burner pipes.
- Fit the securing clips.
- Screw the burners tightly into place.
Adjusting the main control nozzles on the standard output burners and high output burners
- Unscrew the fastening screw.
- Adjusting the air regulating valve on the outer burner L1 → Fig. 26 to the correct setting.

- Tighten the fastening screw.
- Adjust the air regulating sleeve on the inner burner L2 → Fig. 26 to the correct setting by turning or pushing it.
Replacing the main control nozzles on the wok burner
- Remove the securing clips.
- Unscrew the fastening screw on the air regulating sleeve.
- Remove the nozzle retaining head.
- Pull off the nozzle w2 and O-ring for the inner burner ring by hand.
- Unscrew the nozzle for the outer burner ring w1 (WAF 10).

- Check that the O-ring is seated correctly in the new main control nozzle for the inner burner ring.
- Fit the nozzle w2 onto the burner pipe.
- Screw the new main control nozzle for the outer burner ring w1 as far as it will go into the nozzle retaining head.
- Fit the nozzle retaining head onto the burner pipes.
- Fit the securing clips.
Adjusting the main control nozzles on the wok burner
- Unscrew the fastening screw.

- Adjust the air regulating valve to the correct setting.
The setting depends on the gas type → Fig. 26 . - Tighten the fastening screw.
Adjusting the gas valves
ATTENTION!
A bypass screw that has been over-tightened may damage the appliance.
- Do not over-tighten the bypass screws.
- If necessary, adjust the bypass screws M → Fig. 26 using a Torx screwdriver.
- up: The bypass screws must be flush with the top edge of the frame.

- down: Screw in the bypass screws fully.

- Make sure that the FRD code matches the gas type → Fig. 26 .

The FRD code cannot be changed.
Fitting the appliance components
- Connect the connection cable on the back of the control panel and put the hob in place.

- Tighten the screws on the hob evenly.

- Attach the control knobs.

Fitting burner parts
- Fit the burner parts and position them correctly.
Fitting the pan supports
- Fit the pan supports and position them correctly.
Checking that the appliance is working after conversion
- After converting the gas type, check the appliance for leaks.
- Make sure that yellow tips are not visible on the flames.
- When turning the control knob quickly between the highest and the lowest setting, make sure that the burner does not go out and that no flashback occurs.
Documenting the gas type conversion
- Attach the sticker showing the new gas type next to the rating plate on the appliance.
Overview of the gas burners










can be found in the overview.

First lift up the hob slightly, then remove the connection cable on the control panel before removing the hob completely.


























