
Register your appliance and join the Bosch family of perks: bosch-home.com/us/mybosch
![]()
Gas cooktop
NGM5058UC
NGM5658UC
Installation Instructions
IMPORTANT SAFETY INSTRUCTIONS
READ AND SAVE THESE INSTRUCTIONS
Read all instructions carefully before use. These precautions will reduce the risk of electrical shock, fire and injury to persons. When using kitchen appliances, basic safety precautions must be followed including those in the following pages.
WARNING: If the information in these instructions is not followed exactly, a fire or explosion may result causing property damage, personal injury
- Do not store or use gasoline or other flammable vapors and liquids in the vicinity of this or any other appliance.
- WHAT TO DO IF YOU SMELL GAS
- Do not try to light any appliance.
- Do not touch any electrical switch.
- Do not use any phone in your building.
- Immediately call your gas supplier from a neighbor’s phone. Follow the gas supplier’s instructions.
- If you cannot reach your gas supplier, call the fire department.
- Installation and service must be performed by a qualified installer, service agency or the gas supplier.
WARNING:
Never Operate the Top Surface Cooking Section of this Appliance Unattended.
- Failure to follow this warning statement could result in fire, explosion, or burn hazard that could cause property damage, personal injury, or death.
- If a fire should occur, keep away from the appliance and immediately call your fire department.
DO NOT ATTEMPT TO EXTINGUISH AN OIL/GREASE FIRE WITH WATER.
Safety definitions
Here you can find explanations of the safety signal words used in this manual.
WARNING This indicates that death or serious injuries may occur as a result of non-observance of this warning.
CAUTION This indicates that minor or moderate injuries may occur as a result of non-observance of this warning.
NOTICE: This indicates that damage to the appliance or property may occur as a result of non-compliance with this advisory.
Note: This alerts you to important information and/or tips.
General information
- Read this manual carefully.
- Keep the manual and the product information in a safe place for future reference or for the next owner.
- Do not connect the appliance if it has been damaged in transit.
General safety instructions
IMPORTANT: THE APPLIANCE MUST BE INSTALLED BY A QUALIFIED INSTALLER.
IMPORTANT: SAVE THESE INSTRUCTIONS FOR THE LOCAL ELECTRICAL INSPECTOR’S USE.
OWNER: PLEASE RETAIN THESE INSTRUCTIONS FOR FUTURE REFERENCE.
INSTALLER: LEAVE THESE INSTRUCTIONS WITH THE APPLIANCE AFTER INSTALLATION IS COMPLETE.
Examine the appliance after unpacking it. In the event of transport damage, do not plug it in.
WARNING If the information in this manual is not followed exactly, fire or shock may result causing property damage or personal injury. Do not repair, replace or remove any part of the appliance unless specifically recommended in the manuals. Improper installation, service or maintenance can cause injury or property damage.
- Refer to this manual for guidance.
- All other servicing should be done by an authorized ser- vice provider.
Disconnect electrical and gas supply before servicing. When installing a cooktop over a single oven, be sure to follow the instructions in both the oven’s and the cooktop’s installation manuals.
- You can find a list of approved combinations of cooktop
and oven in the Approved Combination Matrix of your cooktop, or you can contact Customer Service for the latest list of approved combinations. Do not try to install your cooktop over any oven that is not stated in that list.
Never modify or alter the construction of the appliance. The appliance should only be used if installed by a qualified technician in accordance with these installation instructions. The manufacturer is not responsible for any damage resulting from incorrect installation. To eliminate the risk of burns or fire by reaching over heated surface units, cabinet storage space located above the surface units should be avoided.
- If cabinet storage is to be provided, the risk can be re- duced by installing a hood that projects horizontally a minimum of 5″ (127 mm) beyond the bottom of the cabinet.
- Verify that cabinets above the cooktop are a maximum of 13″ (330 mm) deep.
WARNING The bottom of the cooktop can become hot.
- If the cooktop is not installed in combination with an oven, install a horizontal panel below the cooktop to prevent accidental contact. Refer to the section on installing a horizontal panel. Page 9
WARNING Remove all tape and packaging before using the appliance.
- Destroy the packaging after unpacking the appliance.
- Dispose of packaging in an environmentally responsible manner.
- Never allow children to play with packaging material.
- Store small parts safely as they can be a choke hazard.
Appliance handling safety
WARNING
Hidden surfaces may have sharp edges.
- Use caution when reaching behind or under appliance.
Safety codes and standards
This appliance complies with the latest version of one or more of the following standards:
- ANSI Z21.1 / CSA 1.1 Household Cooking Gas Appli- ances
- Installation must conform with local codes or, in the ab-
sence of local codes, with the National Fuel Gas Code, ANSI Z223.1/NFPA 54 or, in Canada, the Natural Gas and Propane Installation Code, CSA B149.1.
It is the responsibility of the owner and the installer to determine if additional requirements and/or standards apply to specific installations.
Electrical safety
- Installer – show the owner the location of the circuit breaker or fuse. Mark it for easy reference.
- If required by the National Electrical Code (or Canadian Electrical Code), this appliance must be installed on a separate branch circuit.
- Local codes vary. The installer is responsible for ensuring that the installation, connections, and grounding comply with all applicable codes. The manufacturer is not responsible for any issues associated with the improper installation of this product.
- The appliance must be electrically grounded in accordance with local codes or, in the absence of local codes, with the National Electrical Code, NFPA 70 latest edition or, in Canada, the Canadian Electric Code, CSA C22.1-02.
- Be sure your appliance is properly installed and grounded by a qualified technician. Installation, electrical connections and grounding must comply with all applicable codes.
- Do not use an extension cord
- Do not use an adapter. ¡ Refer to the rating plate for more information.
→ “Rating plate location”, Page 16
WARNING Before installing, turn power OFF at the service panel.
- Lock service panel to prevent power from being turned ON accidentally.
For appliances equipped with a cord and plug, do not cut or remove the ground prong.
- It must be plugged into a matching grounding type re- ceptacle to avoid electrical shock.
- If there is any doubt as to whether the wall receptacle is properly grounded, the customer should have it checked by a qualified electrician.
GROUNDING INSTRUCTIONS
- This appliance must be grounded.
- Grounding reduces the risk of electric shock by provid- ing a safe pathway for electric current in the event of a short circuit.
- Be sure your appliance is properly installed and grounded by a qualified technician.
- Installation, electrical connections and grounding must comply with all applicable codes.
Do not use an extension cord. If the power supply cord is too short, have a qualified electrician install an outlet near the appliance. Before you plug in an electrical cord, be sure all controls are in the OFF position.
Before you turn on power supply, make sure all controls are in the OFF position.
Gas safety
Requirements for gas supply:
- Install a gas shutoff valve near the appliance. It must be easily accessible in an emergency.
- Leak testing must be conducted by the installer accord-ing to the instructions in this manual.
- The appliance and its individual shutoff valve must be disconnected from the gas supply piping system during any pressure testing at pressures in excess of ½ psi (3.5 kPa).
- The appliance must be isolated from the gas supply piping system by closing its individual manual shutoff valve during any pressure testing of the gas supply piping system at test pressures equal to or less than ½ psi (3.5 kPa).
- The minimum supply pressure must be 1″ water column above the manifold pressure printed on the rating label. The maximum supply pressure must not exceed 14.0 inches water column (34.9 Millibars).
- A metal flex line or fixed metal pipe shall be used to connect gas to the appliance. If a metal gas line cannot be used, consult your local certified electrician or local electric codes for proper grounding.
IMPORTANT SAFETY NOTICE: Burning gas cooking fuel generates some by-products which are on the list of substances which are known by the State of California to cause cancer or reproductive harm. To minimize exposure to these substances, always operate this unit according to the instructions contained in this booklet and provide good ventilation.
Propane gas installation
- The propane gas tank must be equipped with its own high pressure regulator. In addition, the regulator supplied with this unit must also be used.
- The appliance is shipped from the factory for use with natural gas. It must be converted for use with propane. A qualified technician or certified installer must do the conversion.
- For use with propane the appliance must be converted per the LP conversion instructions.
→ “Conversion to LP gas”, Page 14
For Massachusetts installations
- Installation must be performed by a qualified or li- censed contractor, plumber or gas fitter qualified or licensed by the state, province or region where this appliance is being installed.
- Shut-off valve must be a “T” handle gas cock.
- Flexible gas connector must not be longer than 36 inches.
Installer – show the owner where the gas shut-off valve is located.
Ventilation recommendations
We strongly recommend the installation of a ventilation hood above this appliance.
The hood must be installed according to instructions furnished with the hood.
WARNING The appliance should not be installed with a ventilation system that blows air downward toward the burners. This type of ventilation system may cause ignition and combustion problems with the gas cooking appliance resulting in personal injury or unintended operation.
High altitude installation
This appliance has been tested for operation up to an altitude of 10,100 ft (3,080 m) elevation above sea level. For altitudes above 2,000 ft (610 m) elevation above sea level, burner flame adjustments may be necessary. Burners should be checked at the lowest setting, if the flame is not stable the simmer should be increased until the flame is stable. This can be done by adjusting the bypass screw in the valve. If flame performance is satisfactory, adjustment will not be required. It is required that a certified professional make the high altitude adjustments during installation.
State of California Proposition 65 Warnings
This product may contain a chemical known to the State of California, which can cause cancer or reproductive harm. Therefore, the packaging of your product may bear the following label as required by California:
STATE OF CALIFORNIA PROPOSITION 65 WARNING:
WARNING
Cancer and Reproductive Harm – www.P65Wanrnings.ca.gov
Before you begin
Read these instructions before you begin to install your appliance.
Parts included
After unpacking all the parts, check for any damage in transit and for completeness of delivery.
- Cooktop
- Foam tape
- Hold-down brackets (4)
- Screws, #10-32 x 2½” (63.8 mm), (4)
- Sheet metal screws, #8 x 3/8″ (9.5 mm), (4)
- Washers (4) ¡ Burner grates (3)
- Burners (5) ¡ Burner caps (5)
- Pressure regulator
- LP gas conversion kit
Tools and parts needed
Prepare these tools and accessories before you start to install your appliance.
- Pencil
- Measuring tape
- Cross head screwdriver
- Drill with bit 1/4″ (6 mm)
- Jigsaw ¡ Adjustable wrench
- Teflon® tape – gas rated
- Flathead screwdriver, 1/8″
Additional tools needed for LP gas conversion
- 7 mm socket wrench
- Flat blade screwdriver with small thin blade
- T10 star bit screwdriver
- T20 star bit screwdriver
- Small piece of tape
Notes
- For stand-alone installation a horizontal panel below the cooktop may be needed.
→”Installation with horizontal panel”, Page 9 - Additional materials may be necessary for installation in solid surface countertops. Contact the countertop manufacturer.
General requirements
Ensure that the following requirements are met when planning the installation of your appliance.
- Plan the installation of the unit so that the power cord, gas shut-off valve and gas pressure regulator are accessible from the front of the cabinet.
- Make sure the gas supply line does not interfere with the back of the appliance.
- The cabinet in which the cooktop is installed must be properly secured, level and stable.
- Any laminated coverings and glue on cabinets next to the cooktop must be made of non-flammable and heat resistant materials. Refer to local building codes for acceptable materials.
- This appliance cannot be installed above refrigerators, washing machines, dishwashers or similar.
- If the cooktop will be installed in combination with an oven, refer to the Approved Combination Matrix included with the product for cutout and clearance dimensions.
Cabinet requirements
Ensure that the cabinetry at the installation location meets the requirements for a safe installation.

The minimum spaces that must be maintained when installing the gas cooktop shall be the following:
| a | min. 13″ (330 mm) for installation next to oven min. 13″ (330 mm) |
| b | min. 13″ (330 mm) for installation next to oven min. 13″ (330 mm) |
| c | min. 30″ (762 mm) clearance between the top of the cooking surface and the bottom of combustible constructions |
| d | min 3″ (76 mm); for installation in kitchen islands, min. 4″ (100 mm) |
| e | For 30″ cooktops: min. 30″ (760 mm) centered over cooktop |
| e | For 36″ cooktops: min. 36″ (914 mm) centered over cooktop |
| f | min. 18″ (458 mm) |
| g | max. 13″ (330 mm) |
| h | min. 1¾” (48 mm); for installation in kitchen islands, min. 4″ (100 mm) |
Countertop requirements
Ensure that the countertop into which the cooktop is to be installed meets these requirements for a safe installation.
WARNING To reduce the risk of ignition of surrounding combustible materials, install at least 13″ (330 mm) from both sidewalls and at least 3″ (76 mm) from the rear wall.
- The countertop must be level.
- The stability of the countertop must be maintained after the cut-out has been made.
- Solid surface or laminate countertops often require special installations. For example, heat-reflective tape and rounded corners may be necessary. Contact the countertop manufacturer for instructions specific to your countertop.
Gas requirements
Ensure that the requirements for the gas supply are met. The cooktop is shipped from the factory for use with natural gas. For use with LP conversion, a certified technician or installer must do the conversion. Supply pressure:
- Natural Gas: 7 inches water column (17.4 Millibars)
- Propane Gas: 11 inches water column (27.4 Millibars)
- The propane gas tank must be equipped with its own high pressure regulator in addition to the pressure regulator supplied with this unit.
Electrical requirements
Ensure that the following electrical requirements are met.
CAUTION Do not use an extension cord with this appliance.
- This appliance requires a 60 Hz, 15 Amp, 120 V/AC connection.
- The appliance is equipped with a 40″ (1000 mm) power cord.
- The power connection must remain accessible from the front of the cabinet after the installation is complete.
Prepare installation space
Create the cutout in the countertop according to the instructions.
General countertop requirements:
- The angle of the cut surface to the countertop surface must be 90°.
- With multi-layered countertops, secure strips laterally in the cutout if necessary.
- After creating the cutout, remove all debris.
- Follow the countertop manufacturer’s recommendations for protecting the cut edges, e.g. apply heat resistant foil tape.
- If the cooktop will be installed in combination with an oven, refer to the Approved Combination Matrix included with the product for cutout and clearance dimensions.
WARNING The bottom of the cooktop can become hot.
If the cooktop is not installed in combination with an oven, install a horizontal panel below the cooktop to prevent accidental contact. Refer to the section on installing a horizontal panel. Page 9
Installation dimensions

| NGM5058UC | NGM5658UC | |
| A | 28¹⁵⁄₁₆” (735 mm) | 34¹⁵⁄₁₆” (887 mm) |
| B | 7¼” (184 mm) | 10¼” (260 mm) |
Installation over oven

| A | min. ¾” (19 mm) max. 2″ (50 mm) |
| B | 5⅞” (150 mm) |
| C | 2¾” (70 mm) |
| D | Refer to Approved Combination Matrix |
| E | 2⅜” (60) |
Installation with horizontal panel
If there is no oven beneath the cooktop, install a horizontal panel. To allow access to the power supply connection and regulator maintain a minimum clearance of
⅜” (10 mm) from the edges of the panel (F).
IMPORTANT: Complete the installation of the cooktop before installing the horizontal panel.
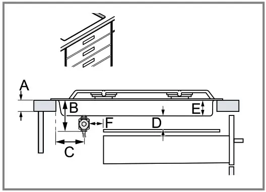
Installation above a drawer

| A | min. ¾” (19 mm) max. 2″ (50 mm) |
| B | 5⅞” (150 mm) |
| C | 2¾” (70 mm) |
| D | min. 0″ (0 mm) |
| E | 2⅜” (60) |
| F | min. ⅜” (10 mm) |
Installation above a cabinet door

| A | min. ¾” (19 mm) max. 2″ (50 mm) |
| B | 5⅞” (150 mm) |
| C | 2¾” (70 mm) |
| D | min. 0″ (0 mm) |
| E | 2⅜” (60) |
| F | min. ⅜” (10 mm) |
| G | min. 1″ (25) |
Installation procedure
Follow these instructions to install the cooktop into the countertop.
CAUTION Sharp edges.
▶ Use protective gloves when installing the appliance.
CAUTION
The appliance is heavy.
▶ It is recommended that two people install this appliance.
Preparing the cooktop
- Place the cooktop face down on a soft and stable surface. Use the foam sheet from the packaging to protect surfaces from scratching.
- Apply the included foam sealing tape around the edges of the underside of the appliance along the rough-in box flange.

- Attach the hold-down brackets to the underside of the cooktop with the provided short screws and washers. Loosely tighten the screws so the clamps do not move freely. Rotate the hold-down brackets so that the appliance can be placed in the cutout.

Note: The rating plate will not be accessible after installation. Make a note of your appliance’s details or refer to the enclosed appliance certificate.
→ “Rating plate location”, Page 16
Installing the pressure regulator
WARNING
Do not attempt any adjustment of the pressure regulator, except when converting to propane. Adjustments could lead to leaks or cause incorrect gas pressure to the appliance. Make sure the used gas connection line is not connected to the gas supply, before carrying out the following steps.
Note: All pipe connections must be sealed in accordance with local codes.
- Identify the parts of the pressure regulator.

A Appliance manifold connection B Conversion cap C Pressure regulator D Arrow on pressure regulator, shows the direction of gas flow - Apply Teflon® tape on the threads of the manifold pipe. Install the pressure regulator (supplied with cooktop) to the gas inlet with the gas flow arrow facing the manifold inlet.
- Firmly hand tighten the regulator, then further tighten ¼ turn to a maximum of one complete turn. Align the regulator so that the conversion cap is easily
accessible.
WARNING Never reuse a gas connector. Re- peated bending, flexing, or extreme vibration will cause metal fatigue and must be avoided.
Apply Teflon® tape to the male threads, then connect a new ½” metal flex line or fixed metal pipe connection to the pressure regulator.
Note: For installations with little space, use a 90° street elbow (not supplied) to orient the regulator horizontally.
Securing the cooktop to the countertop
The cooktop must be secured from below using the holddown brackets provided.
WARNING
Before installing, turn power OFF at the service panel.
▶ Lock service panel to prevent power from being turned ON accidentally.
CAUTION Do not let the cooktop drop into place.
▶ Make sure that the cooktop is supported along the edges when carefully placing it into the cutout.
Turn the cooktop over carefully making sure not to damage the pressure regulator and gas line.
- Place the cooktop carefully into the countertop cutout, pulling it towards the front of the cutout 1.
- Lower the rear of the cooktop so that is rests flat on the counter 2
- Center the cooktop left and right in the cutout 3

2. Insert the 2½” clamping screws into the threaded holes of the hold-down brackets, slide or rotate the brackets so that the clamping screws will contact the underside of the countertop.
- Protect delicate countertops by placing a wooden disk underneath.
- Hand-tighten the first screw and check the cooktop position, then secure the cooktop by tightening all clamping screws 1
- Tighten the screws to the cooktop 2
Note: Do not use silicone to glue the cooktop to the countertop surface.
Connection overview
Refer to this illustration for the location of the gas and electric connection of the appliance.
Note: Your appliance is equipped for use with natural gas on delivery. If you want to use your appliance with LP gas refer to the section on LP gas conversion before continuing with the installation. → Page 14

| a | Cooktop rough-in box |
| b | Arrow on pressure regulator, shows the direction of gas flow |
| c | Pressure regulator |
| d | ½” female pipe threads |
| e | Metal flex gas line |
| f | Power cord (40″/1 m) |
| g | 120 V receptacle |
| h | Gas cut-off valve |
| i | Gas supply line connection fitting |
| j | Floor |
Connecting the gas supply line
The appliance is shipped from the factory for use with natural gas. If you want to use propane gas it must be converted. A qualified technician or installer must do the conversion.
Note
Ensure the following requirements are met before you try to connect the appliance to the gas supply:
- Before connecting the appliance, check whether the local connection conditions such as gas type and gas pressure match the appliance settings.
- Make sure the gas supply is turned off at the manual shutoff valve before connecting the appliance.
- The gas connection must be in a location that permits access to the manual shut-off valve and which, if applicable, is visible after opening the door or drawers of the cabinet.
- The metal flex gas line must not come into contact with moving parts of the fitted unit (e.g. drawers) or be laid in areas where it could become trapped or damaged.
- The metal flex gas line must not come into contact with a cooktop, oven, dishwasher, refrigerator, washing machine, hot water pipe, radiator, or any other appliance installed in the vicinity of the gas cooktop.
- The metal flex gas line must not be subject to rubbing, vibrations, kinking or any other kind of deformation. It should be checked along its entire length with the cooktop in the installation position.
- All pipe connections must be sealed in accordance with local codes.
▶ Connect the metal flex gas line or fixed metal pipe connection from the cooktop pressure regulator to the manual shut-off valve.
Checking the gas line for leaks
Check the gas supply line connections for leaks using a soap solution or non-corrosive leak detection fluid. Do not use a flame of any sort.
Note
Important notes for gas connection:
- The appliance and its individual shutoff valve must be disconnected from the gas supply piping system during any pressure testing at pressures in excess of ½ psi (3.5 kPa).
- The appliance must be isolated from the gas supply piping system by closing its individual manual shutoff valve during any pressure testing of the gas supply piping system at test pressures equal to or less than ½ psi (3.5 kPa).
- Turn on gas.
- Apply a soap solution or non-corrosive leak detection fluid to all joints and fittings in the gas connection between the shut-off valve and the cooktop. Also
check gas fittings and joints in the cooktop if the connections may have been disturbed during installation.
√ Bubbles appearing around fittings and connections indicate a leak. - If a leak appears, turn off the supply line gas shut-off valve and tighten the connections.
- Retest for leaks by turning on the supply line gas shutoff valve.
√ When the leak check is complete and no bubbles appear, the test is complete. - Wipe off all soap solution or detection fluid residue.
Connecting the electrical supply
CAUTION
Before you plug in the electrical cord, make sure that the gas shut-off valve and all burner controls are in the OFF position.
▶ Connect the plug of the electrical cord to a grounded power outlet. The outlet must be accessible after the installation of the appliance is complete.
Assembling the burner parts
The burner parts must be properly placed for the cooktop to function properly.
Note
If the burner parts are not properly placed, one or more of the following problems may occur:
- The burner flames are too high.
- Flames shoot out of the burners.
- The burners do not ignite.
- The burner flames light unevenly.
- The burners emit gas odor.
WARNING
Remove all tape from the burner parts and the cooktop surface before using the appliance.
- Assemble the burner parts according to the illustration.

1 Burner cap 2 Burner base 3 Thermocouple 4 Igniter Make sure that the prongs of the burner cap fit snugly into the groove of the burner base.
- Check to make sure that there is no gap between the burner parts. You may gently try to move the burner parts from side to side to check if they are properly seated.

OptiSim® feature
The OptiSim® burner cap has been designed to work with the small burner at the front left position of the cooktop. It is used to provide optimal simmering for delicate sauces while minimizing the risk of scorching. Installing the OptiSim® burner cap
▶ Place the burner cap on the burner base, so that the lower protrusion locks in place in the center of the burner base.

√ When properly installed the OptiSim® burner cap will extend beyond the burner base and raised surface.

Installing the burner grates
WARNING
Improperly positioned grates can cause flare-ups.
▶ Position all grates properly on the cooktop whenever the cooktop is in use to properly support pots and avoid spills.
▶ Make sure each of the four feet of the grates is placed into the corresponding dimples on the cooktop surface.
▶ Do not use a grate if the rubber feet are missing or damaged.
Typical burner grate installation

Checking the installation
Check if your unit is working properly after you have completed the installation steps.
WARNING
Before you turn on power supply, make sure all controls are in the OFF position.
- Ensure that the burner caps are properly positioned.
- Turn each burner on in turn and verify that the electric igniters are working.
- Turn the control knob between the highest and lowest setting. Make sure the flame does not go out and there are no flashbacks.
- If you have carried out an LP gas conversion, check the lowest setting to confirm the flames are stable on the ports and the set screws do not need to be readjusted.
- Check the flame characteristics. The flame should be blue with a minimal yellow tip on the outer cone.
- After completing all checks, complete the installation of the horizontal panel or oven. → Page 9
Note: The appliance is shipped from the factory for use with natural gas. If you want to use propane gas, it must be converted. A qualified technician or installer must do the conversion. Refer to Conversion to LP gas. → Page 14
Flame characteristics
The color of the flame tells you if the gas supply is properly adjusted.
Note: Allow the appliance to operate for 4 to 5 minutes before evaluating the flame. Some yellow streaking is normal during the initial startup.
| Flame | Image | Measure |
| Completely or mostly yellow | Verify that the regulator is set for the correct fuel. Retest after adjustment. | |
| Yellow tips on outer cone | Normal for LP gas | |
| Soft blue | Normal for natural gas |
Conversion to LP gas
Your appliance is equipped for use with natural gas on delivery. It can be converted to LP gas supply.
The components required for conversion to LP gas are contained in the LP conversion kit included with this appliance, or are available from Customer Service. → “Customer Service”, Page 16
Only a qualified technician or installer is authorized to convert the appliance to another gas type.
Before carrying out the conversion, turn off the electricity and gas supply.
Converting the pressure regulator
WARNING
Turn off the electricity and gas supply before carrying out the conversion.
Requirement: Complete the installation instructions in this manual up to and including section
→ “Securing the cooktop to the countertop”, Page 10 before starting the LP conversion.
- Locate the pressure regulator on the bottom right end of the appliance.

- Remove the hexagon shaped conversion cap from the regulator. Make sure not to dislodge the gasket
con the cap or the springainside the regulator.
- Grasp the plastic orifice stem
bfirmly and pull it force- fully from the conversion cap 1. The stem snaps snugly into an indent in the cap and may require a strong pull to remove. It may be helpful to gently “rock” the plastic stem while pulling it from the metal cap.
- Rotate the stem 180° 2.
√ Confirm that the button end of the orifice stem is away from the conversion cap.
√ Confirm that the letters “LP” on the orifice stem are up-side down when the conversion cap is set flat on its head. - Snap the orifice stem back in place in this position inserting it into the indent in the conversion cap 3.
- Insert the hexagon cap back into the regulator and tighten, do not over-tighten.
- IMPORTANT: Attach the metallic sticker included with the LP conversion kit to the bottom of the appliance as shown. This sticker provides notice that the appliance has been converted for use with LP gas. It should be located near the appliance rating plate.
→ “Rating plate location”, Page 16
Note: If you change the type of gas back to natural gas at a later point, remove the sticker.
Replacing the orifices
- Remove all burner grates, burner caps and burner bases.
- Remove the natural gas orifices and replace them with LP orifices using a 7 mm socket wrench. See burner chart → Page 16.
• For ease of installation use a small piece of tape and insert it in the socket wrench to prevent the orifice from falling out.
• It is important to make sure that the orifices do not become detached during removal or fastening. They must be properly tightened to ensure that there are
no leaks.
Normal burner with one orifice - Fasten the orifices.
- Save the orifices removed from the appliance for future use.
Adjusting the gas valves
- Turn the control knobs to position off.
- Pull off the control knobs.
- Remove the screws at each burner and lift off the main top from the cooktop.

- Remove the switch from the valve.
- Adjust the bypass jet on each valve with a flat blade screwdriver, with a small thin blade. Refer to the burner chart for the correct setting of the setting screws (M).
→ “Burner chart”, Page 16
• Use settingafor LP Gas. The bypass jet must be tightened properly.
• Use settingbfor natural gas. The bypass jet must be loosened until the gas flow from the burner is correct. Turn ¼ turn to the left from LP setting.
- Replace the switch on the valves.
- Ensure that the gaskets around the burner bases are in place.

- Reinstall the main top and the control knobs.
- Replace all burner bases, burner caps and burner grates.
- Continue the installation procedure from
→ “Connection overview”, Page 11 - When the installation is complete, verify that the appliance works properly.
→ “Checking the installation”, Page 13.
Note: In the event of damage, the valve must be completely replaced.
Burner chart
Refer to this overview for specifications of the individual burners.
| Burner cap | Gas type | Pressure in inch we | Orifice | BTU/h | kW | M (valve ad-justment screw setting) |
| Small | Natural gas | 6 | 77 | 3,400 | 1.00 | b |
| burner | Propane gas | 10 | 54 | 3,400 | 1.00 | a |
| Large | Natural gas | 6 | 133 | 10,300 | 3.00 | b |
| burner | Propane gas | 10 | 93 | 10,300 | 3.00 | a |
| Medium | Natural gas | 6 | 102 | 6,000 | 2. | b |
| burner | Propane gas | 10 | 71 | 6,000 | 2. | a |
| Extra | Natural gas | 6 | 168 | 16,000 | 5. | b |
| large burner | Propane gas | 10 | 116 | 16,000 | 5. | a |
Customer Service
If you have any questions on use, are unable to eliminate an issue in the appliance yourself, or the appliance needs to be repaired, please contact our Customer Service.
With any warranty repair, we will make sure your appliance is repaired by an authorized service provider using genuine replacement parts. We use only genuine replacement parts for all repairs. Detailed information on the warranty period and terms of warranty can be found in the Statement of Limited Product
Warranty, from your retailer, or on our website.
If you contact the Customer Service, you will need the model number (E-Nr.) and the production number (FD) of your appliance.
USA:
1-800-944-2904
www.bosch-home.com/us/owner-support/get-support
www.bosch-home.com/us/shop
CA:
1-800-944-2904
www.bosch-home.ca/en/service/get-support
www.bosch-home.ca/en/service/cleaners-and-accessories
Model number (E-Nr.) and production number (FD)
You can find the model number (E-Nr.) and the production number (FD) on the appliance’s rating plate.
Making a note of your appliance’s details and the Customer Service telephone number will enable you to find them again quickly.
Rating plate location
You can find the rating plate of your appliance:
- On the appliance certificate.
- On the underside of the appliance.

a Rating plate
Thank you for buying a Bosch Home Appliance!
Register your new device on MyBosch now and profit directly from:
- Expert tips & tricks for your appliance
- Warranty extension options
- Discounts for accessories & spare-parts
- Digital manual and all appliance data at hand
- Easy access to Bosch Home Appliances Service
Free and easy registration also on mobile phones: www.bosch-home.com/welcome
Looking for help?
You’ll find it here.
Expert advice for your Bosch home appliances, help with problems or a repair from Bosch experts.
Find out everything about the many ways Bosch can support you: www.bosch-home.com/service
Contact data of all countries are listed in the attached service directory.
BSH Home Appliances Corporation
1901 Main Street, Suite 600 Irvine, CA 92614 USA
www.bosch-home.com
1-800-944-2904 © 2021 BSH Home Appliances Corporation
![]()
8001215974 (020405)
References
Kitchen Appliances | Home Appliances | High-end Appliances from Bosch
Cleaners & Accessories | Bosch Home Appliances
Service - Get Support | Bosch Home Appliances
Home Appliances Global Website | Bosch
BOSCH Service | Service worldwide
Service - Get Support | Bosch Home Appliances
Bosch Home Appliances | Bosch Cleaners, Filters, Accessories & Parts Store
Welcome to MyBosch




Note: Do not use silicone to glue the cooktop to the countertop surface.



Note: If you change the type of gas back to natural gas at a later point, remove the sticker.
Normal burner with one orifice




















