Bosch NGM5056UC 800 Series Gas Cooktop

Safety Definitions
WARNING
This indicates that death or serious injuries may occur as a result of non-observance of this warning.
CAUTION
This indicates that minor or moderate injuries may occur as a result of non-observance of this warning.
NOTICE: This indicates that damage to the appliance or property may occur as a result of non-compliance with this advisory.
Note: This alerts you to important information and/or tips.
IMPORTANT SAFETY INSTRUCTIONS
READ AND SAVE THESE INSTRUCTIONS
Gas Appliance Safety
WARNING: If the information in these instructions is not followed exactly, a fire or explosion may result causing property damage, personal injury or death.
Do not store or use gasoline or other flammable vapors and liquids in the vicinity of this or any other appliance.
WHAT TO DO IF YOU SMELL GAS
- Do not try to light any appliance.
- Do not touch any electrical switch.
- Do not use any phone in your building.
- Immediately call your gas supplier from a neighbor’s phone. Follow the gas supplier’s instructions.
- If you cannot reach your gas supplier, call the fire department.
Installation and service must be performed by a qualified installer, service agency or the gas supplier.
WARNING
Never Operate the Top Surface Cooking Section of this Appliance Unattended.
– Failure to follow this warning statement could result in fire, explosion, or burn hazard that could cause property damage, personal injury, or death.
– If a fire should occur, keep away from the appliance and immediately call your fire department.
DO NOT ATTEMPT TO EXTINGUISH AN OIL/GREASE FIRE WITH WATER.
IMPORTANT: SAVE THESE INSTRUCTIONS FOR THE LOCAL ELECTRICAL INSPECTOR’S USE.
INSTALLER: LEAVE THESE INSTRUCTIONS WITH THE UNIT FOR THE OWNER.
OWNER: PLEASE RETAIN THESE INSTRUCTIONS FOR FUTURE REFERENCE.
WARNING
When properly cared for, your new appliance has been designed to be safe and reliable. Read all instructions carefully before use. These precautions will reduce the risk of burns, electric shock, fire and injury to persons.
When using kitchen appliances, basic safety precautions must be followed including those in the following pages.
WARNING
Do not repair, replace or remove any part of the appliance unless specifically recommended in the manuals. Improper installation, service or maintenance can cause injury or property damage. Refer to this manual for guidance. All other servicing must be done by an authorized service agency.
- Install a gas shutoff valve near the appliance. It must be easily accessible in an emergency.
- Leak testing must be conducted by the installer according to the instructions in this manual.
- The appliance and its individual shutoff valve must be disconnected from the gas supply piping system during any pressure testing at pressures in excess of 1/2 psi (3.5 kPa).
- The appliance must be isolated from the gas supply piping system by closing its individual manual shutoff valve during any pressure testing of the gas supply piping system at test pressures equal to or less than 1/2 psi (3.5 kPa).
- The minimum supply pressure must be 1” water column above the manifold pressure printed on the data plate.
- The maximum supply pressure must not exceed 14.0 inches water column (34.9 Millibars).
- For Massachusetts installations:
- Installation must be performed by a qualified or licensed contractor, plumber or gas fitter qualified or licensed by the state, province or region where this appliance is being installed.
- Shut-off valve must be a “T” handle gas cock.
- Flexible gas connector must be new and not longer than 36 inches.
- Installer-show the owner where the gas shut-off valve is located.
Propane Gas Installation
- The propane gas tank must be equipped with its own high pressure regulator. In addition, the regulator supplied with this unit must also be used.
- The appliance is shipped from the factory for use with natural gas. It must be converted for use with propane.
A qualified technician or installer must do the conversion.
Equipment and Usage Safety Requirements
- The cooktop must be used in conjunction with a suitable ventilation system.
- Remove all tape and packaging before using the appliance. Destroy the packaging after unpacking the appliance. Never allow children to play with packaging material.
- Never modify or alter the construction of the appliance. For example, do not remove panels, wire covers or screws.
- To eliminate the risk of burns or fire while reaching over heated surface units, cabinet storage space located above the surface units should be avoided. If cabinet storage is to be provided, the risk can be reduced by installing a hood that projects horizontally a minimum of 5 inches beyond the bottom of the cabinet.
- Verify that cabinets above the cooktop are a maximum of 13 inches (330mm) deep.
Appliance Handling Safety
CAUTION
- Unit is heavy and requires at least two people or proper equipment to move.
- Hidden surfaces may have sharp edges. Use caution when reaching behind or under appliance.
Safety Codes and Standards
- This appliance complies with one or more of the following standards: ANSI Z21.1- • CSA 1.1 Household Cooking Gas Appliances
- It is the responsibility of the owner and the installer to determine if additional requirements and/or standards apply to specific installations.
- Installation must conform with local codes or, in the absence of local codes, with the National Fuel Gas Code, ANSI Z223.1/NFPA 54 or, in Canada, the Natural Gas and Propane Installation Code, CSA B149.1.
- The appliance must be electrically grounded in accordance with local codes or, in the absence of local codes, with the National Electrical Code ANSI/ NFPA 70 or the Canadian Electric Code, CSA C22.1- 02.
State of California Proposition 65 Warning:
This product may contain a chemical known to the State of California, which can cause cancer or reproductive harm. Therefore, the packaging of your product may bear the following label as required by California:
Electric Safety
- Before you plug in an electrical cord, be sure all controls are in the OFF position.
- For appliances equipped with a cord and plug, do not cut or remove the ground prong. It must be plugged into a matching grounding type receptacle to avoid electrical shock. If there is any doubt as to whether the wall receptacle is properly grounded, the customer should have it checked by a certified electrician.
- This appliance should be installed in accordance with the National Electric Code or Canadian Electrical Code. It is required that the cooktop be installed on a grounded, non-GFCI branch circuit.
- Installer-show the owner the location of the circuit breaker or fuse. Mark it for easy reference.
- Before installing, turn power OFF at the service panel. Lock service panel to prevent power from being turned ON accidentally.
- Be sure your appliance is properly installed and grounded by a certified technician. Installation, electrical connections and grounding must comply with all applicable codes.
High Altitude Installation
Contact customer service for use at altitudes above 2,000 feet (610 meters).
Before You Begin
Tools and Parts Needed
- Phillips Head Screwdriver
- Precision Flathead Screwdriver
- Tape Measure
- Teflon Tape (Gas Rated)
- Adjustable Wrench or Channel Lock Pliers
Parts Included
- Foam Tape
- Mounting Brackets (4)
- Screws, #10-32 x 2 1/2” (63.8 mm) (4)
- Sheet Metal Screws, #8 x 3/8” (9.5 mm) (4)
- Washers (4)
- Burner Grates (3)
- Burners
- 30” models: (4) or (5)
- 36” models: (5)
- Burner Caps
- 30” models: (4) or (5)
- 36” models: (5)
- Pressure Regulator
- LP Gas Conversion Kit
Note: If parts are missing or damaged, call the number or write to the address listed on the inside back cover.
General Information
Overall Dimensions
| 30” Models | 36” Models | |
| Width (Side to Side) | 31” (788 mm) | 37” (940 mm) |
| Depth (Front to Back) | 21 1/4” (540 mm) | 21 1/4” (540 mm) |
| Height (Top to Bottom) | 3 13/16” (97 mm) | 3 13/16” (97 mm) |
Note: These are overall dimensions NOT cutout dimensions.
Preparation
Electrical Requirements
CAUTION
Do not use an extension cord with the gas cooktop.
This appliance requires a 60 Hz, 15 Amp, 120 VAC connection. Plan the installation so that the power connection is accessible from the front of the cabinet.
Gas Requirements
Supply Pressure:
- Natural Gas: 7 inches water column (14.9 Millibars)
- Propane Gas: 11 inches water column (27.4 Millibars)
The propane gas tank must be equipped with its own high pressure regulator in addition to the pressure regulator supplied with this unit. The cooktop is shipped from the factory for use with natural gas. For use with LP conversion, a certified technician or installer must do the conversion.
Cabinet Requirements
- Instructions are based on standard American cabinets 36” high (91cm) x 24” deep (61cm) with a 25” (63cm) countertop.
- The maximum depth of a cabinet installed above the cooktop is 13” (33cm).

Note: All measurements given must be precisely followed. If nonstandard cabinets are used, make sure they are installed with minimum dimensions shown.
Hook Up
A manual gas shut-off valve must be installed external to the appliance, in a location accessible from the front, for the purpose of shutting of the gas supply.
- Plan the installation of the unit so that the power cord, gas shut-off valve and gas pressure regulator are accessible from the front of the cabinet.
- The supply line must not interfere with the back of the unit.
- Make sure the gas supply is turned off at the manual shut-off valve before connecting to the appliance.
Countertop Requirements
Note: All measurements given must be precisely followed. If nonstandard cabinets are used, make sure they are installed with minimum dimensions shown in image below.

36” Models
Mounting Requirements
Use the hold down brackets supplied. See “Install the Cooktop” section for further details.
Ventilation Requirements
We strongly recommend the installation of ventilation with the appliance. The appliance must be installed according to the furnished instructions.
CAUTION
The appliance should not be installed with a ventilation system that blows air downward toward the burners. This type of ventilation system may cause ignition and combustion problems with the gas cooking appliance resulting in personal injury or unintended operation.
Installation Procedure
Prepare the Countertop
WARNING
To avoid electrical shock hazard, before installing the cooktop, switch power off at the service panel to prevent the power from being switched on accidentally.
Cut out the countertop per the dimensions shown in the section “Cabinet Requirements”.
Some solid surface materials require different cutting methods. Consult with the solid surface manufacturer for the correct cutting method needed. Apply heat reflective tape such as Scotch Aluminum Foil Tape #425 or #427 (not included) around the cutout so that it folds over the top and sides. Do not wrap the tape underneath the cooktop. Be sure the tape extends beyond the outermost flange of the cooktop. All corners should be covered with tape.
Solid Surface Countertops-Counter Cutout
A Heat Reflective Tape
Seal the Cooktop with Foam Tape
Note: Failure to install the foam tape may affect burner performance.
Apply the self adhesive foam tape in one continuous rectangle directly to the counter around the perimeter of the cutout as shown by the dotted line in the image below. The foam tape should be flush with the edge of the cutout.
Foam Tape Placement-Counter Cutout
A Foam Tape Placement
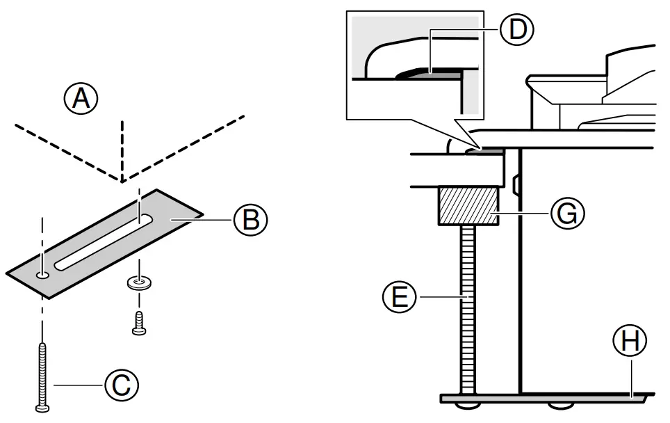
Install the Cooktop
Insert the cooktop into the cutout. Attach the clamps of the mounting brackets packaged with the cooktop. Use the washer and screws provided.
Adjust the mounting brackets to desired position and tighten screws to cooktop. Insert adjusting screw into clamp and secure cooktop to countertop.
Attaching Mounting Brackets
- A Cooktop
- B/H Hold Down Bracket
- C/E Adjusting Screw
- D Foam Tape (Seal)
- G Wooden Block (to be used with solid surfacing material)
Note: For solid surface material installations:
- Insert a wooden block between the end of the screw and the bottom of the countertop.
- Do not overtighten adjusting screw.
- Trim excess aluminum tape around cooktop flange.
Tip: Install hold down bracket without the adjusting screw installed. Turn hold down brackets flush with the sides of the cutout. This will help with inserting cooktop in hard-to-reach spaces.
Connect Gas Supply
The gas inlet to the unit is located at the right rear of the cooktop.
Install the pressure regulator (supplied with unit) to manifold pipe using Teflon tape on threads of manifold pipe. Turn to hand tighten plus 1/4 turn, not exceeding 1 turn for alignment. To prevent possible damage to the gas pressure regulator, install it after the cooktop is in its permanent position. When the regulator is securely installed on the manifold pipe, the conversion nut will be easily accessible.
Pressure Regulator
- A Manifold Pipe
- B Conversion Nut
- C Pressure Regulator
WARNING
Do not attempt any adjustment of the pressure regulator, except when converting to propane.
Adjustments could lead to leaks or cause incorrect gas pressure to the appliance.
Side View Gas Cooktop Installation

Gas and Electrical Location
- A Rough-in Cooktop Box
- B Arrow on Pressure Regulator
- C Pressure Regulator
- D 1/2” Female Pipe Threads
- E Flexible Gas Line
- G Power Cord (60 inches/1,524mm)
- H 120 Volt Receptacle
- J Gas Cut-off Valve
- K Gas Supply Line Stub-out
- L Floor
Connect the gas supply line to the unit pressure regulator using a 1/2” flex gas line connector between manual shut-off valve and pressure regulator. Always use a new flex line.
Check supply line connections for leaks using a soap solution or non-corrosive leak detection fluid. Do not use a flame of any sort.
- Turn on gas.
- Apply a soap solution or non-corrosive leak detection fluid to all joints and fittings in the gas connection between the shut-off valve and the cooktop. Include gas fittings and joints in the cooktop if connections may have been disturbed during installation. Bubbles appearing around fittings and connections indicate a leak.
- If a leak appears, turn off supply line gas shut-off valve and tighten connections.
- Retest for leaks by turning on the supply line gas shutoff valve. When leak check is complete (no bubbles appear), test is complete.
- Wipe off all soap solution or detection fluid residue.
Important Notes for Gas Connection:
- The appliance and its individual gas shutoff valve must be disconnected from the gas supply piping system during any pressure testing of that system at test pressures in excess of 1/2 psi (3.5kPa).
- The appliance must be isolated from the gas supply piping system by closing its individual manual shut-off valve during any pressure testing of the gas supply piping system at test pressures equal to or less than 1/2 psi (3.5kPa).
Connect Electrical Supply
Before connecting the 5-foot (1.5m) supply cord to a wall receptacle, make certain that gas shut-off valve and all burner controls are in OFF position.
Burner Cap and Burner Base Placement
WARNING
To prevent flare-ups, do not use the cooktop without all burner caps and all burner grates properly positioned.
WARNING
To prevent burns, do not touch burner caps or grates while hot. Turn the cooktop off and allow the entire cooktop to cool.
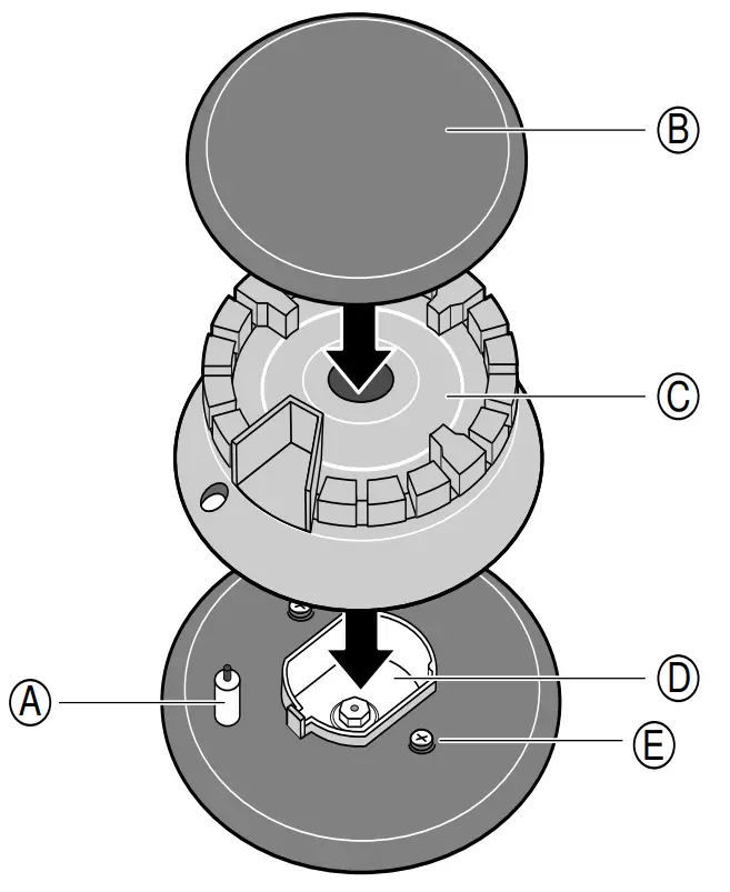
| A | Igniter |
| B | Burner Cap |
| C | Burner Base |
| D | Jet Holder |
| E | Panhead Screw |

The burner caps must be properly placed for the cooktop to function properly. If the burner cap is not properly placed, one or more of the following problems may occur:
- Burner flames are too high.
- Burner flames extend too far on sides.
- Stainless steel discolors.
- Burners do not ignite.
- Burner flames light unevenly.
- Burner emits gas odor.
Correct Burner Cap Placement

Incorrect Burner Cap Placement
Burner Base and Burner Cap Placement

- After electrical connection is complete, place each burner base on the corresponding location on the cooktop.
- Pay special attention to avoid damaging the igniter during installation of the base.
- The small hole or cutout near the edge should also line up with the igniter.
- Once each burner base is located and resting evenly, place each burner cap on its correct burner base.
- Place burner cap gently on top of base so that the prongs of the burner base fit snugly into the groove of the burner cap.
- Make sure the cap is centered on the burner base and lies flat and that there is no gap between the burner base and the burner cap.
- Gently try to move the burner cap from side to side to check for proper placement. If placement is correct, the cap will click from side to side as the prongs hit the grooved ridge on the underside of the cap.
- If the maintop is removed by a certified installer (for example to check electrical or piping connection) the panhead screws that were removed must be reinstalled to ensure proper functionality of burners.

Correct Placement for Burner Base and Burner Cap
| Corresponding Jet Holder and Burner Base | Burner Cap Dimensions | Corresponding Burner Cap |
![]() | 3 15/16” (100 mm) | ![]() |
![]() | 2 15/16” (75 mm) | ![]() |
![]() | 2 3/16” (55 mm) | ![]() |
![]() | 3 7/8” (98.5 mm) | ![]() |
![]() | 4 1/2” (116 mm) | ![]() |
![]() | 3 3/4” (95 mm) OptiSim® Burner Cap | ![]() |
- The jet holder and the burner base have corresponding letter demarcations to ensure proper placement of the burner base.
- The corresponding letters can be found on the inside bottom of the jet holder and on the bottom of the burner base.
- The cooktop comes with an extra burner cap.
- The A/A burner cap is for an auxilary burner. It can be replaced with the OptiSim® burner cap. See instructions under OptiSim® Burner Cap Placement for proper location and correct installation.
The OptiSim® has been designed to work with the small burner located in the rear position of the cooktop and is used to provide optimal simmering for delicate sauces while minimizing the risk of scorching.
OptiSim® Burner Cap Placement
- 30” 4 Burner

- 30” 5 Burner

- 36” 5 Burner

OptiSim® Burner Cap Installation


When properly installed the cap will extend beyond the burner base and raised surface.
Install Burner Grates
Properly position and install each burner grate as shown in the illustration below.
- 30” 4 Burner

- 30” 5 Burner

- 36” 5 Burner

WARNING
To prevent flare-ups, properly support pots and avoid spills, all grates must be properly positioned on the cooktop whenever the cooktop is in use.
Each of the four feet must be placed into the corresponding dimples in the cooktop. Do not use a grate if the rubber feet are missing or damaged.
Check the Installation
Place each correct sized burner cap in its seated, notched position and check the operation of the electric igniters. Check flame characteristics. Flame should be blue with a minimal yellow tip on the outer cone of the flames.
Checking Flame Characteristics
Yellow Flames:
Further adjustment is required.
Yellow Tips on Outer Cones:
Normal for LP Gas
Soft Blue Flames:
Normal for Natural Gas
Note: If the flame is completely or mostly yellow, verify that the regulator is set for the correct fuel. After adjustment, retest.
Some yellow streaking is normal during the initial startup. Allow unit to operate 4-5 minutes and re-evaluate before making adjustments.
Service
Before Calling Service
If the igniters do not spark or the “on” indicator lights (available in some models) do not glow, check the power source to see if a fuse has blown or if the circuit breaker has tripped.
Refer to the Statement of Limited Warranty in the Use and Care Manual. See the Use and Care Manual for troubleshooting information.
Product Rating Label
The rating label shows the model number and the FD number (production number/product’s unique identifier) of your cooktop. It is located on the underside of the cooktop.
Rating Label Location
A Rating Label
Model number and FD Number
The model number and the FD number of your appliance are found on the rating label. Make a note of these numbers in the space below to save time in the event your appliance requires service.
Customer Support
1901 Main Street, Suite 600 • Irvine, CA 92614 • 800-944-2904
www.bosch-home.com • © 2022 BSH Home Appliances































