VIEW
Funk-Regenmesser
Instruction manual
Kat.Nr.: 30.3802.02
30.3802.02 VIEW Radio Rain Gauge
Thank you for choosing this instrument from TFA.
Before you use this product: Please make sure you read the instruction manual carefully.
The operating instructions are enclosed with the device or can be downloaded at www.tfa-dostmann.de/en/service/downloads/instruction-manuals
This product should only be used as described within these instructions. Following and respecting the instructions in your manual will prevent damage to your instrument and loss of your statutory rights arising from defects due to incorrect use. We shall not be liable for any damage occurring as a result of non-following of these instructions.
Please take particular note of the safety advice!
Please keep this instruction manual safe for future reference.
VIEW
Wireless rain gauge
Cat. No. 30.3802.02
Delivery contents:
- Wireless rain gauge
- Instruction manual
Range of application and all the benefits of your new instrument at a glance:
- Wireless rain gauge for use with TFA VIEW WIFI weather stations and the VIEW App: e.g. item numbers 35.8000.01, 35.8001.01, 35.8002.01, 35.8003.01
- For the wireless transmission of rainfall quantity (868 MHz), transmission range up to 100 m (free field)
Safety notices
This product is exclusively intended for the range of application described above.
WARNING
- Keep the device and the batteries out of reach of children.
- Small parts can be swallowed by children (under three years old).
- Batteries contain harmful acids and may be hazardous if swallowed. If a battery is swallowed, this can lead to serious internal burns and death within two hours. If you suspect a battery could have been swallowed or otherwise caught in the body, seek medical help immediately.
- Batteries must not be thrown into a fire, short-circuited, taken apart or recharged.
Risk of explosion! - Low batteries should be changed as soon as possible to prevent damage caused by leaking.
Make sure the polarities are correct. Never use a combination of old and new batteries together, nor batteries of different types. Avoid contact with skin, eyes and mucous membranes when handling leaking batteries. In case of contact, immediately rinse the affected areas with water and consult a doctor.
CAUTION
- Unauthorised repairs, alterations or changes to the device are prohibited.
- Do not expose the device to extreme temperatures, vibrations or shocks.
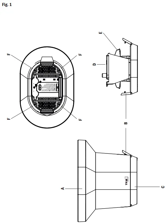
Elements
Rain sensor (Fig.1)
Housing
Fig.1-A Funnel
Fig.1-B Locking tabs
Fig.1-C Base
Fig.1-D Battery compartment
Fig.1-E Rocker
Fig.1-F 4 Screw holes for mounting
Getting started
Rain sensor
- Open the two tabs on each side of the rain sensor and lift off the funnel portion.
- Open the battery compartment and insert two new AA 1,5 V batteries. Make sure the polarities are correct (see marking on the cover).
- Close the battery compartment.
- Remove the transport lock of the rocker.
- Close the housing cover and lock it.
- Take the base station into operation according to the instruction manual of the base station or proceed according to “Add additional transmitters” in the Quick set-up guide.
Installation
Positioning of the rain sensor
- Place the rain sensor horizontally in an area where rain can fall directly into the container, ideally 60 to 90 cm above the ground on a small platform.
- You can tighten the rain sensor in the desired position with four screws.
Care and maintenance
- Clean the device with a soft damp cloth. Do not use solvents or scouring agents.
- Check and clean the rain gauge periodically for optimum performance of the rainfall measurement. The funnel should be routinely cleaned and freed from leaves and dirt.
- Remove the batteries if you do not use the device for a long period of time.
Battery replacement
- As soon as the corresponding battery symbol appears in the display of the weather station or in the device information of the VIEW App, please change the batteries of the rain sensor.
Troubleshooting
| Problem | Solution |
| No display of the rainfall quantity on the base station or VIEW App | Ensure the batteries’ polarities are correct Change the batteries For further information see the instruction manual of the base station |
If your device fails to work despite these measures, please contact the retailer where you purchased the product from for advice.
Specifications
Rain sensor
| Measuring range rainfall: | 0 … 9999 mm (0 … 393,6 inch) |
| Power supply: | 2 x 1,5V AA (not included). We recommend Alkaline batteries. |
| Battery life: | ca. 2 years (with Alkaline batteries) |
| Transmission frequency: | 868 MHz |
| Maximum radio-frequency power: | < 25mW |
| Transmission range: | 100m (open field). |
| Dimensions: | 180 x 120 x 134 mm |
| Weight: | 218 g (device only) |
Waste disposal
This product and its packaging have been manufactured using high-grade materials and components which can be recycled and reused. This reduces waste and protects the environment. Dispose of the packaging in an environmentally friendly manner using the collection systems that have been set up.
Disposal of the electrical devices
Remove non-permanently installed batteries and rechargeable batteries from the device and dispose of them separately. This product is labelled in accordance with the EU Waste Electrical and Electronic Equipment Directive (WEEE). This product must not be disposed of in ordinary household waste. As a consumer, you are required to take end-of-life devices to a designated collection point for the disposal of electrical and electronic equipment, in order to ensure environmentally-compatible disposal.
The return service is free of charge. Observe the current regulations in place!
Disposal of the batteries
Never dispose of empty batteries and rechargeable batteries with ordinary household waste. They contain pollutants which, if improperly disposed of, can harm the environment and human health. As a consumer, you are required by law to take them to your retail store or to an appropriate collection site de-pending on national or local regulations in order to protect the environment. The return service is free of charge. The symbols for the contained heavy metals are: Cd = cadmium, Hg = mercury, Pb = lead.
No part of this manual may be re-produced without written consent of TFA Dostmann. The technical data are correct at the time of going to print and may change without prior notice. The latest technical data and information about this product can be found in our homepage by simply entering the product number in the search box.
EU Declaration of conformity
Hereby, TFA Dostmann declares that the radio equipment type 30.3802.02 is in compliance with
Directive 2014/53/EU. The full text of the EU declaration of conformity is available at the following
internet address: www.tfa-dostmann.de/service/downloads/ce
www.tfa-dostmann.de | E-Mail: [email protected]
TFA Dostmann GmbH & Co.KG
Zum Ottersberg 12
97877 Wertheim – Germany![]()
https://www.tfa-dostmann.de/en/product/rain-transmitter-view-30-3802/#product-information



















