ACU-RITE Rain Gauge Instruction Manual
- Measure the Rainfall or Monitor Your Lawn and Garden Watering
- Measures in Inches or Centimeters
To Measure Rainfall:
Place rain gauge in open area away from trees, buildings, etc.
To Monitor Watering:
Place rain gauge on level ground. Anchor with 2″ nails (not included).
Helpful Hints:
- DO insert glass tube into top of plastic base with a slight twisting motion.
- DO NOT snap glass tube into front plastic base.
- DO NOT allow water to freeze in glass tube. Ice may crack tube.
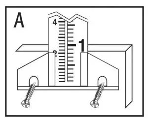
Side Mount

Top or Ground Mount
Product Facts
Measurement Ranges
MADE IN CHINA
HECHO EN CHINA
877-221-1252
AcuRite uses patented technology.
Visit www.AcuRite.com/patents for details.
AcuRite is a registered trademark of Chaney Instrument Co.
965 Wells St. Lake Geneva. WI 53147
Web
www.AcuRite.com
LIMITED I YEAR WARRANTY
Register your product on:
www.AcuRite.com
It’s More Than Accurate, it’s ACU R

















