
DIZO DA2105L GoPods Neo Earbuds

TIPS FOR USE
Wear the earbuds (the schematic diagram shows the right earbud)
- Keep the earbud tips inclined downward.

- Put the earbuds into the ear canal and rotate it left and right until your ear feels comfortable.

Instructions for touch control
- Please try to use your finger pulp with a large area to touch the touch area.

- The success rate of touch recognition can be improved by properly increasing the strength of the finger pulp touch on the touch area.

PACKING LIST

- Earbuds
- Charging box
- Type-C cable
- Earbud tips
- Getting started guide
- Tips card
*The M-size tips have been pre-installed on the earbuds
Choose suitable earbud tips
According to the actual situation of your left and right ears, please try on different sizes of earbud tips, and choose the one that suits you. The appropriate tips will bring you better noise cancelling experience, better music quality and more comfortable wearing experience.
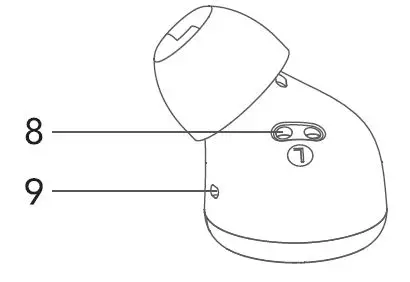
PRODUCT INTRODUCTION
- Charging box
- Indicator lamp
- Multi-function key

- Type-C charging port

- Call microphone
- Earbud touch area
- Noise cancelling microphone

- Charging contact
- Back tone hole

- Front tone hole

INSTRUCTIONS FOR USE
First use
Open the cover of the charging box, put two earbuds into the charging box, press and hold the multifunction key for 3 seconds, and when the indicator lamp flashes in green, the earbuds will automatically enter the pairing state. Touch
“DIZO GoPods Neo” in the Bluetooth list to pair.
Power on
Open the cover of the charging box, and the earbuds will be turned on automatically and reconnected to the previously paired device.
* When the earbuds are automatically shut down outside the box, put them in the charging box, close the cover of the charging box, and after it is opened again, the earbuds will be turned on and reconnected automatically.
Shut down
Put the earbuds in the charging box, close the box cover and the earbuds will be shut down automatically.
* If the earbuds in the pairing state fail to be connected to other device within 10 minutes, they will be turned off automatically.
* If the earbuds are beyond the effective distance of Bluetooth and fail to be reconnected within 10 minutes, they will be turned off automatically.
Pairing with a new device
Keep the earbuds in the charging box, press and hold the multifunction key for 3s, and when the indicator lamp flashes in green, the earbuds will enter the pairing state and can be paired with a new device.
Earbud charging
After the two earbuds are put in the charging box, close the cover of the charging box, and the earbuds will enter the charging state.
Charging of charging box
Please use the Type-C cable provided with the product for charging. If the indicator lamp is on after the cable is inserted, it indicates that the charging box has entered the charging state.
* The indicator lamp flashes during charging and is normally on after the product has been fully charged.

The indicator lamp is red – the battery level is below 20%
The indicator lamp is green – the battery level is higher than 20%
Touch functions
- Touch twice:

Play/pause music; Answer/hang up. - Touch three times:

Next Song. - Press and hold for 2s:

Reject incoming call. - Press and hold both left and right earbuds for 2s:

Switch between the noise cancelling mode and transparency mode.
Restore factory settings
Keep the earbuds in the charging box, press and hold the multifunction key for 10s until the indicator lamp flashes in red and green alternately, and the factory setting will be restored.
BASIC PARAMETERS
- Product name
DIZO GoPods Neo - Product model
DA2105 - Interface of charging box
Type-C - Earbud endurance in music mode
Noise cancelling is disabled: About 7H
Noise cancelling is enabled: About 5H - Charging box based music playing endurance
Noise cancelling is disabled: About 28H
Noise cancelling is enabled: About 20H - Charging time/input
About 2H/5V 500mA - Bluetooth version
Bluetooth 5.2 - Bluetooth protocol
HFP, HSP, A2DP, AVRCP - Bluetooth code
SBC, AAC - Communication distance
≤ 10m - Operating temperature
0°C~45°C - Frequency
2.4GHz~2.48GHz - Power
(BDR+EDR) BT: 10dbm (BLE) BT: 9dbm
*The Earbud endurance is the endurance of AAC music playing at 50% volume. The actual endurance may be different according to the use scenario.
WARRANTY
Thank you for purchasing Realfit products.
If any manufacturing defect problems occur within 12 months from the date of purchase, user can enjoy our company’s warranty service.
Matters Needing Attention:
- When you buy the product, the sales unit will issue a valid proof of purchase.
- The warranty card and the proof of purchase should be kept by the user properly, and it will not be replaced if lost.
- If the product fails due to non-human factors, the user can present the warranty card and proof of purchase to the Realfit customer service center for free maintenance during the warranty period.
Non-warranty situation:
This warranty does not cover the following cases:
- Out of warranty period.
- Damage caused by use not in accordance with the instructions.
- Damage caused by man-made causes.
- Failure caused by unauthorized disassembly, maintenance, or modification of the product.
- Damage caused by force majeure factors (such as floods, earthquakes, lightning, etc.).
- There is no warranty card, invoice, or warranty card that does not match the invoice information.
- The product wears naturally.
- Other failures and damages that are not caused by the quality of the product itself.


RECYCLING INITIATIVE
Thank you for choosing Realfit. Our responsibility is not limited to showing you our products. We have been working in the field of safe disposal of electronic waste. For more details about our recycling program, please visit www.dizo.net
Call us: Toll Free No.- 1800 843 3030
CAUTION
- Risk of explosion if the battery is replaced by an incorrect type.
- disposal of a battery into fire or a hot oven, or mechanically crushing or cutting of a battery, that can result in an explosion.
- leaving a battery in an extremely high temperature surrounding environment that can result in an explosion or the leakage of flammable liquid or gas;
- a battery subjected to extremely low air pressure that may result in an explosion or the leakage of flammable liquid or gas.
Disposal and Recycling Information
This symbol (with or without a solid bar) on the device, batteries (included), and / or the packaging, indicates that the device and its electrical accessories (for example, a headset, adapter or cable) and batteries should not be disposed of as household garbage.
Declaration of Conformity
Hereby, DIZO declares that the radio equipment type DA2105 of DIZO GoPods Neo is in compliance with Directive 2014/53/EU. and this product is allowed to be used in all EU member states.
FCC ID: 2AYPPDA2105L (Left) 2AYPPDA2105R (Right)
RF Exposure Information and Statement
The SAR limit of FCC is 1.6W/Kg for head. The highest SAR value reported under this standard during product certification when used against the
headis 0.162W/Kg.
This device complies with part 15 of the FCC rules.
Operation is subject to the following two conditions:
- this device may not cause harmful interference,
- this device must accept any interference received, including interference that may cause undesired operation.
NOTE: The manufacturer is not responsible for any radio or TV interference caused by unauthorized modifications to this equipment. Such modifications could void the user’s authority to operate the equipment.
NOTE: This equipment has been tested and found to comply with the limits for a Class B digital device, pursuant to part 15 of the FCC Rules. These limits are designed to provide reasonable protection against harmful interference in a residential installation. This equipment generates uses and can radiate radio frequency energy and, if not installed and used in accordance with the instructions, may cause harmful interference to radio communications. However, there is no guarantee that interference will not occur in a particular installation. If this equipment does cause harmful interference to radio or television reception,
which can be determined by turning the equipment off and on, the user is encouraged to try to correct the interference by one or more of the following measures:
- Reorient or relocate the receiving antenna.
- Increase the separation between the equipment and receiver.
- Connect the equipment into an outlet on a circuit different from that to which the receiver is connected.
- Consult the dealer or an experienced radio/TV technician for help
- This device and its antenna(s) must not be co-located or operating in conjunction with any other antenna or transmitter.
RF Warning statement:
The device has been evaluated to meet general RF exposure requirement. The device can be used in portable exposure condition without restriction.
WARNING
- Do not put this product in a liquid environment or expose it to high-humidity environment.
- Do not squeeze the product to avoid damaging it.
- Do not try to disassemble the product. If it needs to be stored for a long time, please put it in a cool and dry place to keep it dry.
- Avoid contact with strong magnets to prevent the magnetic earbud from being demagnetized.
- Do not use the product in a dusty, humid and dirty environment, otherwise the electronic circuit of the device may be damaged.
- Do not use this device during thunderstorm, as thunderstorm may cause device failure or electric shock.
- Please use your device in the environment of 0°C to 45°C. Your device may be damaged in an extremely hot or cold environment.
- For your safety, please do not use the product when riding a motorcycle or bicycle, driving or crossing the road.
- Keep the device out of the reach of children or pets to avoid injury.
- Please do not clean the product with any use chemicals, detergents or strong detergents.
To prevent possible hearing impairment when using the earbuds, please do not use high sound pressure and high volume for a long time.
REALFIT(SHENZHEN) INTELLIGENT TECHNOLOGY CO., LTD Room 201, building a, No.1 Qianwan 1st Road, Shenzhen Hong Kong cooperation zone, Shenzhen, China




























