GREENHECK Vektor-HS Laboratory Exhaust System

Product Information: Laboratory Exhaust System
The Vektor-H and Vektor-HS laboratory exhaust system is a self-supporting and standing system that is shipped in subassembly sections for easy rigging and installation. The system includes a blower assembly, stack extension, and discharge nozzle. The product is designed to be used in laboratory environments for exhaust purposes.
General Safety Information
It is important to follow all local electrical and safety codes, as well as the National Electrical Code (NEC), the National Fire Protection Agency (NFPA), where applicable. Follow the Canadian Electrical Code (CEC) in Canada. The rotation of the wheel is critical, and it must be free to rotate without striking or rubbing any stationary objects. The motor must be securely and adequately grounded. Do not spin fan wheel faster than the maximum cataloged fan RPM. Adjustments to fan speed significantly affect motor load. If the fan RPM is changed, the motor current should be checked to make sure it is not exceeding the motor nameplate amps. Do not allow the power cable to kink or come in contact with oil, grease, hot surfaces, or chemicals. Replace cord immediately if damaged. Verify that the power source is compatible with the equipment. Never open access doors to a duct while the fan is running. Always disconnect, lock and tag power source before installing or servicing. Failure to disconnect power source can result in fire, shock, or serious injury. When servicing the fan, motor may be hot enough to cause pain or injury. Allow motor to cool before servicing. Precaution should be taken in explosive atmospheres.
Only qualified personnel should install this fan system. Personnel should have a clear understanding of these instructions and should be aware of general safety precautions. Improper installation can result in electric shock, possible injury due to coming in contact with moving parts, as well as other potential hazards. Other considerations may be required if high winds or seismic activity are present. If more information is needed, contact a licensed professional engineer before moving forward.
- Follow all local electrical and safety codes, as well as the National Electrical Code (NEC), the National Fire Protection Agency (NFPA), where applicable. Follow the Canadian Electrical Code (CEC) in Canada.
- The rotation of the wheel is critical. It must be free to rotate without striking or rubbing any stationary objects.
- Motor must be securely and adequately grounded.
- Do not spin fan wheel faster than maximum cataloged fan RPM. Adjustments to fan speed signifi cantly effects motor load. If the fan RPM is changed, the motor current should be checked to make sure it is not exceeding the motor nameplate amps.
- Do not allow the power cable to kink or come in contact with oil, grease, hot surfaces or chemicals. Replace cord immediately if damaged.
- Verify that the power source is compatible with the equipment.
- Never open access doors to a duct while the fan is running.
DANGER
Always disconnect, lock and tag power source before installing or servicing. Failure to disconnect power source can result in fire, shock or serious injury.
CAUTION
When servicing the fan, motor may be hot enough to cause pain or injury. Allow motor to cool before servicing.
CAUTION
Precaution should be taken in explosive atmospheres.
Receiving
Greenheck models Vektor-H and Vektor-HS fans are thoroughly inspected, test run at the factory, and shipped on a skid or packaged to minimize damage during shipment. The transportation carrier has the responsibility of delivering all items in their original condition as received from the manufacturer. The individual receiving the equipment is responsible for inspecting the unit for obvious or hidden damage and recording any damage on the bill of lading before acceptance of the equipment. All claims (if necessary) shall be fi led with the final carrier.
Unpacking
Verify that all required parts and the correct quantity of each item have been received, including accessory kit containing gasketing, etc. If any items are missing, report shortages to your local representative to arrange for obtaining missing parts. Sometimes it is not possible that all items for the unit be shipped together due to availability of transportation and truck space. Confirmation of shipment(s) must be limited to only items on the bill of lading.
Handling
The Vektor-H and Vektor-HS laboratory exhaust system is shipped in subassembly sections for easy rigging and installation. Depending on the fan size, the sections can include: Blower Assembly, Stack Extension, and Discharge Nozzle.
The Vektor-H and Vektor-HS are designed to be self-supporting and standing (without the use of guy wires) when assembled per the instructions provided within this manual. All subassembly sections have lifting lugs as shown.
Storage
Fans are protected against damage during shipment. If the unit cannot be installed and operated immediately, precautions need to be taken to prevent deterioration of the unit during storage. The user assumes responsibility of the fan and accessories while in storage. The manufacturer will not be responsible for damage during storage. These suggestions are provided solely as a convenience to the user.
INDOOR
The ideal environment for the storage of fans and accessories is indoors, above grade, in a low humidity atmosphere which is sealed to prevent the entry of blowing dust, rain, or snow. Temperatures should be evenly maintained between 30°F and 110°F. (-1°C and 43°C). Wide temperature swings may cause condensation and “sweating” of metal parts. All accessories must be stored indoors in a clean, dry atmosphere.
Remove any accumulations of dirt, water, ice or snow and wipe dry before moving to indoor storage. To avoid “sweating” of metal parts allow cold parts to reach room temperature. To dry parts and packages use a portable electric heater to get rid of any moisture build up. Leave coverings loose to permit air circulation and to allow for periodic inspection. The unit should be stored at least 3-1/2 in. (89 mm) off the floor on wooden blocks covered with moisture proof paper or polyethylene sheathing. Aisles between parts and along all walls should be provided to permit air circulation and space for inspection.
OUTDOOR
Fans designed for outdoor applications may be stored outdoors, if absolutely necessary. Roads or aisles for portable cranes and hauling equipment are needed. The fan should be placed on a level surface to prevent water from leaking into the fan. The fan should be elevated on an adequate number of wooden blocks so that it is above water and snow levels and has enough blocking to prevent it from settling into soft ground. Locate parts far enough apart to permit air circulation, sunlight, and space for periodic inspection. To minimize water accumulation, place all fan parts on blocking supports so that rain water will run off. Do not cover parts with plastic film or tarps as these cause condensation of moisture from the air passing through heating and cooling cycles. Fan wheels should be blocked to prevent spinning caused by strong winds.
Inspection and Maintenance during Storage
While in storage, inspect fans once per month. Keep a record of inspection and maintenance performed; see back cover. If moisture or dirt accumulations are found on parts, the source should be located and eliminated. At each inspection, rotate the wheel by hand ten to fifteen revolutions to distribute lubricant on motor and bearings. If paint deterioration begins, consideration should be given to touch-up or repainting. Fans with special coatings may require special techniques for touch-up or repair. Machined parts coated with rust preventive coating should be restored to good condition promptly if signs of rust occur. Immediately remove the original rust preventive coating with petroleum solvent and clean with lint-free cloths. Polish any remaining rust from surface with crocus cloth or fi ne emery paper and oil. Do not destroy the continuity of the surfaces. Wipe clean thoroughly with Tectyl® 506 (Ashland Inc.) or the equivalent. For hard to reach internal surfaces or for occasional use, consider using Tectyl® 511M Rust Preventive or WD-40® or the equivalent.
REMOVING FROM STORAGE
As fans are removed from storage to be installed in their fi nal location, they should be protected and maintained in a similar fashion, until the fan equipment goes into operation.
Prior to assembly and installation of the Vektor fan and system components, inspect the fan assembly to make sure it is in working order.
- Check all fasteners, set screws on the fan, wheel, bearings, drive, motor base and accessories for tightness.
- Rotate the fan wheel(s) by hand and assure no parts are rubbing. Access to the wheel is obtained through a bolted panel located on the side of the fan housing.
General Information
To ensure a successful installation, the instructions in this manual should be read and adhered to. Failure to comply with proper installation procedures may void the warranty.
Unit and System Identification Tags
Each fan has a permanently affixed manufacturer’s engraved aluminum nameplate containing the model number and individual serial number.
The tag shown is an example of an identification nameplate on the fan. The information provides general details about the fan, as well as containing specific information unique to the unit. When contacting your local manufacturer’s representative with future needs or questions, please have the information on this label available. Tags are mounted in an area which is clearly visible, usually on the side of the fan cabinet. Vektor fan systems may arrive in component pieces due to shipping restrictions. Individual components of a system have matching
identification tags which should be used to identify and assemble the complete system. Assembling systems with different identification tags can cause reductions in the fan(s) performance. Prior to fully assembling and installing the Vektor-H or Vektor-HS fans, inspect bypass air plenums and the fan assembly to make sure they are in working order.
Pre-Installation Information
Before installation, it is important to be certain the mounting surface will bear the operating weight of the unit. For proper unit operation, it is also important that it be operated in a completely level position. For further details on safety practices involving industrial and commercial fans, please refer to AMCA Publication 410.
Electrical Disconnects
All fan motors should have disconnects located in close visual proximity to turn off electrical service. Service disconnects shall be locked-out when maintenance is being performed.
Moving Parts
All moving parts must have guards to protect personnel. Refer to local codes for requirements as to the number, type and design. Fully secure fan wheel before performing any maintenance. The fan wheel may start “free wheeling” even if all electrical power has been disconnected. Before the initial start-up or any restart, check the following items to make sure that they are installed and secure.
- Do not spin fan wheel faster than the maximum cataloged fan rpm.
- Adjustments to fan speed significantly affects motor load. If the fan RPM is changed, the motor current should be checked to make sure it is not exceeding the motor nameplate amps.
Guards (Motor Cover, Weather hoods)
Do not operate fans without proper protective devices in place. Failure to do so may result in serious bodily injury and property damage. Check local codes to ensure compliance for all protective devices.
Air Pressure and Suction
In addition to the usual hazards associated with rotating machinery, fans also create a dangerous suction at the inlet. Special caution needs to be used when moving around a fan, whether it is in operation or not. Before start-up, make sure the inlet area is clear of personnel and loose objects.
Rigging and Lifting
The steel cone is to be lifted by the points at the top, separately and individually from the fan assembly. Polyethylene nozzles do not have lifting points. If needed, attach polyethylene nozzle to fan or stack prior to lifting and use component lifting points. Fans and bypass air plenums (BAP) should be disassembled prior to lifting and lifted individually. Fans and BAP are to be rigged and moved by the lifting points provided or by the skid when a forklift is used. Location of the brackets varies by model and size. Handle in such a manner as to keep from scratching or chipping the coating. Damaged finish may reduce the ability of the fan to resist corrosion. Spreader bars are recommended to prevent damage to the unit. Failure to use spreader bars may result in damage which becomes the installer’s responsibility.
- Before lifting, be sure that all shipping materials have been removed from the unit.
- Use standard lifting and rigging practices.
- All lifting brackets on each unit must be utilized at the same time.
- Fan to be kept level during lifting and installation.
- Spreader bars must span the unit to prevent damage to the unit by the lifting cables.
- Always test-lift the unit to check for proper balance and rigging before hoisting to desired location.
- Never lift unit in windy conditions.
- Preparation of roof opening should be completed prior to lifting the unit onto the roof.
- Use well-padded chains to protect the unit from damage.
Vektor-H
Unit Assembly Lifting Lugs



| Unit Lifting Points | ||
| Fan | ||
| Size | Quantity | Placement |
| Belt – 9-12 | 2 | Inside fan body, on top of belt tube |
| Belt – 13-36 | 2 | Exterior of fan body |
| Direct – All | 4 | Outside of core and outside of fan body, All (4) to be used to “balance” the lift. |
| Bypass Air Plenum (BAP) | ||
| Size | Quantity | Placement |
| 1×1 – 9-22 | 2 | Opposite sides of plenum |
| 1×1 – 24-36 | 4 | Two on each end of plenum |
| 2×1 – 9-16 | 2 | Opposite sides of plenum |
| 2×1 – 18-36 | 4 | Two on each end of plenum |
| 3×1 – 16 | 2 | Opposite sides of plenum |
| 3×1 – 9-13, 18-36 | 4 | Two on each end of plenum |
Roof Curb and Mounting Details
NOTE
Steel, concrete or wood roof support is per structural engineer and in accordance with load requirements and applicable building codes.
The figures below illustrates three common methods used to install Vektor systems. Methods used to attach a Vektor unit are dependent on local codes, roof construction design and roof construction materials. Consult an architect or structural engineer for proper means of attachment.
Steel
Concrete

Duct Installation
Bottom Inlet Duct Connection
The end of the duct (customer-supplied) is secured between the roof curb’s top edge and the curb cap of either the Vektor-H or bypass air plenum. If an isolation damper is present in the roof curb, the duct is located between the roof curb and the damper adapter tray.
Option 1:
- No isolation damper in roof curb
- Bottom inlet on bypass air plenum

Option 2:
- With isolation damper in roof curb

Duct Connection to Curb
Side or End Duct Connection
- Vektor-H or Vektor-HS
- With bypass air plenum
NOTE
Plenum is provided with removable side or end panels, allowing the proper duct connection.
Fan to Bypass Air Plenum (BAP) Assembly
The fasteners below are to be used to attach the fan body to the bypass air plenum (BAP). Use this image to locate the position of the fasteners on the unit.
- Part #416511 are thread cutting screws. Use these screws to add threads to the bolt holes.
- Depending on the size of the Vektor-H unit, the stainless steel screws used from fastener kit 879437 to fasten the fan to the BAP will range from 12 to 16.
- See image below to locate bolt holes. Install moly-coated 316 stainless steel screws (provided) in all holes around the perimeter of the fan base.
- 1/4 inch thread cutting screws are recommended for fastening the Bypass Air Plenum (BAP) to the roof curb.
NOTE: The 1/4 inch thread cutting screws are not supplied by Greenheck.
| FASTENERS PER FLANGE | ||
| Part Description | Part # | Quantity |
| TCS,IHWH,.313-18X1,MECH ZP,TYP 23 | 415041 | 2 |
| CS,HH,.313-18X1,SS,316,MOLY,W/EPDM WSHR | 416511 | 16 |
Stack Extensions
Systems with multiple stack extensions require all sections assembled and installed on site between the main fan body and the discharge cone. Each section has guy wire attachment brackets located on the upper end of each section. The order sections are installed in are universal. Gasketing (3/16 x 1/2 inch with sticky back) is provided and is to be installed between each joining section.
Guy wires are required on system with multiple stack extensions. Location of connections, wiring and anchorage is determined by a structural engineer.
System Assembly
NOTE
When installing each section, be certain to rig each section separately using the lifting lugs provided.
- Mount roof curb to roof deck in accordance with local codes.
- Place the bypass air plenum (BAP) onto the secured roof curb. Pre-drill pilot holes into the roof curb using pre-existing holes in plenum as a guide. Use thread cutters to add threads to holes in roof curb. After installing gasketing on top edge of roof curb, attach the BAP to the roof curb with mounting hardware (recommend 5/16 x 1-inch long tread tapping screw – by others). If a BAP is not provided for the unit, skip to Step 4.
- Install 3/16-inch thick x 1/2-inch wide, closed-cell gasket on the top edge of BAP, adhesive side down (gasket provided). Leave no gaps between gasket sections to ensure a tight seal.
- Place the panel of the fan housing onto the gasket and BAP or onto roof curb if BAP is not provided. Use thread cutters to add threads to holes, securing with 1-inch moly-coated stainless steel screws. Must use every hole for proper coverage.
- Install the final nozzle subassemblies as shown in the submittal drawing. Align flange bolt holes and fasten sections using the 3/8-inch 316 stainless steel bolts, washers, and lock washers provided.
- Follow electrical connection and pre-start-up checks as listed on pages 10 and 11.

| FASTENER PER FLANGE | |||
| Part Description | Part # | Quantity | |
| Size 9-24 | Size 30-36 | ||
| CS,HH,.375-16X1.5,SS,316,MOLY | 415781 | 8 | 16 |
| NUT,HEX,.375-16,SS,316 | 415799 | 8 | 16 |
| WSHR,FLAT,.313X.05X.406X.875,SS,316 | 415800 | 16 | 32 |
| WSHR,LOCK,SPLIT,.375,SS,316 | 415810 | 8 | 16 |
Kitchen Roof Mounting Installation

UL/cUL 762 installation for restaurant applications
- The size of the duct must be equal to the inlet opening.
- Secure the fan to curb at all four corners using a minimum eight anchor bolts, lag screws or other suitable fasteners.
- Use optional grease trap and external junction box.
- Area codes may require a continuous weld between duct and inlet.
- To comply with NFPA 96, the discharge is required to be a minimum of 40 inches (1016 mm) above the roof deck and a minimum of 10 ft. from any building air intake. The minimum velocity in the duct should be 500 ft/min. or greater.
- Ductwork to an up blast discharge exhaust fan is constructed of carbon steel not less than 16 MSG (1.6 mm) and extends a minimum of 18 inches (457 mm) above the roof surface.
- Ensure that a minimum of 500 ft./min. of air velocity through the fan is maintained per NFPA 96, clause 8.2.1.1, 2008 edition and UL 762, Issue #5, December 19, 2003, clause 6.2.
Grease Trap
A grease trap is an aluminum trap designed to collect grease residue to avoid drainage onto roof surface. It contains a built-in water separating baffle.
Instructions
- Apply cover to grease trap. Install clip nuts to trap over holes provided. Attach cover with two #10 – 24 x 1/2 fasteners.
- Position the container under the grease drain so the drain spout enters the cover approximately 1-1/2 to 2 in. (38-51 mm).
- Locate and mark the container mounting holes on the extended base or roof curb.
- Drill 3/16 in. (5 mm) diameter holes in marked locations.
- Apply container with #10 – 24 x 3/4 fasteners.
- For most climates, fi ll container with water (at installation and after each cleaning) until it flows out the drain hole. The unit is now ready for use.
Maintenance
Regular inspection of grease trap is recommended. Depending on the amount of grease discharged through the fan, the grease trap should be changed accordingly to ensure proper operation.
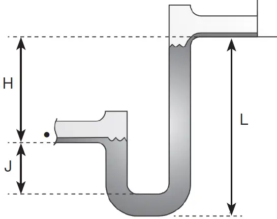
Fan and Plenum Drainage Piping / Trap Detail (By Others)
There is a location for a pipe connection on each tubular fan housing and bypass air plenum. Each drain may need to be connected to a drainage system to ensure proper disposal of any water or condensate that may occur.
- Drain connections are 1/2-inch NPT
- Installed piping to have a downward angle to allow for drainage
- Fill traps to recommended level before start-up
Note: A conservative method of trap design is to set N = total static pressure.
- Connect this end to the fan drain

- Connect this end to the optional BAP drain

H = 1 in. for each inch of maximum negative static pressure plus 1 in.
J = 1/2 of H
L = H + J + Pipe diameter
Electrical Connections
NOTE
Refer to the Vektor Laboratory Exhaust with Variable Geometry Nozzle (VGN) Technology Electrical Controls Installation, Operation and Maintenance Manual for electrical wiring and connection information.
Before electrical connections are made, the supply voltage, phase and ampere capacity must be checked for compatibility with the fan motor. In addition, the supply wiring must be properly fused and conform to local and national electrical codes. If unit is supplied with a safety disconnect switch, ensure proper wiring to the fan motor. Be sure the disconnect is switched to the “OFF” position before connecting supply wires. If no disconnect is supplied, ensure the supply wire is not live before connection. Supply wires are then connected to the optional safety disconnect switch (if supplied) or motor.
Vektor-H Motor Disconnect and Isolation Damper Wiring Diagram
Disconnect is mounted to fan housing. Transformers are mounted to bypass air plenum with damper actuator motors. For systems that ship unassembled because of physical size, this connection at disconnect from transformers must be field-installed. Wires with conduit and fittings are provided pre-connected to transformers.
- Single Phase Layout

- Three Phase Layout

- Three Phase with Variable Frequency Drives Layout

Vektor-H Applications with Variable Frequency Drive (VFD)
For Vektor systems with single-point, three-phase wiring per blower, the isolation damper actuator will be powered via a step-down transformer, which is wired to the fan disconnect, as shown in the wiring diagrams on page 10.
If fan flow (motor speed) is to be controlled using a variable frequency drive with this wiring, the reduced voltage and frequency supplied to the fan will cause control problems with the isolation damper actuator.
When a project’s Vektor control sequence requires the use of a VFD, it is suggested that the control contractor supply the isolation damper actuator voltage, independent of the power supplied to the Vektor fan motor.
NOTE
For Vektor-HS fans provided from the factory with a VFD, refer to the Vektor Laboratory Exhaust with Variable Geometry Nozzle (VGN) Technology Electrical Controls Installation, Operation and Maintenance Manual for electrical wiring and connection information.
Pre-Start-Up Checks
Check all fasteners for tightness.
Check radial gap, overlap and wheel alignment. The wheel should be aligned as shown. Although the wheel position is preset and the unit is test run at the factory, movement may occur during shipment.
The radial gap should be consistent at all locations between the centrifugal wheel and the inlet cone. Centering may be accomplished by loosening the inlet cone bolts and repositioning the inlet cone.
To obtain the optimum performance, the centrifugal wheel must overlap the inlet cone. Adjustments can be made by loosening the set screws in the wheel and moving the wheel to the desired position.
Wheel rotation should be in the same direction as the rotation decal affixed to the unit. (Counterclockwise rotation is correct as viewed from fan inlet). For 3-phase installations, fan rotation can be reversed by simply interchanging any two of the three electrical leads. For single phase installations, follow the wiring diagram located on the motor.
NOTE
Any increase in fan speed represents a substantial increase in horsepower required from the motor. Always check motor load amperage and compare to nameplate rating when changing fan speed.
| Belt Drive | ||||
| Inlet Cone to Backplate | ||||
| Unit Size | A Dimension ± Tolerance | A Dimension ± Tolerance | ||
| Inches | millimeter | |||
| 9 | 3-3/16 | ± 1/8 | 81 | ± 3 |
| 10 | 3-7/16 | ± 1/8 | 87 | ± 3 |
| 12 | 4 | ± 1/8 | 102 | ± 3 |
| 13 | 4-7/16 | ± 1/8 | 113 | ± 3 |
| 16 | 5-7/16 | ± 1/8 | 138 | ± 3 |
| 18 | 6-3/8 | ± 1/8 | 162 | ± 3 |
| 22 | 7-13/16 | ± 3/16 | 198 | ± 5 |
| 24 | 8-5/8 | ± 1/4 | 219 | ± 6 |
| 30 | 10-9/16 | ± 3/8 | 268 | ± 10 |
| 36 | 12-3/4 | ± 3/8 | 324 | ± 10 |
| Direct Drive | ||||
| Inlet Cone to Backplate | ||||
| Unit Size | A Dimension ± Tolerance | A Dimension ± Tolerance | ||
| Inches | millimeter | |||
| 10 | 3-1/2 | ± 1/8 | 89 | ± 3 |
| 12 | 4-5/16 | ± 1/8 | 125 | ± 3 |
| 13 | 4-7/8 | ± 1/8 | 124 | ± 3 |
| 14 | 5-7/16 | ± 1/8 | 138 | ± 3 |
| 16 | 6-1/16 | ± 1/8 | 154 | ± 3 |
| 18 | 6-7/8 | ± 1/8 | 175 | ± 3 |
| 20 | 7-11/16 | ± 1/8 | 195 | ± 3 |
Radial Gap is adjusted by loosening the inlet cone bolts and centering the cone on the wheel. If additional adjustment is required to maintain a constant radial gap, loosening the bearing bolts and centering the wheel is acceptable as a secondary option.
Overlap or offset, is adjusted by loosening the wheel hub from the shaft and moving the wheel to the desired position along the shaft. The transition between the inlet cone and wheel should be as shown above; there is a smooth feel to the profile when moving from one component to the other.
Maintenance
WARNING
disconnect all electrical power to the fan and secure to the ‘OFF’ position prior to inspection or servicing. Failure to comply with this safety precaution could result in serious injury or death.
Once the fan has been put into operation, a periodic maintenance program should be set up to preserve the reliability and performance of the fan. Items to be included in this program are:
- Belts
- Fasteners
- Set Screws
- Motors
- Removal of dust and dirt
- Fan shaft bearings
- Vektor-HS nozzle bearings
- Re-lubrication schedule
Belts
Premature belt failures are frequently caused by improper belt tension (either too tight or too loose) or misaligned pulleys. The proper tension for operating a V-belt is the lowest tension at which the belts will not slip at peak load conditions. For initial tensioning, the proper belt deflection half-way between pulley centers is 1/64-inch for each inch of belt span. For example, if the belt span is 64 inches, the belt deflection should be one inch using moderate thumb pressure at midpoint of the drive.
Check belt tension two times during the fi rst 24 hours of operation and periodically thereafter. To adjust belt tension, simply loosen four fasteners (two on each side of the motor plate) and slide the motor plate away from the fan shaft until proper belt tension is attained. On some fans, fasteners attaching the motor to the motor plate must be loosened in order to adjust the belt.
It is very important that the drive pulleys remain in proper alignment after adjustments are made.
Misalignment of pulleys will result in premature belt wear, noise, vibration and power loss.
Fasteners and Set Screws
A periodic inspection should include checking all fasteners and set screws for tightness. Particular attention should be paid to set screws attaching the wheel to the shaft.
Motors
Belt Drive:
Many fractional horsepower motors installed on the smaller fans are lubricated for life and require no further attention. Motors supplied with grease fittings should be greased according to directions printed on the motor.
Direct Drive:
Motor bearings are lubed for life, with no maintenance required.
If motor or wheel needs to be serviced or replaced, use the lifting lugs to pull assembly cartridge out.
Removal of Dust and Dirt
Dirt clogs cooling openings on the motor housing, contaminates bearing lubricant, and collects on the impeller causing severe imbalance if left unchecked. The exterior surface of the motor and impeller should be thoroughly cleaned periodically. Use caution and do not allow water or solvents to enter the motor or bearings. Under no circumstances should motors or bearings be sprayed with steam or water.
Fan Shaft Bearings
The bearings for Greenheck fans are carefully selected to match the maximum load and operating conditions of the specific class, arrangement, and fan size. The instructions provided in this manual and those provided by the bearing manufacturer will minimize any bearing problems. Bearings are the most critical moving part of the fan; therefore, special care is required when mounting them on the unit and maintaining them. Locking collars and set screws, in addition to fasteners attaching the bearing to the bearing plate must be checked for tightness. Greenheck Fan Corporation recommends bearings to be re-lubricated quarterly at a minimum. All Vektor-H and Vektor-HS fans use Mobil Mobility SHC 100 synthetic grease conforming to NCGI Grade 2. Never mix greases made with different bases as this will cause a breakdown of the grease and possible failure of the bearing. For specific information, contact the factory representative or the fan system submittals.
- For conditions including temperatures, moisture, dirt or excessive vibration, consult the factory for a specific lubrication interval for your application.
- Lubricant should be a high quality lithium complex synthetic grease conforming to NLGI Grade 2.
| Recommended Bearing Lubrication Schedule Relubrication Schedule in Months* | ||||
| Fan Size | 9 – 13 | 16 – 22 | 24 | 30 – 36 |
| Fan RPM | Bearing Bore (inches) | |||
| 1⁄2 – 1 | 11⁄8 – 11⁄2 | 15⁄8 – 17⁄8 | 115⁄16 – 23⁄16 | |
| to 250 | 12 | 12 | 12 | 12 |
| 500 | 12 | 12 | 12 | 12 |
| 750 | 12 | 12 | 12 | 12 |
| 1000 | 12 | 12 | 12 | 12 |
| 1250 | 12 | 12 | 12 | 12 |
| 1500 | 12 | 12 | 12 | 10 |
| 2000 | 12 | 10 | 8 | 6 |
| 2500 | 12 | 7 | 5 | 4 |
| 3000 | 12 | 5 | 3 | 2 |
| 3500 | 12 | 3 | 2 | 0.75 |
| 4000 | 12 | 2 | 0.5 | |
| 5000 | 12 | 1 | ||
| Number of shots of grease** | 4 | 8 | 8 | 10 |
* Lubrication interval is based on 12 hour per day operation and maximum 160°F. housing temperature. For 24 hour per day operation, the interval should be cut in half.
** Lubricant should be added with the shaft rotating and until clean grease is seen purging from the bearing. The lubrication interval may be modified based on the condition of the purged grease. If bearing is not visible to observe purged grease, lubricate with number of shots indicated for bore size
- For conditions including high temperatures, moisture, dirt or excessive vibration, consult the factory for a specific lubrication interval for your application
- Lubricant should be a high quality lithium complex synthetic grease conforming to NLGI Grade 2. Factory recommends Mobilith SCH-100.
- The use of non-synthetic grease will decrease lubrication intervals by approximately 3 times
- Storage periods of 3 months or longer require monthly rotation of the shaft and purging grease prior to storage and start-up.
Damper and Damper Actuators
CAUTION
If performing maintenance on the dampers or replacing actuators, disconnect power to damper actuators.
If access is required to a gravity isolation damper, remove the panel opposite the weather hood on the bypass air plenum section and slide the damper straight out toward you.
When performing maintenance on an isolation damper with an actuator, remove the bolted weather hood, and disconnect the actuator from damper. Then remove the panel opposite the weather hood on the bypass air plenum section and slide the isolation damper out.
Damper actuators, when supplied by Greenheck, are designed to be maintenance free. No lubrication is required.
Vektor-HS Nozzle Bearings
The bearings for the HS nozzle assembly are permanently lubricated and do not require additional grease.
Field Coating Touch-Up for Scratched Areas
Standard coating and color is Lab Coat™ RAL 7023 Concrete Grey.
Failure to perform touch-ups may result in rust or corrosion which can accelerate color fade. This not covered under warranty.
TOUCH-UP PAINT REPAIR KIT CONTENTS
- One Zinc Clad Aerosol Can
- One pint (recoat epoxy primer grey) with one pint (recoat epoxy primer catalyst)
- One quart H.S. Polyurethane
- One Scotch-Brite scratch pad
- Two 1-1/2 inch wide paint brushes
- Four pint-sized empty cans for mixing
- One quart-sized empty can for mixing
- Zinc repair instructions
- MSDS sheets
NOTE
While the manufacturer provides heavy-duty, quality products for marine environments, routine paint touch-ups may be required in coastal regions where salt or marine air could damage the coating. The severe environment will accelerate the damage from any scratches or chips and it is recommended that those be repaired immediately.
To order a coating repair kit, please reference part number HAZ2597 PNT FIELD REPAIR KIT, RAL7023 CONCRETE GREY. Please contact factory with your fan’s serial number for colors other than our standard.
Vektor-H and Vektor-HS Exhaust Fan Parts List and Assembly
Each fan bears a manufacturer’s nameplate with model number and serial number embossed. This information in addition to the parts list shown, will assist the local sales representative and the factory in providing service and replacement parts.
Side View
Top View
Vektor-HS Nozzle Parts List and Assembly
| Item | Quantity | Description |
| 1 | 2 | Transition Weld |
| 2 | 2 | Transition side cover |
| 3 | 2 | Wind wrap round |
| 4 | 2 | Wind wrap flat |
| 5 | 2 | Frame bottom bar |
| 6 | 2 | Frame top bar |
| 7 | 2 | Frame weld |
| 8 | 2 | Blade weld |
| 9 | 1 or 2* | Actuator mount |
| 10 | 4 | Lifting point |
| 11 | 1 or 2* | Actuator cover |
| 12 | 2 | Blade seal, right |
| 13 | 6 | Blade seal, left |
| 14 | 4 | Flex backing |
| 15 | 2 | Vektor backing |
| 16 | 1 or 2* | Actuator |
| 17 | 1 | Electrical box |
| 18 | 4 | Bearing |
| 19 | 4 | Blade seal |
| 20 | 2 | Flex seal |


Maintenance Log
Date ___________________Time _____________ AM/PM Notes: ___________________________________________ _________________________________________________ _________________________________________________ _________________________________________________ _________________________________________________
Date ___________________Time _____________ AM/PM Notes: ___________________________________________ _________________________________________________ _________________________________________________ _________________________________________________ _________________________________________________
Date ___________________Time _____________ AM/PM Notes: ___________________________________________ _________________________________________________ _________________________________________________ _________________________________________________ _________________________________________________
Date ___________________Time _____________ AM/PM Notes: ___________________________________________ _________________________________________________ _________________________________________________ _________________________________________________ _________________________________________________
Date ___________________Time _____________ AM/PM Notes: ___________________________________________ _________________________________________________ _________________________________________________ _________________________________________________ _________________________________________________
Date ___________________Time _____________ AM/PM Notes: ___________________________________________ _________________________________________________ _________________________________________________ _________________________________________________ _________________________________________________
Date ___________________Time _____________ AM/PM Notes: ___________________________________________ _________________________________________________ _________________________________________________ _________________________________________________ _________________________________________________
Date ___________________Time _____________ AM/PM Notes: ___________________________________________ _________________________________________________ _________________________________________________ _________________________________________________ _________________________________________________
Our Commitment
As a result of our commitment to continuous improvement, Greenheck reserves the right to change specifications without notice.
Product warranties can be found online at Greenheck.com, either on the specific product page or in the literature section of the website at Greenheck.com/Resources/Library/Literature.
Greenheck’s Vektor-H and Vektor-HS, Vektor-MS and Vektor-CS catalogs provides additional information describing the equipment, fan performance, available accessories, and specification data.
AMCA Publication 410-96, Safety Practices for Users and Installers of Industrial and Commercial Fans, provides additional safety information. This publication can be obtained from AMCA International, Inc. at www.amca.org.
Installation methods for Greenheck Vektor-H and Vektor-HS fans with Miami-Dade NOA Certification per NOA No. 22-0217.03
Must be installed with Greenheck model GPFHD curb.
- Concrete Deck Anchoring

- Timber Anchoring

- Steel Anchoring – Self Drill / Tap Fasteners

- Steel Anchoring – Thru Bolts

|
Model | MINIMUM NUMBER OF FASTENERS PER SIDE TO ATTACH CURB TO STRUCTURE (excludes 4 corner fasteners) USE ONE 2 in. x 2 in. x 1/4 in. SQUARE WASHER UNDER ALL FASTENERS | |||||||||||
| Concrete Deck Anchoring | Steel Anchoring Thru Bolts | Timber Anchoring | Steel Anchoring Self-Drill/Tap | |||||||||
| 1×1 or fan only | 2×1 | 3×1 | 1×1 or fan only | 2×1 | 3×1 | 1×1 or fan only | 2×1 | 3×1 | 1×1 or fan only | 2×1 | 3×1 | |
| Vektor-H-9 |
4 |
9 |
14 |
2 |
5 |
8 |
5 |
10 |
16 |
7 |
13 |
20 |
| Vektor-H-10 | ||||||||||||
| Vektor-H-12 | ||||||||||||
| Vektor-H-13 | ||||||||||||
| Vektor-H-14 | ||||||||||||
| Vektor-H-16 | ||||||||||||
| Vektor-H-18 |
8 | 13 |
19 | |||||||||
| Vektor-H-20 | ||||||||||||
| Vektor-H-22 | ||||||||||||
| Vektor-H-24 | 14 | 6 | ||||||||||
| Vektor-H-30 | 5 | 10 | 15 | 3 | 6 | 9 | 12 | 18 | 8 | 14 | 22 | |
| Vektor-H-36 | 6 | 12 | 18 | 7 | 11 | 8 | 14 | 22 | 9 | 17 | 26 | |
Curb Fasteners
Curb to be Greenheck model GPFHD.
Maintenance Log
Date ___________________Time _____________ AM/PM Notes: ___________________________________________ _________________________________________________ _________________________________________________ _________________________________________________ _________________________________________________
Date ___________________Time _____________ AM/PM Notes: ___________________________________________ _________________________________________________ _________________________________________________ _________________________________________________ _________________________________________________
Date ___________________Time _____________ AM/PM Notes: ___________________________________________ _________________________________________________ _________________________________________________ _________________________________________________ _________________________________________________
Date ___________________Time _____________ AM/PM Notes: ___________________________________________ _________________________________________________ _________________________________________________ _________________________________________________ _________________________________________________
Date ___________________Time _____________ AM/PM Notes: ___________________________________________ _________________________________________________ _________________________________________________ _________________________________________________ _________________________________________________
Date ___________________Time _____________ AM/PM Notes: ___________________________________________ _________________________________________________ _________________________________________________ _________________________________________________ _________________________________________________
Date ___________________Time _____________ AM/PM Notes: ___________________________________________ _________________________________________________ _________________________________________________ _________________________________________________ _________________________________________________
Date ___________________Time _____________ AM/PM Notes: ___________________________________________ _________________________________________________ _________________________________________________ _________________________________________________ _________________________________________________
Our Commitment
As a result of our commitment to continuous improvement, Greenheck reserves the right to change specifications without notice.
Product warranties can be found online at Greenheck.com, either on the specific product page or in the literature section of the website at Greenheck.com/Resources/Library/Literature.
AMCA Publication 410-96, Safety Practices for Users and Installers of Industrial and Commercial Fans, provides additional safety information. This publication can be obtained from AMCA International, Inc. at www.amca.org.
Phone: 715.359.6171
Fax: 715.355.2399
Parts: 800.355.5354
E-mail: [email protected]
Website: www.greenheck.com





























