Vent-Axia ACM100 B ACM In-Line Mixed Flow Fans
INSTRUCTIONS
Installation and Wiring Instructions for the ACM IN-LINE MIXED FLOW FAN range.
IMPORTANT: READ THESE INSTRUCTIONS BEFORE COMMENCING THE INSTALLATION
DO NOT install this product in areas where the following may be present or occur:
- Excessive oil or a grease laden atmosphere.
- Corrosive or flammable gases, liquids or vapours.
- Ambient temperatures higher than 40°C or less than –5°C.
- Possible obstructions which would hinder the access or removal of the Fan.
- Sudden ductwork bends or transformations close to the Fan.
SAFETY AND GUIDANCE NOTES
- All wiring to be in accordance with the current I.E.E. Regulations, or the appropriate standards of your country and MUST be installed by a suitably qualified person.
- The Fan should be provided with a local double pole isolator switch having a contact separation of at least 3mm.
- Ensure that the mains supply (Voltage, Frequency, and Phase) complies with the rating label.
- The Fan should only be used in conjunction with the appropriate Vent-Axia products.
- It is recommended that the connection to the fan connecter terminals is made with flexible cable.
- When the Fan is used to remove air from a room containing a fuel-burning appliance, precautions must be taken to avoid back-flow of gases into the room from the open flue of gas or other appliance. Ensure that the air replacement is adequate for both the fan and the fuel-burning appliance.
- The Fan should not be used where it is liable to be subject to direct water spray for prolonged periods of time.
- Where ducted Fans are used to handle moisture-laden air, a condensation trap should be fitted. Horizontal ducts should be arranged to slope slightly downwards away from the Fan.
- This appliance is not intended for use by persons (including children) with reduced physical, sensory or mental capabilities, or lack of experience and knowledge, unless they have been given supervision or instruction concerning use of the appliance by a person responsible for their safety.
- Young children should be supervised to ensure that they do not play with the appliance.
INSTALLATION
The unit is designed as an in-line duct fan to be positioned between lengths of ducting. Short duct runs terminating close to the fan (i.e. within 1.5m) must incorporate suitable guards unless the fan is mounted higher than 2.1m above the floor. If flexible ducting is used it should be fully extended to obtain the best results. Position the fan at the highest point on the system with both ducting runs sloping downwards from this point. The airflow direction is indicated on the rating label with an arrow pointing in the direction of the airflow.
A condensate trap will be required in the exhaust duct where excessive levels of moisture are present in the air.
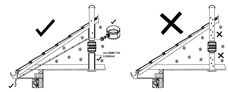
Ducting passing through an unheated roof void should be insulated.
(Refer to Fig 15 for overall fan dimensions and fixing hole positions). When siting the appliance ensure that there is sufficient space to allow access for any servicing and maintenance.
To gain access to the mounting holes, proceed as follows: –
- Using a cross-headed screwdriver, release the two blue plastic clips by undoing the two bolts as shown in Fig 1. Slide out motor impeller assembly, see Fig 2.
- The fan can now be mounted at any angle, using the holes provided Fig 3,4,5,6 & 15
- Once the base is securely fixed, slide the motor impeller assembly back, as shown in Fig 7. Replace the screw and tighten to lock the assembly together Fig 8.

WIRING.
WARNING: THE FAN AND ANCILLARY CONTROL EQUIPMENT MUST BE ISOLATED FROM THE POWER SUPPLY DURING THE INSTALLATION / OR MAINTENANCE.
THE ACM FANS ARE DOUBLE INSULATED AND CARRY A MARK. THERE ARE NO EARTH TERMINALS AND THESE FANS MUST NOT BE EARTHED.
- Remove terminal box cover & screws and put to one side Fig. 9
- Select and follow the appropriate wiring diagram (Fig. 10-11).
- Check all connections have been made correctly and ensure all terminal connections and cable clamps are securely fastened. (Fig 12)
- The cable entry must be made using the cable grommet provided
- Replace terminal box cover & screws Fig.13
- Ensure the impeller rotates and is free from obstructions

Timer Adjustment
The fan must be wired to a remote switch (e.g. light switch). When switched ‘ON’, the fan will operate at the selected speed, and will continue to run for a preset time after the fan is switched ‘OFF’. The timer is factory set at 15 minutes approx. The overrun time period can be adjusted from 3-25 minutes by altering the adjuster on the control PCB with the use of a small flat bladed screwdriver. Fig 13
Before adjusting the timer, switch off the Mains Supply.
Remove the fan terminal box cover and retain screws
To INCREASE the operating time, turn the adjuster CLOCKWISE. To REDUCE the operating time, turn the adjuster ANTI-CLOCKWISE. Replace the fan terminal box cover. 
Speed Adjustment
The fan has three speeds which are selectable by changing the position of the jumper. The fan is factory set to Setting 3 – High speed. To change the speed setting, pull the jumper off the header pins and place back onto the desired position, see Fig14.
- Setting is LOW SPEED
- Setting is MEDIUM SPEED
- Setting is HIGH SPEED

Variable Speed Controller
Speed adjustment for the basic version can also be achieved with the use of a speed controller (stock reference W300310). If a speed controller is used then the speed setting on the fan unit should be setting 3 – High Speed. Follow the Installation and wiring instructions for the speed controller unit to install the controller correctly. A variable speed controller should NOT be used with the timer version.
OVER-HEATING PROTECTION.
The fan motor is fitted with Thermal Overload Protection. This is a one-shot thermal fuse. In the event of a fault condition the fan will be automatically switched off. If this occurs isolate the fan, and call your service engineer.
SERVICING AND MAINTENANCE
WARNING: THE FAN AND ANCILLARY CONTROL EQUIPMENT MUST BE ISOLATED FROM THE POWER SUPPLY DURING MAINTENANCE.
- At intervals appropriate to the installation, the fan should be inspected and cleaned to ensure there is no build up of dirt or other deposits.
The ACM In-Line Mixed Flow fan has sealed for life bearings, which do not require lubrication.
| Dimensions(mm) | 100 | 125 | 150 | 200 |
| AØ | 98 | 122 | 147 | 198 |
| BØ | 178 | 178 | 200 | 220 |
| C | 124 | 124 | 138 | 138 |
| D | 298 | 259 | 307 | 300 |
| E | 96 | 96 | 118 | 130 |
| F | 168 | 168 | 192 | 195 |
| G FIXING CTRS | 120 | 120 | 162 | 100 |
| H FIXING CTRS | 153.5 | 153.5 | 178 | 180 |

PRODUCT FICHE
For Residential Ventilation Units (Complying Commission Delegated Regulation (EU) No 1254/2014)
Basic Models
| Name: | Vent-Axia | Vent-Axia | Vent-Axia | Vent-Axia |
| Model ID (Stock Ref): | ACM100 – 17104010D | ACM125 – 17105010D | ACM150 – 17106010C | ACM200 – 17108010C |
| Declared as: RVU or NRVU/UVU or BVU | NRVU/UVU | NRVU/UVU | NRVU/UVU | NRVU/UVU |
| Speed Drive | Multi Speed | Multi Speed | Multi Speed | Multi Speed |
| Type HRS (Recuperative, Regenerative, None) | None | None | None | None |
| Thermal Eff: [ (%), NA(if none)] | N/A | N/A | N/A | N/A |
| Nominal Flow Rate (m3/s) | 0.06 | 0.07 | 0.11 | 0.18 |
| Effective Elec. Power Input (kW): (@Nom.Flow Rate&Ext. Pressure) | 0.02 | 0.03 | 0.05 | 0.10 |
| SFPint [W/(m3/s)] | N/A | N/A | N/A | N/A |
| Face Velocity (m/s) @ Design Flow Rate | N/A | N/A | N/A | N/A |
| Nominal External Pressure: (∆ps, ext) in Pa | 71 | 74 | 92 | 167 |
| Internal Pressure Drop of Ventilation Components (∆ps, int) in Pa; | N/A | N/A | N/A | N/A |
| Additional Internal Press. Drop of Non-Ventilation Comp.:∆ps, add (Pa) | N/A | N/A | N/A | N/A |
| Static Eff. Of fans used in accordance with Regulation (EU) No. 327/2011; | TBC | TBC | TBC | TBC |
| Declared:-Max Internal & External Leakage Rates (%) for BVUs or carry over (for regenerative heat exchangers only), & Ext. Leakage Rates (%) for Ducted UVU’s; | N/A | N/A | N/A | N/A |
| Energy Performance, preferably energy classification, of the Filters (declared information about the calculated AEC) | N/A | N/A | N/A | N/A |
| Filter Warning (RVU) | No | No | No | No |
| For UVUs (Instructions Install Grilles Façade) | In F&W | In F&W | In F&W | In F&W |
| Internet Address (for Disassembly Instructions) |
PRODUCT FICHE
For Residential Ventilation Units (Complying Commission Delegated Regulation (EU) No 1254/2014) – Continued
Timer Models
| Name: | Vent-Axia | Vent-Axia | Vent-Axia | Vent-Axia |
| Model ID (Stock Ref): | ACM100T – 17104020F | ACM125T – 17105020C | ACM150T – 17106020D | ACM200T – 17108020B |
| Declared as: RVU or NRVU/UVU or BVU | NRVU/UVU | NRVU/UVU | NRVU/UVU | NRVU/UVU |
| Speed Drive | Multi Speed | Multi Speed | Multi Speed | Multi Speed |
| Type HRS (Recuperative, Regenerative, None) | None | None | None | None |
| Thermal Eff: [ (%), NA(if none)] | N/A | N/A | N/A | N/A |
| Nominal Flow Rate (m3/s) | 0.06 | 0.07 | 0.11 | 0.18 |
| Effective Elec. Power Input (kW): (@Nom.Flow Rate&Ext. Pressure) | 0.02 | 0.03 | 0.05 | 0.10 |
| SFPint [W/(m3/s)] | N/A | N/A | N/A | N/A |
| Face Velocity (m/s) @ Design Flow Rate | N/A | N/A | N/A | N/A |
| Nominal External Pressure: ( ? ps, ext) in Pa | 71 | 74 | 92 | 167 |
| Internal Pressure Drop of Ventilation Components (?p s, int) in Pa; | N/A | N/A | N/A | N/A |
| Additional Internal Press. Drop of Non-Ventilation Comp.: ?p s, add (Pa) | N/A | N/A | N/A | N/A |
| Static Eff. Of fans used in accordance with Regulation (EU) No. 327/2011; | TBC | TBC | TBC | TBC |
| Declared:-Max Internal & External Leakage Rates (%) for BVUs or carry over (for regenerative heat exchangers only), & Ext. Leakage Rates (%) for Ducted UVU’s; | N/A | N/A | N/A | N/A |
| Energy Performance, preferably energy classification, of the Filters (declared information about the calculated AEC) | N/A | N/A | N/A | N/A |
| Filter Warning (RVU) | No | No | No | No |
| For UVUs (Instructions Install Grilles Façade) | In F&W | In F&W | In F&W | In F&W |
| Internet Address (for Disassembly Instructions) |
Applicable only to products installed and used in the United Kingdom. For details of guarantee outside the United Kingdom contact your local supplier.
Vent-Axia guarantees its products for two years from date of purchase against faulty material or workmanship. In the event of any part being found to be defective, the product will be repaired, or at the Company’s option replaced, without charge, provided that the product:-
- Has been installed and used in accordance with the instructions given with each unit.
- Has not been connected to an unsuitable electricity supply. (The correct electricity supply voltage is shown on the product rating label attached to the unit).
- Has not been subjected to misuse, neglect or damage.
- Has not been modified or repaired by any person not authorised by the company.
EU Authorised Representative: Vent-Axia Bedrijvenweg 17 7442 CX Nijverdal Nederland. [email protected]
UK NATIONAL CALL CENTRE, Newton Road, Crawley, West Sussex, RH10 9JA
SALES ENQUIRIES: Tel: 0344 8560590 Fax: 01293 565169
TECHNICAL SUPPORT: Tel: 0344 8560594 Fax: 01293 532814
For details of the warranty and returns procedure please refer to www.vent-axia.com or write to Vent-Axia Ltd, Fleming Way, Crawley, RH10 9YX
























