indelB CRUISE CR 42 Refrigerator

Product Information
The CRUISE refrigerator is a product manufactured by INDELB. It is designed for use in vehicles and comes in different models with varying sizes and capacities. The refrigerator operates on DC power and uses R134a refrigerant gas.
Technical Specifications
| Model | External Dimensions (HxLxW) | Net Weight | Power Voltage | Rated Power | Refrigerant Gas and Charge |
|---|---|---|---|---|---|
| CR 42 | 530x380x355 mm | 15.8 Kg | DC 12/24 V | 42 W | R134a 0.045 Kg (CO2 eq. 0.064 t) |
| CR 49 | 530x380x495 mm | 16.6 Kg | DC 12/24 V | 42 W | R134a 0.045 Kg (CO2 eq. 0.064 t) |
| CR 65 | 530x450x515 mm | 18.2 Kg | DC 12/24 V | 42 W | R134a 0.045 Kg (CO2 eq. 0.064 t) |
| CR 85 | 635x475x545 mm | 20.8 Kg | DC 12/24 V | 42 W | R134a 0.060 Kg (CO2 eq. 0.086 t) |
| CR 100 | 745x485x495 mm | 23.5 Kg | DC 12/24 V | 42 W | R134a 0.053 Kg (CO2 eq. 0.076 t) |
| CR 130 | 755x525x550 mm | 25.2 Kg | DC 12/24 V | 42 W | R134a 0.060 Kg (CO2 eq. 0.086 t) |
Product Usage Instructions
Safety Precautions
- Read the instructions and safety section carefully before using the refrigerator.
- Do not damage the refrigerant circuit.
- Do not use electrical devices inside the storage compartments unless they are specifically designed for the refrigerator.
- Avoid touching the compressor or condenser as they can cause burns.
Installation
The refrigerator can be easily fixed in place using the provided EASY FIX system.
Electrical System: Functions and Features
The refrigerator operates on DC power and requires a battery connection. The table below shows the cut-out and cut-in voltages for the battery protection system:
| Power Supply | Cut Out Voltage | Cut In Voltage |
|---|---|---|
| 12 V | 9.5 V | 11 V |
| 24 V | 21 V | 23 V |
Make sure to follow the electrical connection instructions and use appropriate connectors and cable sizes. Protect the power line with a 15 A fuse.
Replacing the Door Panel
To replace the door panel:
- Refer to FIG. 4 for panel removal.
- Remove the two fixing screws of the handle (FIG. 6) and remove the handle.
- Remove the panel (FIG. 7).
- Insert the new panel by sliding it into place.
- Reattach the fixing strip.
- Tighten the two fixing screws of the handle.
Reversing the Door Opening Direction
In models CR 42-49-65-85-100-130, the door normally opens to the right. To change the door opening direction:
- Remove the two fixing screws of the handle (FIG. 6) and remove the handle.
- Remove the two lower hinges and the upper pin (FIG. 05).
- Invert the position of the two lower hinges and the upper pin.
- Screw the handle on the opposite side.
CRUISE
Please read these instructions and the Safety section carefully before using your refrigerator.
WARNINGS
- Do not install the refrigerator near heat sources.
- Keep ventilation openings, in the appliance enclosure or in the built-in structure, clear of obstruction.
- Do not use mechanical devices or other means to accelerate the defrosting process, other than those recommended by the manufacturer.
- Do not damage the refrigerant circuit.
- Do not use electrical appliances inside the food storage compartments of the appliance, unless they are of the type recommended by the manufacturer.
- Do not store explosive substances such as aerosol cans with a flammable propellant in this appliance.
- Risk of fire and electrical shock or fire.
- Do not let hot items to touch the plastic parts of the appliance.
- Do not store flammable gas and liquid in the appliance.
- Do not put flammable products or items that are wet with flammable products in, near or on the appliance.
- Do not touch the compressor or the condenser. They are hot.
ATTENTION!
- The cooler is suitable for cooling and freezing foods.
- Use the fridge exclusively for cooling and storing closed beverages and snacks.
- Do not store any perishable food in the fridge.
- Food may only be stored in its original packaging or in suitable containers.
- The fridge is not intended to be brought into contact with food.
- The fridge is not intended for the proper storage of medicines. See the instructions in the package leaflet for the medicinal product.
GENERAL INFORMATION
The IndelB OFF refrigerators guarantee performance and reliability. The 12 and 24 V power supply makes them especially versatile. The power source can either be a battery, a transformer or a photo-voltaic panel.
Provided with a totally watertight compressor, they offer a minimal power consumption and noise level. All the models are extremely easy to install. They can work even if they are assembled at a slant of up to 30°. In order to make sure that your IndelB OFF refrigerator works as efficiently as possible, please pay attention to the following general instructions:
- Opening the door of the refrigerator uselessly increases the waste of energy;
- Proper ventilation of the compressor and of the condenser unit reduces the energy consumption and also ensures the yield;
- The wiring system of the vehicle is in proper condition. Routinely check the batteries and the charge level. Follow the instructions about the cable cross sections and the fuse connections strictly;
- Keep the inside of the refrigerator clean and dry. Remove any condensate water which might gather in the tray under the freezer compartment;
- Keep the door of the refrigerator slightly open in order to air it out if you do not use it for a long time, for example in winter.
| TECHNICAL FEATURES | ||||||
| MODEL | External dimensions (HxWxD) | NET WEIGHT | PRODUCT CLASS | VOLTAGE | NOMINAL POWER | REFRIGERANT GAS AND CHARGE |
| CR 42 | 530x380x355 | 15,8 Kg | 42 L | DC 12/24 V | 42 W | R134a 0,045 Kg (CO2 eq. 0,064 t) |
| CR 49 | 530x380x495 | 16,6 Kg | 49 L | DC 12/24 V | 42 W | R134a 0,045 Kg (CO2 eq. 0,064 t) |
| CR 65 | 530x450x515 | 18,2 Kg | 65 L | DC 12/24 V | 42 W | R134a 0,045 Kg (CO2 eq. 0,064 t) |
| CR 85 | 635x475x545 | 20,8 Kg | 85 L | DC 12/24 V | 42 W | R134a 0,060 Kg (CO2 eq. 0,086t) |
| CR 100 | 745x485x495 | 23,5 Kg | 100 L | DC 12/24 V | 42 W | R134a 0,053 Kg (CO2 eq. 0,076t) |
| CR 130 | 755x525x550 | 25,2 Kg | 130 L | DC 12/24 V | 42 W | R134a 0,060 Kg (CO2 eq. 0,086t) |
This appliance contains fluorinated greenhouse gas R134a within an hermetically sealed system and its operations depends on the presence of this gas.
ASSEMBLY
The refrigerators of the Cruise range are pre-set for being assembled in a niche.
Fastening can be done on the front plate band.
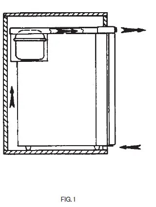
It is very important for the refrigerating unit, consisting of the compressor and the condenser, to be well ventilated, with the cool air coming in from the bottom and going out from the top. You must ensure proper ventilation of the refrigerating unit. The air inlets and outlets must have a free cross section of at least 200 cm2. (see ventilation diagrams in FIG. 1-2).
The model CR.40 – CR.42 – refrigerators are provided with a refrigerating unit which can be separated from the set and placed at a distance in order to make the best use of the available space (about 200 cm).


Take great care when handling the connection tube in order to prevent breakages (FIG. 3). The compressor must normally stand in a vertical position, but it will work equally well slanted by up to 30°.

EASY FIX FIXING
Cruise models 42-49-65-85-130 can be fixed to the lodgings by means of the Easy Fix system.
This system involves four special pre-drilled points inside a trunk, for easy and effective installation that is not visible from the outside (FIG. 8). With Easy Fix, you can install Cruise units with the door flush to the furniture without using a special mounting flange. For this installation, you must leave 10 mm of space between the refrigerator and the furniture unit at least for the entire thickness of the door, thus ensuring its free movement.

WIRING SYSTEM: FUNCTIONS AND FEATURES
The Station of the compressor is a piece of electronic equipment which pilots the motor of the compressor and carried out all the controls and electrical protection of the system. Its main features are the following:
- Protection of the battery with automatic turning off of the compressor when the feeding voltage reaches the minimum threshold (cut out)
The compressor will start up automatically again when the voltage goes back to normal values (cut in).
TABLE FOR BATTERY SAVER INTERVENTION VOLTAGES
| FEEDING | CUT OUT | CUT IN |
| 12 V | 9,5 V | 11 V |
| 24 V | 21 V | 23 V |
WIRING CONNECTIONS
When you connect the refrigerator, you must remember the following:
- Use cables having the proper cross section (see the table) to make the feeding lines. If possible, such cables should be without any joints on the leads which could lead to voltage falls.
- If the wiring system of the vehicle is insufficient or not properly sized for the refrigerator, we suggest you connect it directly to the battery.
Note
The use of cables having an insufficient cross section may lead to the compressor stopping even when the battery is charged.
| CROSS SECTION CABLES MM2 | MAXIMUM LENGTH OF CABLES IN METRES | |
| 12 V | 24 V | |
| 2.5 | 2.5 5 | |
| 4 | 4 | 8 |
| 6 | 6 | 12 |
| 10 | 10 | 20 |
- Any switches must have a breaking load not less than 20 A (10 A if powered at 24 Volt).
- Make sure the polarity is right: connect the red cable to the positive terminal (+) and the black cable to the negative terminal (-).
Never connect bare electric wires, and use only connectors of a size suitable to the cross section of the cable being used.
- Protect the feeding line with a 15 A fuse.
REPLACING THE DOOR PANEL
In the Cruise 42-49-65-85-100-130 models, the door panel can be replaced without having to remove the door from the fridge, as described below:
- remove the panel anchor profile, located in the lower part of the door, by levering it with a slotted screwdriver as shown in FIG. 4;

- remove the two fixing screws from the handle (FIG. 6) and remove the handle;

- remove the panel (FIG. 7);

- slide the new panel into place;
- reposition the fixing strip; refit the handle and tighten the two fixing screws.
REVERSING THE OPENING DIRECTION OF THE DOOR
In the Cruise 42-49-65-85-100-130 models, the door normally opens to the right. To change the door opening side:
- remove the two fixing screws from the handle (FIG. 6) and remove the handle;

- remove the two lower hinges and the upper pin (FIG.5);

- reverse the position of the two lower hinges and the upper pin;
- screw in the handle on the opposite side.
Caution! The door panel may be left with screw holes where the handle was previously positioned.
SETTING THE INSIDE TEMPERATURE
The refrigerators are provided with a manual thermostat. Turn it clockwise to lower the temperature, and turn it counterclockwise to raise the temperature and activate the ON-OFF switch in its end position. In the 42, 49, 65, 85 and 130 litre refrigerators, the knob of the thermostat is located inside the refrigerator. In the 100 litre refrigerators, the knob is located outside the refrigerator, on the top ventilation grid, above the door.
FILLING
Do not put hot food into the refrigerator. Place the products in a position where they do not hit each other or break while the vehicle is moving.
Make sure the door is always well closed, and reduce opening time to a minimum.
DEFROSTING
Defrosting must be carried out when the ice layer is thicker than 4 mm.
Set the thermostat at the OFF position. While defrosting, keep food and beverages in a cool place. Do not use any sharp metal object to remove the ice or frost. Do not start the refrigerator up again until it is completely defrosted and dry. Also empty the tray under the freezer compartment.
MAINTENANCE
The IndelB OFF refrigerators have a completely watertight cooling system, and do not need any maintenance or reloading of the coolant. The compressor is of a domestic type, is highly efficient and has an extraordinarily long life.
Maintenance merely consists in routinely cleaning the condenser from dust, at least once a year. Use a soft brush and no hard object.
- Regularly clean the inside and outside of the refrigerator using only warm water and a neutral detergent.
- Subsequent to washing, rinse with clean water and dry thoroughly using a soft cloth.
- Do not use the following: special glass and mirror cleaning products, liquid, powder, or spray detergents, alcohol, ammonia or abrasive products.
- If you are not using the minibar, we suggest cleaning it well inside and leaving the door ajar to ventilate the interior.
USEFUL ADVICE
If it does not work, or works wrongly before referring to our after sales service, make sure that:
- power is not missing.
- the voltage which reaches the station is equal to the one shown on the plate.
- the connections are wrongly made.
- the flapped condenser is not jammed.
- the refrigerating unit is not near a source of heat.
- the fuse mounted on the feeding line is not blown.
ONLY FOR SALES WITHIN THE EUROPEAN COMMUNITY (EU)
This appliance is marked according to the European Directive 2012/19 / EU (WEEE). The symbol on the product indicates that this product should not be treated as household waste.
Ensure that this product is not entered as part of the flows of municipal waste but treated as professional WEEE.
Indel B S.p.a.
Via Sarsinate, 27
47866 – Sant’Agata Feltria (RN), Italia
T. 0541 848 711 – F. 0541 848 741
[email protected]
For sales and service in USA:
Indel B North America
100 Triport Circle
Georgetown, KY 40324
Ph 502.863.0373
[email protected]





















