permobil Tilite Aero Z Tube Rigid Wheelchair Instruction Manual

How to order
Catalog
- Identify CMDs you wish to order and fill out. Please confirm compatibility with the chair you’re ordering.
- Fill out the catalog page corresponding to that CMD with the required information for us to complete your request.
• EZ-Ti ID, PO#, or Quote# if available.
• Measurements, selections, and special instructions if necessary. - Email the filled out page(s) to [email protected] and include Order Form if applicable
Order Forms
- Identify CMDs you wish to order and fill out. Please confirm compatibility with the chair you’re ordering.
- In the “Notes” section on the last page of the order form, include the following information:
• CMD number(s) being requested.
• Measurements, selections, and special instructions if necessary. - Submit Order Form via email ([email protected]) or fax (509) 586-2413.
EZ-Ti
- Identify CMDs you wish to order and fill out. Please confirm compatibility with the chair you’re ordering.
- In the “CMD” section on the Summary page of EZ-Ti, include the following information:
• CMD number(s) being requested.
• Measurements, selections, and special instructions if necessary. - Submit quote request via EZ-Ti. Please note, custom requests may impact quote turnaround time and chair build time. Pricing for these custom options may vary based on the amount of added labor and material costs
All-terrain TiLite TR CMD #3
Clinical rationale
Modification indicated for safe and independent access to rural environment. All-terrain TR frame required to provide safe and consistent access to environment; typical TR set up would decrease access and independence. Available on: TiLite TR
Notes:
- Use current TR order form and if desired, the TiFit Worksheet to denote specific frame dimensions.
- A signed CAD is required.
- Front angles greater than 90° are possible. May incur further charge. May not work with all chair configurations.
- Color ano packages are not available on this adaptation.
- Defaults (unless otherwise noted):
Forward mounted 8” x 2” caster wheels. Rear tires will be 507, 540 or 559 knobby rear tires
Required information
(Insert required information for CMD-E to complete this request)
Wheelbase desired:_________
Caster-stem width desired
Unique under seat tube depth CMD #5
Clinical rationale
Modification indicated for individuals who present with need to attach specific bags or medical supply carriers. This modification may also be indicated to assist with transferring chair into the car.
Available on:
TiLite TR, TiLite TRA, TiLite Aero T, TiLite ZR, TiLite ZRA, TiLite Aero Z
Notes:
- Seat pan required for cross tubes with depths of 1” or less.
- May not work with all chair configurations.
Required information
(Insert required information for CMD-E to complete this request)
Depth: _____________
60° Hanger front angle CMD #6
Clinical rationale
Modification indicated for clients who present with lower extremity positioning and limited range of motion that cannot be accommodated with available front angle options offered on the order form.
Available on:
TiLite Aero X, TiLite 2GX
Notes:
- This option is only available on Swing-away front / Nonheavy duty folding chairs.
- Tapered hangers are not available.
- May not work with all configurations.
1/2” Increment seat depth (Rigid Models) CMD #10
Clinical rationale
Modification for individuals who require a precise seat length measurement to accommodate upper leg length and lower extremity positioning.
Available on:
TiLite TR, TiLite TRA, TiLite ZR, TiLite ZRA, TiLite Aero T, TiLite Aero Z
Notes:
- Only available on rigid frames.
- Max seat depth is 21.5”.
- May not work with all chair configurations.
Notes:
- Only available on rigid frames.
- Max seat depth is 21.5”.
- May not work with all chair configurations.

1/2” Increment seat width (Rigid Models) CMD #11
Clinical rationale
Modification for individuals who require a precise seat width measurement to accommodate pelvic width, posture and positioning.
Available on:
TiLite TR, TiLite TRA, TiLite Aero T, TiLite ZR, TiLite ZRA,
TiLite Aero Z
Notes:
- Only available for rigid frames.
- Seat width of 14.5” or greater.
- 21.5” max seat width under this CMD.
- Seat widths greater than 20” must have two cross tubes.
- May not work with all chair configurations.
Required information
(Insert required information for CMD-E to complete this request)
Round this seat width to the nearest 1/2” increment.
Seat width: __________
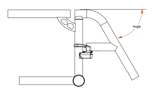
Adapted front angle CMD #14
Clinical rationale
This modification is indicated for clients who require a specific front angle to ensure proper lower extremity positioning and balance of the wheelchair.
Available on:
TiLite TR, TiLite TRA, TiLite ZR, TiLite ZRA, TiLite Aero T,
TiLite Aero Z, TiLite TX
Notes:
- Angles close to or more than 90° may cause interference with some caster options.
- TiLite CMD-E group will need to confirm caster-swivel clearance.
- None of these chair models can have a front angle that exceeds 120° to the seat tube.
- May not work with all chair configurations. For Z-chairs:
- Angles more than 90° or less than 60° is considered a CMD 014. For T-series (including the TX1):
- Angles more than 90° are not possible. Less than 60° will be considered CMD 14.
Required information
(Insert required information for CMD-E to complete this request)
Please round the angle request to nearest whole degree.
Angle to floor: _______________
Rigid 2GX CMD #37
Clinical rationale
This modification is indicated for individuals who require the rigidity of a rigid frame but also require swing-away leg rests.
Available on:
TiLite 2GX
Notes:
- Only available with swing-away front.
- No Tie-downs are approved for this chair.
- There is not a hemi-height version of this wheelcha
Frame depths: negative, extra long and 1/4” adapted CMD #54
Clinical rationale
Modification indicated for individuals who require a unique and specific frame depth to accommodate for lower extremity ositioning and to ensure proper wheelchair balance.
Available on:
TiLite TR, TiLite TRA, TiLite Aero T, TiLite ZR, TiLite ZRA, TiLite Aero Z
\
Notes:
- Negative frame lengths may require tension adjustable by strap upholstery OR the seat rails may be made from steel. OR a seat pan may be used.
- All negative Frame Depths.
- All 0.25“ frame requests.
- All frame lengths 3“ or more than the seat depth.
- Maximum frame length = 23”.
Required information
(Insert required information for CMD-E to complete this request)
Modified frame-depth in relation to the seat-sling depth (please indicate if + or -) : _________________
Adapted frame with depth and/or width at 21-22” CMD #56
Clinical rationale
Modification indicated for individuals whose anatomical length and/or width measurements are greater than 20 inches requiring a longer and/or wider wheelchair frame to accommodate the individuals’ shape and size.
Available on:
TiLite TR, TiLite TRA, TiLite ZR, TiLite ZRA, TiLite Aero T, TiLite Aero Z
Notes:
- Only available on Rigid Frames.
- May not work on all configurations.
- This does not increase the weight limit from the standard HD model chairs.
- 21” and 22” rigid chairs require a second under seat tube for rigidity.
- Rounded rigidizer bars are not availible on the Ti backrests of these chairs.
- If ordered as a parts order, ensure the footrest and backrest will fit the new, wider frame

Unique ergo-seat configurations CMD #62
Clinical rationale
Modification indicated when clients anthropomorphic measurements require custom accommodation.
Available on:
TiLite TRA, TiLite TR, TiLite Aero T, TiLite ZR, TiLite ZRA, TiLite Aero Z
Notes:
- This applies if:
- The ergo depth is outside the selectable range. AND/OR
- If the ergo is also ordered with a tapered seat or V-front option.
Full sized wheelchair drawing CMD #65
Clinical rationale
Indicated for ability to accurately assess accessibility, compatibility, and user configuration requirements at scale.
Available on:
TiLite TR, TiLite TRA, TiLite ZR, TiLite ZRA, TiLite Aero T, TiLite Aero Z, TiLite TX
Notes:
- Limited to TiFit Wheelchairs only.
Front frame rigidizer bar CMD #70
Clinical rationale
Modification indicated to enhance frame rigidity and help maintain frame alignment especially when utilizing two piece footplates or no footrests.
Available on:
TiLite TR, TiLite TRA, TiLite ZR, TiLite ZRA, TiLite Aero T, TiLite Aero Z
Notes:
- Only available for Rigid frames.
- Dimensions vary for T-series frames versus Z-series frames.
- May not work with all chair configurations.
Required information
(Insert required information for CMD-E to complete this request)
One-arm drive, rigid chairs only CMD #77
Clinical rationale
Modification indicated for users with one upper limb available for propulsion efforts. This handrim allows all steering operations to be performed using a double handrim on one side of the wheelchair.
Available on:
TiLite TRA, TiLite ZRA, TiLite Aero Z, TiLite Aero T, TiLite TWIST
Notes:
- Crutch Holders are not available with this adaptation.
- SMARTDRIVE IS NOT COMPATIBLE WITH THIS CMD
UNLESS MODIFICATIONS ARE MADE. - May not work on all configurations.
- Minimum seat width of 12”.
- CE to ensure the chair, whether a new build or parts order, will lend itself to this adaptation.
- 0° camber only.
- The rear wheels will be mag with solid tread inserts.
- Denote which side will be the drive wheel side (the side the one arm will be pushing the handrims).
- Short tabs are NOT an option with this adaptation.
Required information
(Insert required information for CMD-E to complete this request)
Select the drive side for this option:
❑ Right-hand Side
❑ Left-hand Side
TX Series 1CMD #81
Clinical rationale
Modification indicated for individuals who require the legacy TX folding chair with fixed front end. This chair maintains custom configurability through TiFit.
Available on:
TiLite TX1
Notes:
- Signed CAD drawing required.
- Swing-away armrests and user-friendly anti-tips cannot go on the same chair.
- This is an updated version so if duplicating an existing TX1, the side frame profile will be different at the backrest.
- THE MINIMUM SEAT DEPTH FOR THIS CHAIR WILL BE 12”. • May not work on all configurations.
Sports wheelchair CMD #90
Clinical rationale
Rigid frame wheelchair designed specific to sport regulation requirements, designed to maximize participation and safety during sport event.
Available on:
TiLite TR variant
Notes:
- Case by case basis.
- See CMD Manager if requested.
































