BIG WHEELED
FOLDING SCOOTER
VERGE PRO
Included:
– Allen Key H
VERGE PRO Big Wheeled Folding Scooter
UNFOLDING / FOLDING THE SCOOTER
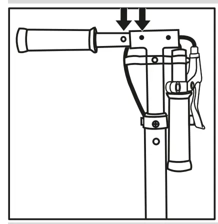
![]() | TO UNFOLD Open the clamp ‘A’, pull on the plastic lever ‘B’, and pull the handlebar ‘C’ to the upright position until it clicks into place. |
![]() | Release lever ‘B’, and close clamp ‘A’. Hand tighten the bolt ‘C’ on the opposite side of lamp ‘A’ so the clamp holds fast. TO FOLD UP ) Reverse the process. |
ADJUSTING THE HEIGHT
![]() | To adjust the height of the handlebar pull open the clamp, push the spring button in, and move the handle to he desired height. Once the spring button clicks into the slot then close the clamp. |
![]() | The degree of tension of the quick-release lever can be adjusted by tightening or loosening the screwBe careful not to over-tighten, so thayou can always open and close the clamp by hand. When you release thquick-release lever, the handlebar should move freely (after pressing th ” Spfln bull0n). |
ASSEMBLING THE HANDLEBAR GRIPS
![]() | TO ASSEMBLE While pressing in the spring button, insert the handles into position. Ensure the button engages in the hole. TO DISMANTLE Press in the spring button, and pull the handles from the frame. Clip the handles into the holder. |
![]() | PLEASE NOTE lake sure that the spring buttons on both handles click into the holes on the handlebar before riding off. |
TO UNFOLD / FOLD THE KICKSTAND
![]() | TO UNFOLD THE KICKSTAND Stop and dismount the scooter. Kick out the stand from under the scooter. |
![]() | TO FOLD AWAY THE KICKSTAND Fold the kickstand back up under twd the footplate before you climb on and ride away. |
TO USE Ensure the rider understands how to ride the scooter.
- Grip the handlebar with your hands, place one foot on the deck and the other foot on the ground.
- Pay attention to your surroundings and make sure that your riding area is clear.
- Kick backwards with your foot beside the scooter to give you motion.
- Repeat this kicking action in order to stay in motion.
- To stop or slow down, place your kicking foot on the brake pedal above the rear wheel or put your kicking foot on the ground.
- Do not over-steer as this could cause you to fall from the scooter.
IMPORTANT SAFETY INFORMATION
Ensure the rider understands the safety information.
- Always wear protective equipment such as helmet, gloves, elbow and knee pads. Also long sleeved shirts and long trousers help protect skin
- Always wear fully enclosed shoes with the laces tightened securely and tucked into your shoes.
- All bolts, wheels and handlebars should be checked and tightened before and after every use.
- This scooter should only be ridden on dry, flat, level ground. Do not use the scooter on uneven, wet ground, on rocks or gravel. Do not use at dusk or night.
- Wet weather reduces traction, braking and visibility.
- Excessive use of the brake will cause heat to generate which can damage the wheel and can cause brake failure. Allow brake and wheels to cool if used continuously. Do not touch brake if hot as it may cause harm.
- All children and preteens should ride with adult supervision at all times. The supervisor should check all fasteners, wheels and handlebars and tighten before and after every use. In addition the supervisor should ensure the rider is wearing all appropriate safety equipment.
- All local traffic and scooter riding laws and regulations must be followed at all times. Stay away from roads and highways, cars and pedestrians and respect other pavement users.
- Adult supervision is required during the initial assembly and maintenance procedures due to the risk of finger entrapment. Keep fingers away from moving parts, injury may occur.
MAINTENANCE
(by an adult)
- Please rotate the bearings and wheels to check if they are rolling smoothly.
- It is suggested to disassemble, clean, and add lubricant every 6 months paying extra attention to the moving parts, clearing them of grit and dirt so they move freely. Please make sure the parts specifications are correct with the dealers if some parts need to be replaced.
- Do not leave this product in high temperature, intense sunlight or dusty areas. Store in a dry place.
- Do not make any modifications to this product. Any modifications made to this scooter will make your consumer rights null and void.
- Self-locking nuts and other self-locking fixings may lose their effectiveness over time. If any of these components are no longer functioning how they should, it is strongly recommended that you discontinue use of the product and seek replacement parts from the dealer or importer of this product.
- Wipe with a damp cloth to remove dirt and dust. Do not use industrial cleaners as they may damage the surfaces. Do not use alcohol, alcohol-based or ammonia-based cleaners as they may damage or dissolve some components or soften the decals or the grip surface adhesive.
- The wheels and wheel bearings can become worn after regular use and can be replaced easily. Remove the axle bolts with two Allen keys and slide the wheel off its fork. Replace with the new item, screw in the bolt through the aligned fork and wheel then tighten with an Allen key on either side and tighten securely.

Using a 5mm Allen key, regularly make sure that the ring clamp at the base of the handlebar is securely tightened, should it become loose through general use.
WARNING
- Protective equipment should be worn. Not to be used in traffic. 100kg max.
- The scooter should be used with caution, since it requires great skill, so as to avoid falls or collisions causing injury to the user and the third parties.
- Do not take this scooter on the road or public highway.
- Please ensure that all locking devices are engaged.
Keep the instruction since it contains important information.
WARRANTY
Zinc Sports IM non-electric scooter warranty
Thank you for purchasing a Zinc Scooter and we hope that you enjoy using it. Please ensure that you read the following warranty.
In order for your warranty to be valid you must satisfy the following conditions.
- All products must be registered at www.zincsports.com within 30 days of receiving the product for the warranty to be valid.
- Proof of purchase is also required for your warranty to be valid.
- You must be the original purchaser who bought the product from an authorised dealer, your warranty cannot be transferred.
- You must report any defects to Zinc Sports within 30 days of discovery of said defect else the warranty will not be valid.
Failure to follow the conditions highlighted above means that your warranty will be void. We recommend that you save your original sales receipt.
The warranty lasts 1 year from the date of purchase.
The warranty covers any manufacturing defects in materials or workmanship when used under normal use conditions and in compliance with the stipulations in the instruction manual and warranty guidelines.
The warranty does not cover wear, and tear or parts deemed to be wearing parts such as but not limited to bearings, brakes, wheels, grip tape or folding mechanisms.
The warranty does not cover cosmetic parts, or parts deemed as cosmetic parts such as but not limited to paint, stickers and labels. The warranty does not cover loss of parts. Spare parts may be available for purchase from Zinc Sports if you are not covered by the warranty.
Under no circumstance will Zinc Sports be obliged to provide compensation for bodily injuries, death, property damages, losses, hindrance of profits, prevention of use or any other damage that will be caused directly or indirectly as a result of usage of this device. Zinc Sports advise that you contact your insurance company to determine whether coverage is provided for the use of this scooter, or to take out a new policy.
For the full warranty policy please visit our website at www.zincsports.com
PRODUCT CODE: ZC08235, ZC08236, ZC08290 VERGE PRO BIG WHEELED FOLDING SCOOTER
CUSTOMER HELPLINE
Hy-Pro advise you to contact us directly and not to return this item to the place of purchase. Hy-Pro has taken great care to ensure this item has reached you in good condition, should you have a query please ring our helpline +44 (0) 800 731 0006 where your call will be dealt with promptly.
Alternatively please contact us on email: [email protected]![]()
COMPLIES WITH BS EN14619:2019 / EN14619:2019.
MAXIMUM WEIGHT: 100 KG FOR CLASS A.
Hy-Pro International: Hy-Pro House,
Centrus Park, Arenson Way, Dunstable,
Bedfordshire LU5 5BN. UK.
Hy-Pro Asia
Room 1011, 10/F, Peninsula Centre,
67 Mody Road, Kowloon, Hong Kong.
Hy-Pro Europe
Cube Building, Monahan Road,
Cork, T12H1XY, Republic Of Ireland.
Customer Care Line
Tel: +44 (0) 800 731 0006
wwww.hy-pro.co.uk wwww.zincsports.com



























