ZINC Venture Folding Electric Seated Scooter Owner’s Manual
PRODUCT OVERVIEW
Accessories included in the packaging box.


- Right handle grip
- Throttle
- Right brake lever
- Front reflector
- Display
- Left brake lever
- Left handle grip
- Stem
- Stem folder
- Headlight
- Front fork
- Tyres
- Wheel hub
- Discs
- Disc brakes
- Frame
- Battery box
- Foot pegs
- Kickstand
- Rear fender
- Seat tube
- Seat post
- Rear reflector
- Seat
- Warning Bell
Note: Some details of your bike may differ slightly from the diagram due to our product upgrading, which will not affect the usage.
SAFETY WARNINGS – READ BEFORE USE
| Weight Restrictions | Speed Limits |
| Maximum Weight: 120 kg | Maximum Speed: 15.5mph / 25kph |
WARNING:
NOT FOR RIDERS UNDER THE AGE OF 14. DO NOT EXCEED THE WEIGHT LIMIT OF 120KG.
This includes backpacks and other items that might be carried.
Exceeding the weight limit could injure the rider and damage the Zinc Folding Electric Seated Scooter.
Be sure to regularly inspect and service the Electric Seated Scooter and make sure all components are in good condition.
After unpacking this product and before you first ride it, remember to charge it for at least 4 hours.
Do not overcharge it, otherwise the service life of the battery and the charger may be shortened.
For your safety, please read the safety warnings carefully, and make sure you understand and accept all the safety instructions.
The user will be responsible for any loss or damage caused by improper use.
WARNING:
- Please wear all appropriate safety and protective gear such as helmet, knee, elbow pads and protective gloves, before operating the Electric Seated Scooter.
- Wear comfortable clothes and flat, closed toe shoes when operating your Electric Seated Scooter.
Keep laces tied. - Do not ride your Electric Seated Scooter near motor vehicles or on public roads.
It’s the user’s responsibility to ensure that their Electric Seated Scooter is used in accordance with all local and country laws. - Do not operate the Electric Seated Scooter while under the influence of drugs and/or alcohol.
- Do not operate the Electric Seated Scooter when you are restless or sleepy.
- Do not turn sharply, especially at high speeds.
- Do not drive in or near puddles of water, mud, sand, stones, gravel, debris or near rough and rugged terrain.
- The Electric Seated Scooter can be used on paved roads that are flat and even.
If you encounter uneven pavement, please lift your Electric Seated Scooter over and past the obstruction. - Do not ride in inclement weather: snow, rain, hail, sleek, on icy roads or in extreme heat.
- Do not operate the Electric Seated Scooter while talking, texting, or looking at your phone.
- The Electric Seated Scooter is intended for use by one person, DO NOT attempt to operate the
Electric Seated Scooter with two or more people. - Do not carry anything in your arms or attach any load to the handlebar while riding the Electric Seated Scooter.
It will affect the stability of the scooter. - At higher speeds, always take into consideration your stopping distance is increased.
- Do not ride the scooter in dark or poorly lit areas.
- Do not operate your scooter off-road.
- Applying brakes too hard or too suddenly can lock up a wheel, which could cause you to lose control and fall.
Sudden or excessive application of the brake may result in injury or death. - As with any mechanical component, a vehicle is subject to high stresses and wear.
The various materials and components may react differently to wear or fatigue.
If the expected service life for a component has been exceeded, it may break suddenly, therefore risking causing injuries to the user.
Cracks, scratches and discoloration in the areas subject to high stresses indicate that the component has exceeded its service life and should be replaced. - Traffic in the city has many obstacles to cross such as curbs or steps.
It is recommended to avoid obstacle jumps.
It is important to anticipate and adapt your trajectory and speed to those of a pedestrian before crossing these obstacles.
It is also recommended to get out of the vehicle when these obstacles become dangerous due to their shape, height or slippage. - Keep plastic covering away from children to avoid suffocation.
- Do not ride indoors or on surfaces that could become damaged such as carpet or glossy flooring.
- Check all the fasteners and bolts are securely tightened before each use.
- Riding the scooter is not advisable for persons with heart disease, pregnant women, people with illness, disabilities or who have recently had an operation.
There is always a risk of injury and riders should carefully assess their own health and physical condition.
If they are in any doubt as to their fitness to ride the Electric Seated Scooter, they should consult with their GP beforehand. - Do NOT ride the Electric Seated Scooter in wet or icy weather and never immerse the scooter in water, as the electrical and drive components could be damaged by water or create other possibly unsafe conditions.
- Do not make any modifications that are not noted in the manufacturer’s instructions.
- Do not use any accessories and additional items which are not approved by the manufacturer.
- Make sure the steering system is correctly adjusted, all connection elements are tightened and not broken, and the brakes and wheels are in good condition.
WARNING:
Failure to follow the Safety Precautions listed as below could lead to serious bodily injury and death.
Seek immediate medical attention if you are exposed to any substance that is emitted from the battery.
- Do not disassemble or modify the battery.
The battery contains safety and protection devices, which, if damaged, may cause the battery to generate heat, explode or ignite. - Do not use your Electric Seated Scooter if the battery begins to emit odor, overheats, smokes, changes colour/shape, or appears abnormal in any other way.
- Do not touch any leaking materials, or breathe fumes emitted.
- Do not allow children and animals to touch the battery.
- The battery contains dangerous substances, do not open the battery, or insert anything into the battery.
- Do not connect the positive terminal and negative terminal of the battery to each other with any metal object (such as wire).
- Do not attempt to charge the Electric Seated Scooter if the battery has discharged or emitted any substances.
In that case, the battery should be abandoned for safety. - Please follow all local, state and federal laws in regards to recycling, handling and disposing of Lithium batteries.
- Do not carry or store battery together with necklaces, hairpins or other metal objects.
Do not pierce the battery with nails, strike the battery with a hammer, step on the battery or otherwise subject it to strong impacts or shocks.
Do not expose battery to water, or allow the battery to get wet. - Do not place the battery in an environment where the ambient temperature is higher than 45°C or lower than 0°C (e.g. do not leave the scooter or the battery pack in a car under direct sunlight for an extended time).
Do not throw the battery pack into fire as it may lead to battery failure, battery overheating, and even another fire.
If the Electric Seated Scooter is expected to be left idle for more than 30 days, please fully charge the battery and place it in a dry and cool place.
Keep in mind to recharge it every 30 days to protect the battery from potential damage which is beyond limited warranty.
HARDWARE MAINTENANCE
Your Electric Seated Scooter requires routine inspection and maintenance, it is a factor of safety.
This chapter describes maintenance steps and important operating tips.
Before you perform the following operations, ensure the power and charging cables are disconnected.
INSPECTING AND CLEANING YOUR ELECTRIC SEATED SCOOTER
- Routinely check the body of the Electric Seated Scooter and tyres for damage or excessive wear.
- the self-tightening nuts as well as the other self-tightening fastenings may lose their efficiency and that they may need to be retightened (Average value is 20N·m).
- Wet a clean cloth with clean water, rinse the cloth thoroughly, and wipe the body of the scooter making sure that water does not get into the power button, charging port or tires.
If water or other liquids enter the scooter, it will cause permanent damage to the internal components.
BRAKE
Check the brakes function properly.
Do not inject oil onto the actual brakes.
- When you press the right brake lever, the power of motor wheel should be cut and the front wheel should stop working.
- When you press the left brake lever, the power of motor wheel should be cut and the motor wheel (rear wheel) will stop working.
FRAME. FORK AND STEERING SYSTEM
Check the frame, fork and steering system for cracks or loose connections.
Check all connection elements (such as a folding system) are correctly tightened and not broken.
It is necessary and important to check the tightening of the various bolted elements regularly.
WHEELS AND TYRES
Wear and tear is unavoidable in the wheels and the driving system in the course of operation.
Both wheels are inflatable, the maximum tyre pressure is 3.1 bar (45psi).
The user must regularly check the wheels and the driving system for wearing and make adjustments or replacements when necessary.
Please make sure the wheels are able to rotate freely, without getting stuck/stopping when the brake is not applied.
It is suggested to add lubricant (30SAE lubricating oil is recommended) to the moving parts every 6 months.
BATTERY
Always switch off the power when the Electric Seated Scooter is not in use.
Never store the Electric Seated Scooter at a low temperature, it may damage or degrade the battery permanently.
CHARGER
The charger supplied with the Electric Seated Scooter should be regularly examined for damage to the cord, plug, enclosure and other parts.
In the event of such damage the scooter must not be charged until the charger has been repaired or replaced.
STORING THE SCOOTER
- Fully charge your battery before storing.
- If you are storing your Electric Seated Scooter for an extended period of time, please fully charge it at least once every month.
- If the ambient temperature of the storage location is below 0°C, please do not charge.
You must bring the scooter into a warmer environment before charging. - Check under Battery Specifications for more details.
- Store your Electric Seated Scooter indoors, in a dry and suitable temperature.
When the Electric Seated Scooter is not in use ensure it is not laid down or knocked over.
If dropped, essential components can be damaged and could affect the use and running of the scooter, as well as void the warranty.
If you damage this part of the Electric Seated Scooter it is strongly advised that you replace the damaged parts as soon as possible to avoid any accident caused by making contact with them.
WARNING: FAILURE TO FOLLOW THESE INSTRUCTIONS MAY DAMAGE YOUR PRODUCT AND VOID WARRANTY.
SPARE PARTS
WARNING: ONLY USE GENUINE ZINC REPLACEMENT PARTS.
The scooter has been built to certain Zinc design specifications.
The original equipment supplied at the time of sale was selected on the basis of its compatibility with the frame, fork and all other parts.
Certain aftermarket products may or may not be compatible and will invalidate the warranty if used.
USING THE VENTURE
ALLOW AT LEAST 4 HOURS FOR INITIAL CHARGE.
BY NOT DOING SO YOU WILL INVALIDATE THE WARRANTY.
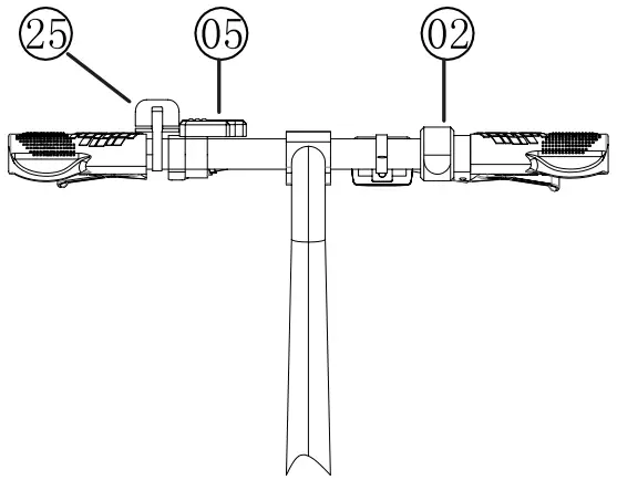
UNFOLDING/ FOLDING THE HANDLEBAR
- Raise the stem to the upright.

- Push closed the folding latch against the stem.

- Rotate the plastic locking clamp until it engages in the hole in the side of the clamp.
To fold up the handlebar, reverse the process.
HANDLEBAR HORIZONTAL ADJUSTMENT
- To adjust the handlebar, pull up the central clamp.

- The handlebar can then be centralized, or rotated to make the brakes more comfortable to use.
Push the clamp closed to lock in place.
FOOTREST PEGS
Attach the foot pegs by screwing them onto the bolts on the lower bike frame.
Hand tighten.
SEAT POST INSTALLATION AND ADJUSTMENT
- Insert the seat post into the bike frame until the minimum insertion mark is not visible.

- Adjust to desired height for you and push the clamp closed.

SEAT ANGLE ADJUSTMENT
- To adjust the saddle, use a spanner to adjust the two nuts.
Slide the seat back or forwards.
tighten the nuts when in the optimum position.
ATTACHING THE REAR FENDER

Attach the rear fender over the rear wheel.
Screw to the hole in the frame using the screw and washer provided.
Hand tighten with the Hex Spanner provided.
TYRE PRESSURES
- Regularly check the tyre pressures with a Schrader valve compatible bike pump.
Retain the dust caps.
REAR WHEEL STAND
- When not using the scooter, a small stand folds out from the back wheel.

REAR SAFETY LIGHT
- There is a red rear safety light on the seat post.
Press the centre button for one times to activate it/ change the mode.
Note: Requires 2 x 3V CR2025 battery (supplied).
To replace the battery, remove the rubber sleeve and the back cover.
Replace the battery with the correct cell type (ensure the+ sign is facing up) and replace the back cover and rubber sleeve.
USING THE VENTURE
TURNING ON/OFF:
Press and hold the POWER button for 3 seconds on left handlebar display to turn on the Electric Seated Scooter.
The dashboard light will light up.
Press and hold the button again for 3 seconds to power off the Venture .
TO ENTER THE SETTING MODE:
Press and hold the”+” and”-” buttons at the same time for 3 seconds to enter the settings mode.
Press the POWER button to change the settings page.
Hold down the “+” and “-” buttons for 3 seconds or press no buttons for 10 seconds to save the changes and exit the settings mode.
Interface one:
Screen brightness settings, there are three levels:
Dark (1 ), Bright (2), Brightness (3)
The default setting is the Brightness (3)
Press the “+” and “-” buttons to change the level.
Interface two:
Distance unit switch,
“O” for the km, “1” for the mile.
The default setting is mile (1 ).
Interface three:
Odometer reset.
Press and hold the”+” button for 5 seconds to clear off the record.
BATTERY STATUS:
The power level is indicated by 5 power bars. 5 bars is fully charged, 3 bars is medium, 2 bars is low and 1 bar (light flashing) is no charge (stop to ride and charge the battery immediately).
“F” means full power, “E” means empty power.
DISPLAY MODE:
Press the on/off button once to change the display mode (ODO, TRIP, VOL, TIME).
– Total mileage
– Current voltage
– Single mileage
– the time since the product was switched on.
FRONT HEADLAMP:
Press and hold the “+” button for 3 seconds to turn on the front headlight. Press and hold it for 3 seconds again to turn it off.
ACCELERATING:
Put both feet flat on the ground. Hold the handlebars straight and press the throttle button with the right thumb.
Lift your feet off the floor and place them on the foot rest pegs as you travel.
Accelerate gradually.
Pressing the throttle too hard will damage it.
The Electric Seated Scooter has 3 speed limit options. 9.3mph / 15kph (MODE 1 ), 12.4mph / 20kph (MODE 2) and 15.5mph / 25kph. (MODE 3)
To change between them by pressing the + and – button.
The default setting is 12.4mph / 20kph (MODE 2).- BRAKING:
Use the handlebar brakes to stop the Electric Seated Scooter.
Use the brakes equally together.
When you activate the brakes it cuts the power of acceleration.
As you come to a stop, place your feet on the ground.
The brakes get hot during use.
Do not touch the brake discs or pads after using.
| ERROR CODES | SYMBOL | PROBLEM | SOLUTION |
| E02 | ![]() | Brake Failure | If the user pinches the brake lever when turn on the product, or the brake is short-circuited, the display will report the fault code E02. If user pinches the brake when riding, the brake icon will light and no fault code will be reported. Pinch the brake several times to check. If there is still a fault, replace the brake or the controller to test. |
| E06 | ![]() | Battery Is Under Voltage | Charge the battery. |
| E07 | ![]() | Motor Failure | Check that the motor wire is connected. If it is normal, replace the motor and test. |
| E08 | ![]() | Accelerator Failure | Check the elasticity of the accelerator is normal, or whether the wire is damaged. If it is normal, replace the accelerator and test. |
| E09 | ![]() | Controller Failure | Replace the controller. |
| El 0 | / | Communication Failure | Replace the controller. |
If in doubt please stop riding and contact Hy-Pro customer service for help.
CHARGING THE BATTERY
WARNING:
For user safety and to prolong the life of your battery, as well as improve battery performance, please follow these instructions.
- Step 1: Ensure your Electric Seated Scooter is turned off before you attempt to charge the battery.
- Step 2: Ensure that the charging port is clean and dry. Use the rubber bung in the port when not charging
- Step 3: Plug the charger into the power outlet, then connect the cable with the power supply (100V”-‘240V; 50/60Hz), make sure the light on the charger is lit GREEN.
- Step 4: Put the male DC connector plug into the charging port of the Electric Seated Scooter.
The indicator light on the charger should change to RED, indicating that your Electric Seated Scooter is now being charged.
When the RED indicator light on your charger turns to GREEN then your bike is fully charged.
A full charge typically occurs at 4 hours. - Step 5: Please unplug the charger from your Electric Seated Scooter and from the power outlet.
Please ensure you put the charging port cover back in place to cover the charging port once the battery is charged, before use.
IMPORTANT NOTES ABOUT CHARGING
If the green light on your charger does not turn RED when you plug it into your Electric Seated Scooter, it could mean you have to check the cables to ensure you have a proper connection; or that your Electric Seated Scooter is already fully charged.
- Do not overcharge as this will affect the life of the battery and may cause overheating which can lead to a fire hazard.
Never charge near flammable materials or liquids. - The best charging temperatures are between 0°C-45°C.
Extreme cold and extreme heat will prevent your battery from charging fully. - Make sure to unplug your charger before standing on or operating your Electric Seated Scooter, as this can be very dangerous.
- Use only the charger and charging cable supplied by Hy-Pro.
Use of any other charger or cable may lead to damage to the product, overheating and risk of fire.
Use of any other charger or cable voids the warranty. - The charger is not a toy, it should be operated by an adult.
- Once your Electric Seated Scooter has been charged, unplug the charger from the wall outlet and then from the scooter.
Do not leave it on charge overnight and do not leave it unattended whilst on charge. - In an ideal situation, you would have somewhere secure to store/charge your Electric Seated Scooter, such as a shed or garage.
It would also be desirable for this area to have plugs where you can charge your Electric Seated Scooter.
NOTE: The charger itself may get quite warm to the touch when charging a deeply discharged battery.
BATTERY INFORMATION
This section is intended to provide you basic information about your battery and charger.
Please read this section carefully to ensure your safety and to prolong the life of your battery, as well as improve battery performance, please follow these instructions.
Battery Power
The 5 bars indicate the Venture is fully charged, 3 bars is medium, 2 bars is low.
1 bar is no charge and the icon will be flashing.
When this occurs please stop operating the Electric Seated Scooter and charge the battery for 4 hours utilizing the charger supplied in the Zinc Folding Electric Seated Venture Scooter package.
To fully recharge the battery, please follow the instructions under CHARGING THE BATTERY – PAGE 8.
| CONTENT | PARAMETERS |
| Battery | Lithium Battery |
| Charging time | 4 hours |
| Voltage | 36V |
| Initial Capacity | 6Ah |
| Working Temperature | -10°C-40°C |
| Charging Temperature | 0°C-45°C |
| Storage Time | 12 months |
| Storage Temperature | 1 month: 0°C – 45°C 3 months: 5°C – 40°C 12 months: 10°C – 35°C |
| Storage Humidity | 40%-70% |
BATTERY CARE AND DISPOSAL
Do not store the battery in temperatures above 45″C or below o·c.
CONTAINS SEALED LITHIUM-ION BATTERIES. BATTERIES MUST BE RECYCLED.
Your Zinc product uses sealed lithium-ion batteries which must be recycled or disposed of in an environmentally sound manner.
Do not dispose of a lithium-ion battery in a fire.
The battery may explode or leak.
Do not dispose of a lithium-ion battery in your regular household trash.
The incineration, land filling or mixing of sealed lithium-ion batteries with household trash is prohibited by law in most areas.
Return exhausted batteries to a local, approved battery recycler or a local seller of automotive.
SPECIFICATIONS
| Size | Folded size | L:1170mm x W:400mm x H:720mm |
| Unfolded size | L:1170mm x W:500mm x H:1010mm | |
| Wheel size | 14 inches | |
| Product weight | 17.4kg | |
| Performance | Max load | 120kg |
| Max speed | 15.5mph / 25kph | |
| Max distance | 15miles/24.14km =1„rea.”„g)::=5,,:,'”,idst’Crtiors, | |
| Max slope | 6 degrees | |
| Temperature | -10-40t | |
| Waterproof | IPX4 | |
| Speed Mode | 15kph / 20kph / 25kph | |
| Standards | Battery capacity | 6Ah |
| Motor power | 250W | |
| Battery voltage | DC36V | |
| Charging voltage | DC42V | |
| Charging time | 4 hours | |
| Features | BMS | Yes |
| Lights | Yes – front and rear | |
| Brake mode | Front and rear disc brakes | |
| Material | Steel |
WARRANTY
ZINC SPORTS ELECTRIC SEATED SCOOTER WARRANTY POLICY
Thank you for purchasing a Zinc Folding Electric Seated Scooter and we hope you enjoy using it.
Please ensure that you read the following warranty.
In order for your warranty to be valid you must satisfy the following conditions.
- All products must be registered at www.zincsports.com within 30 days of receiving the product for the warranty to be valid.
- Proof of purchase is also required for your warranty to be valid.
- You must be the original purchaser who bought the product from an authorised dealer, your warranty cannot be transferred.
- You must report any defects to Zinc Sports within 30 days of discovery of said defect else the warranty will not be valid.
Failure to follow the conditions highlighted above means that your warranty will be void.
We recommend that you save your original sales receipt.
Assuming that you have followed the conditions highlighted above, your product will have a 12-month limited warranty from defects in the materials used to manufacture, and/or workmanship at the time of manufacture outside areas covered below.
Our warranty includes:
| COMPONENT: | TIME FRAME: |
| Battery | 3 months |
| Controller | 3 months |
| Charger | 6 months |
| Motor | 6 months |
| Frame | 12 months |
| Vehicle body outside areas stipulated in the warranty | 6 months |
All scooters have an IP rating of IPX4. The warranty will be void if the Electric Seated Scooter has any water ingress or damage as a
result of water ingress.
The warranty may be void if the scooter has been used in the rain, through deep puddles, jet washing and submersion.
No warranty is provided for corrosion damages as a result of contact with water/humidity conditions.
All electric scooters include Liquid Contact Indicators on the battery pack.
The Liquid Contact Indicators show if the device has come into contact with water or a liquid containing water, the Liquid Contact Indicators turn red when they come into contact with water or a liquid containing water.
The warranty is void if the Liquid Contact Indicators are red.
Under no circumstance will Zinc Sports be obliged to provide compensation for bodily injuries, death, property damages, losses, hindrance of profits, prevention of use or any other damage that will be caused directly or indirectly as a result of usage of this device.inc Sports advice that you contact your insurance company to determine whether coverage is provided for the use of this Electric Seated Scooter, or to take out a new policy.
For the full warranty policy please visit our website at: https://www.zincsports.com/
PRODUCT CODE: ZC08267 ZINC FOLDING ELECTRIC SEATED VENTURE SCOOTER
CUSTOMER SUPPORT
Hy-Pro Europe
Cube Building, Monahan Road,
Cork, T12H1XY
Hy-Pro Asia
Room 1011, 10/F, Peninsula Centre,
67 Mody Road, Kowloon, Hong Kong
Hy-Pro International
Hy-Pro House, Centrus Park, Arenson Way,
Need Help?
Visit our website for replacement parts and product support
WWW.ZINCSPORTS.COM
Contact us at: [email protected]
OR CALL OUR CUSTOMER SERVICE LINE ON +44(0) 800 731 0006
Dunstable LU5 5BN, UK
www.hy-pro.co.uk
©ZINC




































